Валопровод

Валопровод — комплекс устройств, механизмов и соединений, служащих для передачи крутящего момента от двигателя к движителю и передачи упорного давления от последнего к корпусу судна.
Элементами валопровода являются:
Гребной вал
Является концевым валом валопровода и предназначен для крепления гребного винта (устанавливается на его кормовой конец). Изготовляются из углеродистой или легированной стали. В районе подшипников кронштейна и дейдвуда на валы в горячем состоянии насаживаются бронзовые или латунные рубашки. Для защиты от коррозии применяются также резиновое и эпоксидное покрытие;
В многовинтовых судах, боковые гребные валы выходят за пределы корпуса через мортиры и поддерживаются кронштейнами.
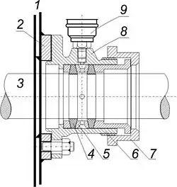
Промежуточные валы

Валы, соединённые между собой двигателем и гребным валом с помощью фланцев и муфт;
Опорные подшипники
Служат опорами для промежуточных валов;
Упорный вал и подшипники
Служат для передачи упорного давления, создаваемого гребным винтом корпусу судна;
Дейдвудное устройство
Дейдвудное устройство или коротко дейдвуд (дейдвудная труба) служит для опоры и уплотнения гребного вала (или промежуточного) в месте прохода через обшивку судна. Различают дейдвуды с водосмазываемым подшипником и масляные.
Масляный дейдвуд представляет собой металлический подшипник скольжения (обычно в дейдвудной трубе устанавливаются два подшипника), закрытый с носового конца уплотнением, а с кормового — как минимум двумя уплотнениями. Чтобы в масло не попадала забортная вода, внутри дейдвудной трубы поддерживается небольшое избыточное давление с помощью цистерны, которая располагается над ватерлинией. Может также устанавливаться система очистки и охлаждения масла. Преимущества масляного дейдвуда - надёжность и долгий срок службы. Недостатки — чувствительность к повреждениям уплотнений, например намотавшимися на гребной винт предметами.
-_Strut_and_Stern_Tube_B'rings_and_Stern_Tube_Stuffing_Box_-_NARA_-_75842096.jpg)
Водосмазываемый дейдвуд представляет собой трубу с продольными внутренними канавками, в которые укладываются планки из материала, который обладает наименьшим коэффициентом трения по материалу облицовки гребного вала в воде. Исторически и до сих пор лучшим таким материалом была древесина бакаута[1]. Поскольку бакаут дорог , с развитием химии полимеров водосмазываемые дейдвудные подшипники стали также изготавливаться из твердой резины, капролона, фторопласта и композитных материалов, например балинита. Дейдвуд с носового конца имеет сальниковое или манжетное уплотнение. Через дейдвуд прокачивается вода, которая охлаждает и смазывает подшипник , а затем свободно вытекает наружу через его кормовой конец. Иногда водосмазываемый дейдвуд делается закрытого типа: дейдвудная труба имеет уплотнение также и на кормовом конце, прокачиваемая вода возвращается в систему, охлаждается, фильтруется, в нее также могут быть добавлены различные присадки.
Для предотвращения затопления машинного отделения при разрушении уплотнения внутри дейдвудной трубы устанавливается пневмостоп[2] — надувная резиновая камера, охватывающая и герметизирующая гребной вал (гребной вал в этом режиме вращаться не может).
В местах прохода вала через водонепроницаемые переборки устанавливаются переборочные сальники.
Длина валопровода зависит от архитектуры судна и его размеров. При кормовом расположении машинного отделения может достигать 12–20 метров; при среднем — 50–70 метров. При больших длинах валопровод помещают в коридор (коридор гребного вала), защищающий его от повреждений и выполняемый герметичным.
Нагрузки, действующие на валопровод
Во время работы валопровода на него действуют такие нагрузки: основные — вращательный момент, передающийся от гребного винта; гидродинамические силы, которые возникают при работе винта; вес валов, гребного винта и других механизмов, закреплённых на валах. Вспомогательные — изгибающие моменты, появляющиеся в результате расцентровки валопровода; нагрузки, появившиеся из-за неуравновешенности гребного винта; усилия из-за работы винта в косом потоке и при качке. Случайные — усилия, возникающие при ударах лопастей гребного винта о твёрдые предметы.
Литература
- «Морской энциклопедический словарь», Ленинград, «Судостроение», 1991 год
Примечания
- ↑ Корабел.ру. Дейдвудное устройство (рус.). Дата обращения: 1 декабря 2024. Архивировано 4 декабря 2024 года.
- ↑ Дейдвудные устройства морских судов (рус.). Дата обращения: 1 декабря 2024. Архивировано 4 декабря 2024 года.