Изобретение транзистора

16 декабря 1947 года физик-экспериментатор Уолтер Браттейн, работавший с теоретиком Джоном Бардином, собрал первый работоспособный точечный транзистор. Спустя полгода, но до обнародования работ Бардина и Браттейна, немецкие физики Герберт Матаре и Генрих Велькер представили разработанный во Франции точечный транзистор («транзистрон»). Так из безуспешных попыток создать сначала твердотельный аналог вакуумного триода, а затем — полевой транзистор родился первый несовершенный точечный биполярный транзистор.
Точечный транзистор, выпускавшийся серийно около десяти лет, оказался тупиковой ветвью развития электроники — ему на смену пришли германиевые плоскостные транзисторы. Теорию p-n-перехода и плоскостного транзистора создал в 1948—1950 годах Уильям Шокли. Первый плоскостной транзистор был изготовлен 12 апреля 1950 года методом выращивания из расплава. За ним последовали сплавной транзистор, «электрохимический» транзистор и диффузионный меза-транзистор.
В 1954 году Texas Instruments выпустила первый кремниевый транзистор. Открытие процесса мокрого окисления кремния сделало возможным выпуск в 1958 году первых кремниевых меза-транзисторов, а в марте 1959 года Жан Эрни создал первый кремниевый планарный транзистор. Кремний вытеснил германий, а планарный процесс стал основной технологией производства транзисторов и сделал возможным создание монолитных интегральных схем.
По мнению Жореса Алферова, так как А. Ф. Иоффе был пионером исследований полупроводников, если бы не необходимость создания атомного оружия, открытие транзисторов могло произойти в СССР[1].
Предыстория
В 1906 году Гринлиф Пикард запатентовал кремниевый кристаллический детектор[2]. В 1910 году Уильям Икклз обнаружил, что кристаллические детекторы в определённых условиях демонстрируют отрицательное дифференциальное сопротивление и потому могут быть использованы для генерации колебаний и усиления сигналов[3]. В 1922 году О. В. Лосев доказал возможность усиления и генерации электромагнитных колебаний на кристаллическом детекторе при подаче на него постоянного напряжения смещения (кристадинный эффект)[3]. Цинкитный детектор («кристадин») Лосева сохранял работоспособность на частотах до 10 МГц[3]. К концу 1920-х годов кристаллические детекторы были вытеснены вакуумными лампами, а развитие этого направления физики полупроводников приостановилось.
В 1922—1927 годах Грёндаль и Гейгер изобрели и внедрили в практику медно-закисный выпрямитель, а в 1930-е годы ему на смену пришёл более совершенный селеновый выпрямитель[4]. Как писал Уолтер Браттейн, аналогия между выпрямителем на закиси меди и вакуумным диодом была очевидна для всех, изучавших полупроводники, — и многие из них задумывались о том, как внедрить в выпрямитель третий, управляющий электрод («сетку»), сделав из выпрямителя — усилитель[5]. В 1925 году немецкий физик Юлиус Лилиенфельд подал первую патентную заявку на твердотельный усилитель, состоящий из слоёв металла и полупроводника[6][7]. Лилиенфельд не смог довести своё предложение даже до стадии макета: его проект не мог быть реализован в 1920-е годы из-за недостаточного развития фундаментальной науки[7]. В 1935 году другой немецкий физик, Оскар Хайль, запатентовал в Великобритании принцип действия полевого транзистора. В 1938 году сотрудники Гёттингенского университета Роберт Поль и Рудольф Хилш создали твердотельный «триод», способный усиливать медленно меняющийся входной сигнал[6]. Усилитель Пола был слишком медленным, работал только при высоких температурах и поэтому не имел практического развития, да и сам Пол не желал заниматься прикладными работами, предпочитая фундаментальную науку[8]. Все эти безуспешные эксперименты в той или иной мере воспроизводили устройство вакуумного триода. Так, в «триоде» Пола управляющий электрод представлял собой мелкоячеистую металлическую сетку, управлявшую полем внутри кристалла бромида калия[6]. Лосев в 1939 году упоминал о работе над полупроводниковой «трёхэлектродной системой, аналогичной триоду», но эти неопубликованные работы были утрачены[9].
Во время Второй мировой войны исследовательские бюджеты многократно выросли, но, по мнению Питера Морриса, в физике полупроводников было сделано слишком мало. Все существенные достижения были связаны с военным заказом в двух направлениях, в которых были бессильны вакуумные лампы, — детектирование инфракрасного излучения и детектирование отражённого сигнала в радиолокации[10]. Излучатели ранних радиолокаторов работали на частотах до 3 ГГц, а частотный диапазон детекторов на вакуумных диодах был ограничен 400 МГц[4]. Контактные полупроводниковые детекторы, напротив, могли эффективно выпрямлять сверхвысокие частоты, поэтому в конце 1930-х годов правительства Великобритании, Германии и США начали масштабные проекты по совершенствованию полупроводников. В ходе этих исследований были исследованы фундаментальные свойства полупроводников и заложены основы технологии их производства, сделавшие возможным серийный выпуск полупроводниковых приборов[11].
Открытие p-n-перехода
В 1936 году директор по исследованиям Bell Labs Мервин Келли поручил Уильяму Шокли изучить возможность создания твердотельных переключателей, способных в перспективе заменить электромеханические реле телефонных станций[12]. Изучив опубликованные работы Поля, Иоффе и Давыдова[прим. 1] и результаты экспериментов Браттейна, Шокли пришёл к выводу о невозможности внедрения управляющего электрода в массив полупроводника[13]. Взамен 29 декабря 1939 года Шокли сформулировал принцип работы полевого транзистора: током в канале между двумя электродами должно управлять внешнее поле, создаваемое третьим (управляющим) электродом, размещённым вне канала[13]. Шокли предложил строить полупроводниковый триод на изученной Давыдовым закиси меди, но первые опыты закончились неудачно, а затем персонал Bell Labs был мобилизован на решение военно-прикладных задач. Шокли в 1940 году работал на урановом проекте, а с 1942 года и до конца войны занимался практическими задачами радиолокации[прим. 2].
Небольшое ядро физиков-твердотельщиков, оставшееся в Bell Labs после ухода Шокли, занималось поисками материалов для детектирования сверхвысоких частот в радиолокации[14]. Электрохимик и радиолюбитель Рассел Ол работал с кремниевыми детекторами ещё со времён великой депрессии[15]. Полагая, что нестабильное поведение ранних детекторов было вызвано недостаточной очисткой от примесей, Ол сосредоточился на технологиях очистки и плавки кремния[16]. В августе 1939 года Ол, Джон Скафф и Генри Тойерер провели первую плавку в гелиевой атмосфере[16]. Детекторы, изготовленные из поликристаллического кремния, очищенного до 99,8 %, были достаточно стабильными[16]. Часть из них проводила ток в одном направлении (из контакта в кристалл), часть — в другом (из кристалла в контакт), при этом полярность конкретного экземпляра можно было определить только опытным путём[16]. Полагая, что направление проводимости определяется только степенью очистки кремния, Ол назвал один тип «очищенным», а другой «коммерческим» (англ. purified and commercial)[16].
В октябре 1939 года среди заготовок для детекторов нашёлся странный образец, электрические параметры которого вели себя настолько беспорядочно, что дальнейшие измерения казались бессмысленными[16]. Только 23 февраля 1940 года Ол нашёл время, чтобы лично проверить его[17]. Оказалось, что образец реагировал на свет, а степень наблюдаемого фотоэффекта на порядок превосходила фотоэффект в традиционных фотоэлементах[17]. Проводимость образца зависела не только от освещённости, но и от температуры и влажности[17]. Несмотря на противодействие своего начальника, который был не в ладах с Келли, 6 марта Ол продемонстрировал свою находку Келли и Уолтеру Браттейну[17]. Браттейн догадался, что фотоэффект возникает на некоем невидимом барьере между двумя слоями кремния и что этот же барьер должен выпрямлять переменный ток[17]. Именно поэтому измерение проводимости на переменном токе давало необъяснимые, бессмысленные результаты[прим. 3].
Вскоре Скафф и Ол буквально увидели этот барьер: травление азотной кислотой вскрыло видимую глазу границу между двумя слоями кремния[17]. Скафф и Ол дали этим слоям новые названия: «кремний p-типа» (от англ. positive, положительный) и «кремний n-типа» (negative, отрицательный), в зависимости от направления тока в изготавливаемых из этих слоёв детекторах[17]. Барьерная зона получила название p-n-переход[18]. Постепенно Ол, Скафф и Тойерер пришли к пониманию того, что тип проводимости кремния определяется не его чистотой, а, напротив, присутствием характерных примесей[18]. Более лёгкие элементы подгруппы бора должны были сосредотачиваться в верхнем слое расплава, более тяжёлые элементы подгруппы азота — в центре тигля[18]. Действительно, химический анализ кремния p-типа выявил следы бора и алюминия, а присутствие фосфора в грубо очищенном кремнии n-типа ощущалось и без приборов — при обработке такого кремния выделялся фосфин[18].
Личным волевым решением Келли засекретил открытие p-n-перехода[19]. Bell Labs охотно делилась образцами кремния с американскими и британскими коллегами, но это был кремний исключительно p-типа[19]. Ол лично отвечал за то, чтобы кремний n-типа и pn-переходы не покидали стен компании[19]. Шокли узнал об открытии Ола только 24 марта 1945 года, а широкая публика — 25 июня 1946 года, когда Ол и Скафф получили патенты на свои изобретения 1940 года[19].
Независимо от американских физиков в 1941 году В. Е. Лашкарёв представил теорию «запирающего слоя» и инжекции носителей заряда на границе раздела меди и закиси меди. Лашкарёв предположил, что два типа проводимости, обнаруженные термозондом в медно-закисном элементе, разделены гипотетическим переходным слоем, препятствующим электрическому току. Работы Лашкарёва и К. М. Косогоновой («Исследование запирающих слоёв методом термозонда» и «Влияние примесей на вентильный фотоэффект в закиси меди») были опубликованы в 1941 году[20].
Точечный транзистор
Транзистор Бардина и Браттейна
В июне 1945 года Келли вновь сформировал отдел по исследованию твёрдого тела во главе с Шокли и Стэнли Морганом (в 1945 году Шокли по-прежнему был занят на военных проектах и не имел достаточно времени для единоличного управления отделом)[21]. В группу вошли Браттейн, теоретик Джон Бардин, экспериментатор Джеральд Пирсон, физхимик Роберт Джибни и инженер-электрик Хилберт Мур[21]. Образцы полупроводников изготавливали Уильям Пфанн, Джон Скафф и Генри Тойерер[22]. Группа опиралась на ресурсы огромной по тем временам научной организации — в конце 1940-х годов в Bell Labs работали 5700 человек, из них около 2000 — дипломированные профессионалы[23].
Ознакомившись с наработками исследователей университета Пердью, Шокли сузил выбор полупроводников до двух (германия и кремния), а в январе 1946 года решил сосредоточиться на использовании эффекта поля[24]. Однако эксперименты показали, что в реальном полупроводнике эффект поля был на три порядка[25] слабее, чем предсказывала теория[26]. Бардин объяснил экспериментальные данные, предложив гипотезу поверхностных состояний, согласно которой на границе полупроводника и металлического электрода образуется пространственный заряд, нейтрализующий действие внешнего поля[26].
В течение 1947 года отдел Шокли искал решение проблемы объёмного заряда, с каждым шагом отступая всё дальше и дальше от концепции полевого транзистора. Шокли писал в 1972 году, что благодаря Бардину «мы прекратили „делать транзистор“. Взамен мы вернулись к принципу, который я называю „уважение к научной стороне практической задачи“»[27]. В ноябре 1947 года Джибни предложил подавать на «триод» постоянное напряжение смещения с помощью точечного управляющего электрода, отделённого от массы полупроводника слоем электролита[26]. Работы резко ускорились: в ноябре — декабре Бардин, Джибни и Браттейн испытали не менее пяти разных конструкций «триода»:
| Эксперименты Браттейна в ноябре — декабре 1947 года[28] | |||||||||
|---|---|---|---|---|---|---|---|---|---|
| Дата эксперимента | Полупроводник | Диэлектрик | Усиление | Частотный диапазон | Напряжение смещения[прим. 4] | Примечания | |||
| По напряжению | По току | По мощности | На «стоке» («коллекторе») | На «затворе» («эмиттере») | |||||
| 21 ноября | Поликристаллический кремний p-типа | Дистиллированная вода | Нет | Да | Да | <10 Гц | Положительное | Положительное | «Электролитический полевой транзистор», патент США 2 524 034 |
| 8 декабря | Поликристаллический германий n-типа | Электролит GU[прим. 5] | Да | Нет | Да | <10 Гц | Отрицательное | Отрицательное | |
| 10 декабря | Поликристаллический германий n-типа с приповерхностным слоем p-типа | Да | Да | Да | <10 Гц | Отрицательное | Отрицательное | ||
| 15 декабря | Оксидная плёнка | Да | Нет | Нет | 10 Гц — 10 кГц | Положительное | Отрицательное | ||
| 16 декабря | Нет | Да[29] | Да[29] | 2 дБ[30] | 1 кГц[30] | Положительное | Отрицательное | Изобретение точечного транзистора. Патент США 2 524 035 | |
| 23 декабря | 24 дБ на 1 кГц[31] 20 дБ на 10 МГц[32] | Да[32] | 2 дБ[31] | До 15 МГц[32] | |||||


8 декабря Шокли, Бардин и Браттейн пришли к выводу о необходимости замены однородного полупроводника на двухслойную структуру — пластину германия, на поверхности которой был сформирован p-n-переход с высоким напряжением пробоя[33][29]. 10 декабря «электролитический триод» Бардина и Браттейна на германии n-типа с инверсным слоем p-типа продемонстрировал усиление по мощности около 6000[34]. Он был неприемлемо медленным даже для усиления звуковых частот, поэтому 12 декабря Бардин заменил электролит на тонкую плёнку окиси германия. Опыт в этот день окончился неудачно, вероятно, из-за повреждения плёнки при отмывке германиевой пластины[35]. 15 декабря установка с оксидной плёнкой продемонстрировала двукратное усиление по напряжению в частотном диапазоне до 10 кГц[30]. После этого опыта Бардин предложил использовать два контактных электрода — управляющий (эмиттер) и управляемый (коллектор). По расчётам Бардина, схема могла бы усиливать мощность при межэлектродном расстоянии не более пяти микрон (2*10−4 дюйма)[36][30].
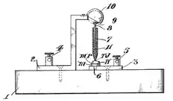
15 или 16 декабря 1947 года Браттейн сконструировал контактный узел из пластмассовой треугольной призмы с наклеенной на неё полоской золотой фольги[37]. Аккуратно разрезав фольгу бритвой, Браттейн получил зазор между коллектором и эмиттером[37] шириной около 50 микрон[38][39]. 16 декабря Браттейн прижал контактный узел зазором к поверхности германиевой пластины[40], создав первый работоспособный точечный транзистор[прим. 6]. 23 декабря 1947 года Браттейн продемонстрировал коллегам транзисторный усилитель звуковых частот с пятнадцатикратным усилением по напряжению[прим. 7]. На частоте 10 МГц усиление составило 20 дБ при выходной мощности 25 мВт[32]. 24 декабря Браттейн продемонстрировал первый транзисторный генератор[32].
Так из неудачных попыток создать полевой транзистор началось развитие биполярного транзистора[41]. Руководство Bell Labs, понимая важность события, усилило отдел Шокли специалистами и на время засекретило проект[31]. Публика узнала об изобретении транзистора 30 июня 1948 года на открытой презентации транзистора в Нью-Йорке, приуроченной к выходу статей в Physical Review[22]. За месяц до этого события в Bell Labs состоялось тайное голосование по выбору имени нового прибора. Отбросив слишком длинное «полупроводниковый триод» (semiconductor triode), фактически неверное «триод на поверхностных состояниях» (surface states triode) и непонятное «йотатрон» (iotatron), Bell Labs утвердила «транзистор» (transistor) — от англ. transconductance (проводимость) или transfer (передача) и varistor (варистор, управляемое сопротивление)[42].
Транзистрон Матаре и Велкера

В 1944 году немецкий физик Герберт Матаре, работавший за стенами Любежского монастыря над снижением шумов СВЧ-детекторов, изобрёл «дуодиод» — полупроводниковый выпрямитель с двумя точечными контактами[43]. При подаче на эти контакты одинакового напряжения смещения и противофазных напряжений гетеродина «дуодиод» подавлял высокочастотные шумы гетеродина[43]. Опыты на поликристаллическом германии Генриха Велкера и кремнии Карла Зайлера показали, что эффективное шумоподавление было возможно тогда, когда оба контакта замыкались на один и тот же кристаллик полупроводника[43]. Если расстояние между контактами не превышало 100 микрон, изменение напряжения на одном из контактов приводило к изменению тока через второй контакт[43]. В январе 1945 года Матаре бежал на запад от советского наступления, затем попал в плен к американцам, но вскоре был отпущен[43]. Велкер продолжал исследования до марта 1945 года. Независимо от Шокли, и несколько опережая его, Велкер пришёл к концепции полевого транзистора — и его первые опыты также закончились неудачей[44].
В 1946 году французские и британские агенты разыскали Велкера и Матаре, допросили их о немецких разработках в радиолокации и предложили работу во французском отделении Westinghouse, где в то время разворачивалось производство германиевых выпрямителей[44]. Оба согласились: заниматься наукой в разгромленной Германии было невозможно[44]. Велкер и Матаре основали лабораторию в Ольне-су-Буа и до конца 1947 года занимались наладкой производства выпрямителей[44]. На рубеже 1947 и 1948 годов Матаре вернулся к теме «дуодиода», а Велкер по просьбе Матаре занялся очисткой германия[44]. В июне 1948 года, до обнародования изобретения Бардина и Браттейна, усовершенствованный «дуодиод», а фактически — точечный транзистор, Матаре продемонстрировал стабильное усиление[44]. В июле 1948 года работами Матаре и Велкера заинтересовался министр связи Франции Эжен Тома, он же дал новому прибору имя «транзистрон» (фр. transistron)[45]. В мае 1949 года Матаре и Велкер объявили о начале мелкосерийного выпуска транзистронов для дальней телефонной связи[45].
Первые серийные транзисторы
В 1948—1951 годах специалисты Bell Labs под руководством Пфанна пытались наладить серийный выпуск точечных транзисторов, используя имеющуюся технологию контактных детекторов СВЧ-излучения[46]. Пфанн добился успеха благодаря случайному совпадению: фосфористая бронза коллекторных контактов загрязняла поверхность германия атомами фосфора, создавая островки проводимости n-типа[46]. Значение диффузии атомов меди, создававшей островки p-типа, было прояснено спустя несколько лет работами Кэлвина Фуллера[47]. Транзистор Пфанна фактически был четырёхслойной PNPN-структурой, которая в определённых обстоятельствах демонстрировала несвойственное «настоящим» транзисторам отрицательное сопротивление[46]. Серийное производство транзистора «тип А» на Western Electric началось в 1951 году и в апреле 1952 года вышло на уровень 8400 транзисторов в месяц[48]. Производство было трудоёмко, дорого, а воспроизводимость параметров транзисторов — неприемлемо низкой[46]. Поведение транзисторов зависело не только от температуры, но и от влажности воздуха[48]. Пентагон внимательно следил за развитием технологии, но отказывался приобретать аппаратуру на ненадёжных приборах[49]. Несмотря на то, что в 1951 году точечный транзистор уже устарел морально[50], производство «типа А» продолжалось почти десять лет[46], так как последовавшие за ним транзисторы на выращенных кристаллах и сплавные транзисторы уступали «типу А» в частотных свойствах. В течение всего десятилетия, по словам Шокли, успех производства зависел от «непостижимого шаманства» (англ. mysterious witchcraft)[51].
Матаре и Велкер начали производство «транзистронов» в 1949 году, а в 1950 году продемонстрировали Шокли и Браттейну работу транзисторных усилителей на телефонной линии Франция-Алжир[45]. Американцы насторожились: благодаря более совершенной технологии сборки «транзистроны» считались более надёжными приборами[52]. Однако вскоре французское правительство прекратило поддержку Матаре и Велкера, и те вернулись в Германию[45]. В 1952—1953 годах Матаре при поддержке Якоба Михаэля выпустил там опытную партию «транзистронов» и представил публике радиоприёмник на четырёх транзисторах (первый американский транзисторный приёмник Regency TR-1 был выпущен на год позже)[45]. Американская компания Clevite (будущий владелец Shockley Semiconductor Laboratory) выкупила компанию у Михаэля, а затем свернула производство в Германии[45]. Матаре переехал в США, Велкер возглавил полупроводниковые исследования на Siemens[45].
В 1949 году Элмар Франк и Ян Тауц выпустили в Чехии партию работоспособных транзисторов из трофейного немецкого германия, используя собственный (более совершенный, чем у американцев) метод формирования контактов[53]. В Советском Союзе А. В. Красилов и С. Г. Мадоян создали первый точечный транзистор в 1949 году, а первые промышленные образцы пошли в серию в 1950—1952 годах[54].
В 1951 году правительство США потребовало, чтобы AT&T предоставило лицензии на свои технологии всем заинтересованным американским компаниям без взимания роялти. К лету 1952 года лицензию (так называемую «книгу за 25 тысяч долларов») приобрели 26 американских и 14 иностранных компаний[55], но их попытки воспроизвести точечный транзистор не имели успеха. CBS-Hytron сумела запустить точечный транзистор в серию в 1951 году, а через год прекратила его выпуск[56]. Hughes Aircraft безуспешно пыталась делать транзисторы из отдельных зёрен поликристаллического германия и в итоге отказалась от проекта[53]. Philips, благодаря довоенным связям с Bell, получила лицензию раньше конкурентов, но серийное производство точечных транзисторов начала только в 1953 году, одновременно с более совершенными сплавными транзисторами[57].
В СССР первая научно-исследовательская работа по полупроводниковому триоду была выполнена в НИИ-160 (ныне НПП «Исток») дипломницей МХТИ Сусанной Гукасовной Мадоян. Лабораторный макет транзистора (точечного) заработал в феврале 1949 года.[58] Серийное производство точечных транзисторов (ТС1 — ТС7) началось в 1953 г., плоскостных (П1) — в 1955.
Ранние плоскостные транзисторы
Теория Шокли
Главный творческий прорыв состоялся не тогда, когда я пытался изобрести транзистор, а когда я конструировал установку для экспериментов с поверхностными явлениями в точечных транзисторах. Внезапно до меня дошло, что экспериментальная структура и есть транзистор. Именно она и была запатентована как плоскостной транзистор[прим. 8]. Я был удручён тем, что, зная всё необходимое для этого изобретения, я целый год не мог соединить части целого — до тех пор, пока не появился раздражитель в лице точечного транзистора. — Уильям Шокли, 1972
Оригинальный текст (англ.)My most important inventive breakthrough came not while I was trying to invent a transistor but while designing an experiment to diagnose incisively the surface phenomena of point-contact transistors. The structure I devised, I suddenly realised, was itself a transistor. It was patented as a junction transistor. I was disconcerted to realise that for at least a year I had known all the concepts needed for the invention but had not put them together until the point-contact transistor provided the challenging stimulus.[51].

Точечный транзистор Бардина и Браттейна был загадкой для его создателей. Было ясно только то, что изобретатели создали не гипотетический полевой транзистор, а нечто иное. 27 декабря 1947 года Бардин и Браттейн отправили в Physical Review статью об изобретении, объяснявшую действие транзистора поверхностными эффектами в полупроводнике[59]. В патентной заявке 26 февраля 1948 года они дали другое объяснение, предположив существование в объёме полупроводника барьера, подобного барьеру Шоттки на границе полупроводника и металла[60]. По мнению Бо Лоека, ни то, ни другое объяснение не выдерживало критики. Ни в одной рукописи Бардина и Браттейна не упоминались неосновные носители и инжекция заряда — понятия, без которых невозможно было описать поведение транзистора[61].
Решение уже было записано в блокнотах Шокли — первые наброски теории p-n-перехода в германии Шокли создал ещё в апреле 1947 года[62][63]. 8 декабря 1947 года, обсудив с Бардином и Браттейном структуру перспективного «триода», Шокли вернулся к теоретической проработке усилителя на p-n-переходах[64]. В последнюю неделю 1947 года он мысленно перебрал множество конфигураций, однако все они, включая схему биполярного транзистора, не выдержали критического анализа[64]. Только в январе 1948 года Шокли осознал, что использованная им модель не учитывала инжекции неосновных носителей заряда в базу[64]. Учёт механизма инжекции сделал модель полностью работоспособной. Не позднее 23 января 1948 года Шокли составил патентную заявку на биполярный транзистор (будущий патент США 2 569 347)[64] и оформил свои идеи в законченную теорию[65]. В этой работе Шокли, наконец, отбросил попытки создать полевой транзистор и описал ещё не существующий прибор с двумя параллельными p-n-переходами — плоскостной биполярный транзистор. В ней впервые появились такие привычные ныне, но не очевидные в 1948 году утверждения, как необходимость прямого смещения эмиттерного p-n-перехода и обратного смещения коллекторного перехода[46].
26 июня 1948 года Bell Labs подал патентную заявку на изобретение плоскостного транзистора[62], но стоявшая за ней теория была оглашена публично только год спустя (16—18 июня 1949 года) — после того, как эксперимент подтвердил теорию[66]. В июле 1949 года Шокли изложил свою теорию в Bell System Technical Journal[67], а в ноябре 1950 года вышел magnum opus Шокли, Electrons and Holes in Semiconductor[68] (в русском переводе 1953 года «Теория электронных полупроводников: Приложения к теории транзисторов»[69]). По словам Ж. И. Алфёрова, книга Шокли стала «настольной книгой по обе стороны Атлантического океана»[70]. Шокли описал именно плоскостной транзистор (транзистор на p-n-переходах, англ. junction transistor), а теорию точечного транзистора и кристадина Лосева так никто и не создал[71][9]. Физическая сущность первого транзистора Бардина и Браттейна остаётся предметом споров: возможно, что реальные свойства использованной германиевой пластины существенно отличались от того, что предполагали экспериментаторы[72]. Проверить это невозможно, так как подлинный первый транзистор давно утрачен[72].
Публикация сделала Шокли безоговорочным авторитетом в физике полупроводников и привела к конфликту с Бардином, который в 1951 году ушёл из Bell Labs, чтобы сосредоточиться на исследованиях сверхпроводимости[50]. Отношения Шокли и Бардина отчасти нормализовались только после присуждения Бардину, Браттейну и Шокли Нобелевской премии по физике за 1956 год[73]. Четвёртый основной соавтор изобретения, Роберт Джибни, ушёл из Bell Labs в начале 1948 года и Нобелевской премии не получил[59]. Впоследствии публичная активность Шокли и внимание прессы способствовали возникновению мнения о том, что Шокли якобы приписывал себе достижения Бардина, Браттейна и других[73]. В действительности Шокли, напротив, всегда уточнял рамки собственного вклада[74], исключал из списка изобретателей себя самого и включал туда Джибни[12]. Шокли скрупулёзно отстаивал права своих коллег, даже тех, с кем (как с Робертом Нойсом) он разошёлся навсегда[прим. 9].
Транзистор на выращенных переходах
В сентябре 1948 года[75] в нью-йоркском автобусе случайно встретились два технолога Bell Labs, Гордон Тил и Джон Литтл[76]. В этом случайном разговоре родилась идея производить монокристаллы «транзисторного» германия давно известным методом Чохральского[76]. В декабре 1949 года Тил, Литтл и Эрни Бюлер построили первую опытную установку для вытягивания монокристаллов — пока ещё совсем небольших, не более 50 мм в длину и 10 мм в ширину[76]. Если при вытягивании кристалла из расплава германия p-типа затравкой служил кристаллик n-типа, то внутри стержня формировался плавный p-n-переход[76]. Ценность именно монокристаллических полупроводников в 1949 году не была очевидной — сам Шокли противился выращиванию кристаллов, полагая, что транзистор можно сделать и из качественного, но недорогого поликристаллического материала[77][78]. Однако именно выращенный p-n-переход позволил экспериментально проверить теорию Шокли[76].
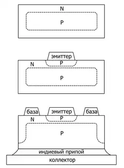
12 апреля 1950 года Морган Спаркс вырастил методом Тила-Литтла трёхслойную NPN-структуру[79]. Вначале из расплава вытягивалась низкоомная коллекторная область n-типа[76]. Затем в расплав вбрасывали таблетку акцепторной примеси, растворявшуюся в тонком поверхностном слое расплава, — так формировался слой базы толщиной от 25 до 100 микрон. Сразу после создания базы в расплав вбрасывали таблетку донорной примеси для легирования эмиттера. Полученную трёхслойную NPN-структуру вырезали из кристалла, распиливали на продольные столбики и протравливали в кислоте для устранения поверхностных дефектов[80]. Самой сложной операцией была контактная сварка 50-микронной золотой проволоки с 25-микронным слоем базы — для этого использовались прецизионные микроманипуляторы и специальный сплав золота с галлием. Примесь галлия, внедрявшаяся в кремний при сварке, расширяла приповерхностный p-слой базы, препятствуя короткому замыканию коллектора и эмиттера[81]. Массовое производство германиевых транзисторов на выращенных переходах — первых полноценных биполярных транзисторов «по Шокли» — началось в 1951 году на Western Electric.
Из-за большой площади переходов транзисторы на выращенных переходах имели худшие частотные свойства, чем точечные. Но по той же причине выращенные транзисторы могли пропускать во много раз большие токи при существенно меньших шумах[77], а их параметры были относительно стабильны — настолько, что их стало возможно уверенно приводить в справочниках[49]. Осенью 1951 года Пентагон, воздерживавшийся от приобретения точечных транзисторов, объявил о начале программы транзисторизации, сулившей многократную экономию на массе и объёме бортовой аппаратуры[82]. Bell Labs ответила запуском новой производственной программы, нацеленной на ежемесячный выпуск миллиона транзисторов[49]. Однако диапазон допустимых температур германиевых транзисторов был слишком узок для военных задач — транзисторизация американских ракет была отложена до выпуска «высокотемпературных» кремниевых транзисторов[83].
Первый выращенный кремниевый транзистор изготовил в Texas Instruments тот же Тил в апреле 1954 года[84]. Из-за высокой химической активности и более высокой, чем у германия, температуры плавления кремниевые технологии 1950-х годов отставали от германиевых. Тил вспоминал о том, что на конференции Института радиоинженеров в мае 1954 года коллеги один за другим докладывали о непреодолимых трудностях в работе с кремнием — до тех пор, пока сам Тил не продемонстрировал публике работающий кремниевый транзистор[83]. Три последующие года, когда Texas Instruments была единственным поставщиком кремниевых транзисторов в мире, озолотили компанию и сделали её крупнейшим поставщиком полупроводников[83].
Сплавной транзистор

В 1950 году Холл и Данлоп предложили формировать p-n-переходы сплавлением, а первые практические сплавные транзисторы были выпущены General Electric в 1952 году[85]. В основе типичного сплавного транзистора PNP-типа была тонкая пластина германия n-типа, служившая базой. Эти пластины сплавлялись с индиевыми или мышьяковыми бусинами, а затем отжигались при температуре около 600 °С. При правильном выборе ориентации пластин в них формировались строго параллельные эпитаксиальные слои рекристаллизованного германия n-типа. Толщина базы задавалась временем отжига. Пластина монтировалась на несущую арматуру корпуса в бескислородной среде (азот или аргон), а затем корпус герметично заваривался. Герметизация не могла заменить должной пассивации поверхности p-n-переходов, поэтому параметры сплавных транзисторов были нестабильны во времени[86]. Практически все сплавные транзисторы изготавливались из германия — реализация сплавной технологии в кремнии оказалась слишком сложной и дорогой[87].
Переходы между зонами p-типа и n-типа в сплавных транзисторах были резкими (ступенчатыми), в отличие от плавных переходов выращенных транзисторов. Благодаря ступенчатой характеристике эмиттерного перехода сплавные транзисторы имели больший коэффициент усиления по току и были более эффективными переключателями в цифровых схемах. Ступенчатая характеристика коллекторного перехода, напротив, порождала нежелательные свойства — высокую миллеровскую ёмкость, узкий частотный диапазон (до 10 МГц), самовозбуждение усилителей[88]. Предельная рабочая частота сплавных транзисторов была выше, чем у транзисторов на выращенных переходах, но по-прежнему уступала точечным транзисторам[87].
В середине 1950-х годов Джеймс Эрли предложил различные варианты асимметричных сплавных структур (PNIP, NPIN), позволявшие расширить частотный диапазон до 200 МГц. По утверждению Иена Росса, Эрли стал вторым после Шокли человеком, предложившим принципиально новую структуру транзистора[89], но сделал это слишком поздно. К концу 1960-х годов транзисторы Эрли, проигрывавшие по всем показателям диффузионным транзисторам, были сняты с производства[88][90].
Диффузионные транзисторы
Германиевый меза-транзистор
В 1950 году группа специалистов Bell Labs под руководством Кэлвина Фуллера начала исследования диффузии примесей в германии с целью выработать меры против загрязнения кристаллов нежелательными примесями. Работы Фуллера развились во всеобъемлющее исследование диффузии из твёрдой и газовой сред и принесли побочный результат — создание эффективной кремниевой солнечной батареи[47]. В начале 1954 года Шокли предложил использовать диффузию по Фуллеру для формирования p-n-переходов с заданной глубиной и профилем концентрации примесей[91].
В марте 1955 года Шокли, Джордж Дэйси и Чарльз Ли подали патентную заявку на технологию массового производства диффузионного транзистора[91]. В этом процессе в диффузионную печь единовременно закладывалась масса монокристаллических таблеток из германия p-типа — будущих транзисторов. Затем в течение 15 минут при 800 °С проводилась диффузия мышьяка, формировавшая на поверхности таблетки слой n-типа (базу). На поверхность каждой таблетки по трафарету наносили тонкий слой алюминия — контактную площадку будущего эмиттера. При отжиге атомы алюминия диффундировали в германий, создавая внутри базы тонкий слой p-типа (собственно эмиттер). Электрический контакт с коллектором, скрытым внутри диффузионного слоя базы, создавался при пайке кристалла к корпусу транзистора припоем, содержащим индий. Индий, диффундируя в германий, менял проводимость базового слоя с n-типа обратно на p-тип, мягко «выталкивая» слой базы из зоны пайки[92]. Внешний вид таблетки, припаянной к плоскому основанию, напоминал распространённые на юго-западе США столовые горы (исп. mesa), оттого транзисторы этого типа стали известны как меза-транзисторы[93]. Технология Дэйси, Ли и Шокли пошла в серию на Western Electric, но не вышла на открытый рынок — все выпущенные транзисторы были распределены между самой Western Electric и узким кругом военных заказчиков[93].
В 1957 году Philips разработал собственную меза-технологию, так называемый процесс «выталкивания базы» (англ. pushed-out base, POB). В этом процессе диффузия и акцепторных (слой базы p-типа), и донорных (слой эмиттера n-типа) примесей производилась из капелек легированного свинца, нанесённых на германиевую таблетку n-типа. Транзисторы этого типа имели граничную частоту усиления до 200 МГц и массово применялись в первых лампово-полупроводниковых телевизорах. Коммерческий успех технологии POB сыграл с Philips злую шутку: компания сосредоточилась на совершенствовании германиевых технологий и сильно отстала и от американцев, и от Siemens в кремниевых[94].
Открытие мокрого окисления
В начале 1955 года в диффузионной печи Карла Фроша, занимавшегося в Bell Labs проблемами диффузии в кремний, произошла случайная вспышка водорода[95]. Часть водорода в печи сгорела с выбросом водяного пара, опытная кремниевая пластина покрылась тонким слоем диоксида кремния[95]. В течение последующих двух лет Фрош и его помощник Линкольн Дерик при участии Молла, Фуллера и Холоньяка обстоятельно изучили процесс мокрого термического окисления и довели его до внедрения в промышленное производство[96][97]. В отличие от непредсказуемого в то время сухого окисления в атмосфере кислорода мокрое окисление водяным паром оказалось легко воспроизводимым процессом, а полученные оксидные слои — равномерными и достаточно прочными[95]. Они надёжно задерживали тяжёлые легирующие атомы (например, сурьмы) и потому могли служить эффективной, термостойкой маской для селективной диффузии примесей[95].
Фрош ещё в 1955 году предвидел широкое внедрение селективных оксидных масок, но остановился в одном шаге от идеи интеграции[95]. Холоньяк писал в 2003 году, что открытие Фроша «сделало все другие методы диффузии устаревшими» и сняло последний барьер на пути к созданию интегральных схем[96]. Однако Фрош допустил ошибку, решив, что оксид не способен задерживать диффузию фосфора. Тонкие слои оксида, использованные Фрошем, действительно пропускали атомы фосфора, но в начале 1958 года Чи-Тан Са установил, что достаточно толстый слой оксида способен задерживать и фосфор[98]. Эта ошибка задержала начало практических работ Жана Эрни по планарной технологии более чем на год[98].
Работы Фроша оставались внутренним секретом Bell Labs вплоть до первой публикации в Journal of the Electrochemical Society летом 1957 года[99]. Однако Уильям Шокли, уехавший в 1954 году в Калифорнию и формально уволенный из Bell Labs в сентябре 1955 года[100], безусловно был в курсе работ Фроша. Шокли оставался рецензентом и консультантом Bell Labs, регулярно получал известия о новейших работах корпорации, знакомил с ними своих сотрудников[101]. Две важнейшие и ещё не обнародованные в 1956 году технологии Bell Labs — мокрое окисление и фотолитография — внедрялись в опытное производство Shockley Semiconductor Laboratory[101]. «Вероломная восьмёрка», покинувшая Шокли и основавшая Fairchild Semiconductor, взяла с собой уже практическое знание этих технологий[102].
Кремниевый меза-транзистор

В августе 1958 года Fairchild Semiconductor представила разработанный Гордоном Муром 2N696 — первый кремниевый меза-транзистор и первый меза-транзистор, продававшийся на открытом рынке США[103]. Технология его производства принципиально отличалась от «таблеточных» процессов Bell Labs и Philips тем, что обработка проводилась целыми, неразрезанными пластинами с применением фотолитографии и мокрого окисления по Фрошу[104]. Непосредственно перед резкой пластины на индивидуальные транзисторы проводилась операция глубокого травления (англ. mesaing) пластины, разделявшая островки-мезы (будущие транзисторы) глубокими канавками[105].
Технология Fairchild существенно повысила производительность, но была для своего времени весьма рискованной: единственная ошибка на этапах диффузии, металлизации и травления пластин приводила к гибели всей партии[105]. Fairchild выдержала эти испытания, оставаясь почти полтора года единственным поставщиком меза-транзисторов на открытый рынок. 2N696 выгодно отличался от ближайших конкурентов (сплавных транзисторов Texas Instruments) сочетанием бо́льшей допустимой мощности и хорошего быстродействия в цифровых схемах и потому стал на время «универсальным транзистором» американского ВПК[106]. В вычислительной технике 2N696 работал не столь хорошо из-за долгого времени выключения в ключевом режиме[107]. В ноябре 1958 года — январе 1959 года Жан Эрни нашёл решение проблемы — легирование коллекторов золотом[108]. Решение Эрни было совершенно алогичным, невероятным: ранее считалось, что золото «убивает» усиление транзистора[109]. Однако легированные золотом PNP-транзисторы Эрни, запущенные в серию в начале 1959 года, имели стабильно высокий коэффициент усиления, превосходили германиевые транзисторы в скорости и оставались недосягаемыми для конкурентов до середины 1960-х годов[110]. Fairchild, обойдя Texas Instruments, стала абсолютным лидером отрасли и удерживала первенство до июля 1967 года[111].
Меза-технология дала разработчикам беспрецедентную гибкость в задании характеристик p-n переходов и позволила довести допустимое напряжение на коллекторе до нескольких киловольт[112], а рабочую частоту до 1 ГГц[113], но она имела и неустранимые недостатки. Она не позволяла формировать резисторы и потому была непригодна для производства интегральных схем[114]. Толстые коллекторные слои имели высокое омическое сопротивление и, как следствие, далёкие от оптимума импульсные характеристики[115]. Главная же проблема меза-транзисторов была в том, что выход коллекторного p-n-перехода на отвесную «стенку» мезы не был защищён от загрязняющих примесей — как следствие, надёжность меза-транзисторов была хуже, чем у предшествовавших им сплавных транзисторов[114]. Микроскопические частицы, притянутые к кристаллу электрическим полем, шунтировали коллекторный переход, снижали коэффициент усиления и напряжение пробоя. Мур вспоминал, что при подаче на коллектор обратного напряжения эти частицы, разогретые током утечки, буквально светились[116]. Защитить же стенки мезы оксидным слоем было невозможно, так как окисление требовало нагрева до температур, превышающих температуру плавления алюминия контактных площадок.
Планарный транзистор
Ещё 1 декабря 1957 года Эрни предложил Роберту Нойсу планарный процесс — перспективную замену меза-технологии. По Эрни, планарная структура должна была формироваться двумя последовательными диффузиями, создающими вначале слой базы, а затем вложенный в него слой эмиттера. Выходы коллекторного и эмиттерного переходов на верхнюю поверхность кристалла изолировались от внешней среды слоем «грязного» оксида, служившим маской при второй (эмиттерной) диффузии[102]. Это предложение Эрни, так же, как и легирование золотом, противоречило общепринятому тогда мнению[117]. Фуллер, Фрош и другие инженеры Bell Labs полагали, что «грязный» оксид в законченном транзисторе недопустим, так как атомы примесей будут неизбежно проникать из оксида в кремний, нарушая заданный профиль p-n-переходов[117]. Эрни доказал, что это мнение ошибочно: предшественники не учли, что при диффузии примесь поступает не только вглубь кристалла, но и распространяется вбок под оксидной маской[118]. Перекрытие маски над реальным (скрытым) p-n-переходом достаточно велико, поэтому диффузией из оксида в кристалл можно пренебречь[118].
В последующие полгода Эрни и Нойс не возвращались к планарной теме[119]. По мнению Риордана, задержка была связана с несовершенством литографского процесса Fairchild: технология 1957—1958 годов не позволяла провести четыре фотолитографии и две диффузии с приемлемым выходом годных, поэтому в последующие полгода Эрни и Нойс не возвращались к планарной теме[119]. В мае 1958 года им стало известно, что Мартин Аттала из Bell Labs также работает над пассивацией оксидным слоем[120]. Эрни, не желавший уступать инициативу конкурентам, занялся планарным диодом, а с января 1959 года сосредоточился на изготовлении планарного NPN-транзистора — преемника 2N696[120]. 2 марта 1959 года Эрни создал первый опытный планарный транзистор[121]. К 12 марта 1959 года Эрни убедился, что новый прибор превосходит меза-транзисторы по скорости, имеет в тысячу раз меньшие токи утечки и при этом надёжно защищён от посторонних частиц[122].
По мнению Арджуна Саксены, задержка имела и фундаментальную причину. Согласно работам Карла Фроша, оксидный слой не мог служить маской при диффузии лёгких атомов фосфора — а именно фосфор требовался Эрни при второй, эмиттерной, диффузии[98]. 2 марта 1959 года (или несколькими днями позже) бывший коллега Эрни по работе у Шокли Чи-Тан Са рассказал Эрни и Нойсу о своём опыте диффузии[98]. Оказалось, что достаточно толстый слой оксида способен эффективно задерживать диффузию фосфора[98]. Именно это знание и стимулировало активность Эрни в первой половине марта 1959 года[98].
Мур и Нойс, фактически управлявшие Fairchild[прим. 10], приняли решение о переходе на планарную технологию, но запуск в серию оказался неожиданно сложным[123]. Fairchild выпустила первые серийные планарные транзисторы 2N1613 лишь в апреле 1960 года[124]. 26 мая 1960 года работавший на Fairchild Джей Ласт создал первую планарную интегральную микросхему по идеям Нойса[125], а в октябре 1960 года Fairchild анонсировала полный отказ от меза-транзисторов[126]. С тех пор планарный процесс остаётся основным способом производства транзисторов и фактически единственным способом производства интегральных схем[127].
Высокочастотные и мощные транзисторы

Совершенствование биполярных транзисторов продолжилось по двум направлениям — повышение рабочей частоты (скорости переключения) и повышение рассеиваемой мощности[128]. Эти две цели требовали от разработчиков взаимоисключающих технических решений: работа на высоких частотах предполагает минимальную площадь переходов и минимальную толщину базы, а работа на больших токах, напротив, требует большой площади переходов[128]. Поэтому в 1960-е годы силовые и высокочастотные приборы развивались независимыми путями[128]. В 1961 году кремниевые транзисторы Fairchild 2N709, спроектированные Эрни по заказу Сеймура Крея, впервые превзошли германиевые транзисторы по скорости переключения[129]. К концу 1960-х годов опытные транзисторы достигли рабочих частот в 10 ГГц, сравнявшись по быстродействию с лучшими СВЧ-радиолампами[113].
Мощность, рассеиваемая ранними типами транзисторов, не превышала 100 мВт[128]. В 1952 году был создан первый «силовой транзистор» с мощностью рассеивания 10 Вт. Это был обычный германиевый сплавной транзистор, припаянный к медному основанию, которое крепилось к массивному радиатору[130]. В 1954 году был разработан двадцативаттный транзистор с максимальным током коллектора 1 А[130]. Граничная частота усиления этих транзисторов не превышала 100 кГц, а рабочая температура кристалла — 80 °С[130]. Рабочий ток и коэффициент усиления были невелики из-за низкого, порядка 30 Ом, сопротивления базы[130].
В конце 1950-х годов разработчики мощных транзисторов переключились на диффузионные технологии и отказались от германия в пользу кремния, способного работать при температурах до 150 °С[131]. В 1963 году появился первый эпитаксиальный силовой транзистор с сопротивлением базы порядка 1 Ом, что позволило управлять токами в 10 А и более[130]. В 1965 году RCA выпустила первый многоэмиттерный транзистор с мозаичной топологией[130], в том же году появились силовые меза-транзисторы с допустимым напряжением в 1 кВ[131]. В 1970 году рабочий диапазон частот опытных мощных транзисторов достиг 2 ГГц при рассеиваемой мощности 100 Вт[131]. Тогда же, в конце 1960-х и начале 1970-х годов, начался переход от цельнометаллических корпусов (TO3, ТО36, ТО66) к пластмассовым корпусам (TO220 и аналоги)[113].
Полевой транзистор
Параллельно с совершенствованием биполярного транзистора продолжалась и работа по полевым транзисторам[132]. В течение десяти лет (1948—1958) она оставалась безрезультатной из-за отсутствия подходящих диэлектриков[132]. Затем события резко ускорились. В 1958 году Станислав Тезнер выпустил на французском отделении General Electric «Технитрон» (Technitron) — первый серийный, сплавной полевой транзистор[132]. Это был несовершенный германиевый прибор, отличавшийся высокими токами утечки при малой крутизне характеристики[132]. В 1959 году RCA выпустила тонкоплёночный полевой транзистор на сульфиде кадмия[132]. В 1960 году американская Crystalonics выпустила серийный сплавной полевой транзистор на p-n-переходе с уровнем шумов ниже, чем у биполярных транзисторов. В 1962 году Texas Instruments выпустила первый планарный полевой транзистор на p-n-переходе.
Важнейшие события, как и десятью годами ранее, происходили в стенах Bell Labs. В 1959 году Мартин Аттала предложил выращивать затворы полевых транзисторов из диоксида кремния; приборы такого типа получили название МОП-структур[132]. В том же году Аттала и Дион Канг создали первый работоспособный МОП-транзистор[133]. Изобретение не заинтересовало менеджмент Bell, зато RCA и Fairchild начали активно экспериментировать с МОП-технологией уже в 1960 году, а в 1962 году RCA изготовило первую опытную МОП-микросхему с шестнадцатью транзисторами[133]. В 1963 году Чин-Тан Са и Фрэнк Уонлес предложили комплементарную МОП-схемотехнику[134]. Первые серийные МОП-транзисторы RCA и Fairchild вышли на рынок в 1964 году, в том же году General Microelectronics выпустила первую МОП-микросхему, в 1970-е годы МОП-микросхемы завоевали рынки микросхем памяти и микропроцессоров, а в начале XXI века доля МОП-микросхем достигла 99 % от общего числа выпускаемых интегральных схем (ИС)[133].
Комментарии
- ↑ De Vries, 1993, p. 214, пишет о том, что работы Давыдова не были известны в Bell Labs. По мнению Лоека, это неверно — хотя бы потому, что и Шокли, и Бардин ссылались на Давыдова в своих публикациях.
- ↑ Lojek, 2007, pp. 12—13. «Урановый проект» Шокли — не Манхэттенский проект, а частная внутренняя разработка Bell Labs. Ещё на этапе теоретических изысканий военное ведомство заставило Bell Labs прекратить эти работы и изъяло все рабочие материалы.
- ↑ Riordan and Hoddeson, 1997, pp. 49, 47. Ол измерял параметры кремниевых детекторов осциллографическим характериографом на сетевой частоте 60 Гц.
- ↑ Относительно потенциала полупроводникового кристалла («базы» или «истока»). Все работы этого периода предполагали включение транзистора по схеме с общей базой.
- ↑ Huff, 2001, p. 10: GU (англ. glycol borate) — электролит на органической основе. Замена воды на вязкий электролит была вызвана только тем, что вода быстро испарялась..
- ↑ В соответствии с определением 97 ГОСТ 15133-77, название «точечно-контактный транзистор» (буквальная калька с англ. point contact transistor) является недопустимым.
- ↑ Lojek, 2007, p. 19: Браттейн в своих воспоминаниях называл усиление стократным, однако в рабочих записях 1947 года сказано лишь о пятнадцатикратном (24 дБ)..
- ↑ В соответствии с определением 98 ГОСТ 15133-77, именно так, плоскостной транзистор, следует переводить английское junction transistor. Название не вполне удачное, так как сливается с планарным транзистором.
- ↑ Berlin, 2005, pp. 86—88: Шокли до конца жизни отказывался разговаривать с Нойсом. После ухода «вероломной восьмёрки» Шокли запатентовал изобретения уволившихся в пользу акционеров Shockley Semiconductor Laboratories, соблюдая при этом личные права изобретателей. Нойс указан автором в четырёх таких патентах..
- ↑ Riordan, 2007b, p. 3: Мартовские эксперименты Эрни совпали во времени с первым кризисом управления Fairchild. Генеральный директор Эд Болвин ушёл к конкурентам, прихватив с собой пятерых ведущих технологов. Внедрение меза-технологий Fairchild конкурентами казалось делом нескольких месяцев. Принявшему управление компанией Нойсу был нужен новый, неизвестный конкурентам продукт — им и стал планарный транзистор Эрни..
Примечания
- ↑ Что писал о капитализме Альберт Эйнштейн — Российская газета. Дата обращения: 30 мая 2021. Архивировано 3 июня 2021 года.
- ↑ Патент США 836 531.
- 1 2 3 Новиков, 2004, p. 5.
- 1 2 Morris, 1990, p. 20.
- ↑ De Vries, 1993, , p. 211.Оригинальный текст (англ.)Anybody in the art was aware of the analogy between a copper-oxide rectifier and a diode vacuum tube and many people had the idea of how do we put in a grid, a third electrode, to make an amplifier.
- 1 2 3 Chapuis and Joel, 2003, p. 126.
- 1 2 Braun and McDonald, 1982, p. 24.
- ↑ Braun and McDonald, 1982, p. 19.
- 1 2 Новиков, 2004, p. 6.
- ↑ Morris, 1990, p. 24.
- ↑ Morris, 1990, p. 21.
- 1 2 Shockley, 1972, p. 689.
- 1 2 De Vries, 1993, p. 213.
- ↑ Lojek, 2007, p. 13.
- ↑ Riordan and Hoddeson, 1997, p. 46.
- 1 2 3 4 5 6 Riordan and Hoddeson, 1997, p. 48.
- 1 2 3 4 5 6 7 Riordan and Hoddeson, 1997, p. 49.
- 1 2 3 4 Riordan and Hoddeson, 1997, p. 50.
- 1 2 3 4 Riordan and Hoddeson, 1997, p. 51.
- ↑ Loebner, 1976, pp. 682, 698.
- 1 2 Lojek, 2007, p. 14.
- 1 2 Lojek, 2007, p. 23.
- ↑ Braun and McDonald, 1982, p. 33.
- ↑ Lojek, 2007, p. 15.
- ↑ Shockley, 1972, p. 89 писал о «тысяче раз». De Vries, 1993, p. 214 — «1500 раз».
- 1 2 3 Lojek, 2007, p. 16.
- ↑ Shockley, 1972, , p. 689.Оригинальный текст (англ.)We stopped trying to make a transistor. We followed a princicle that I call „respect for the scientific aspects of practical problems“.
- ↑ Huff, 2001, pp. 10—11.
- 1 2 3 Huff, 2001, p. 11.
- 1 2 3 4 Huff, 2001, p. 13.
- 1 2 3 Lojek, 2007, p. 19.
- 1 2 3 4 5 Huff, 2001, p. 14.
- ↑ Lojek, 2007, pp. 17—18.
- ↑ Huff, 2001, p. 12.
- ↑ Huff, 2001, pp. 12—13.
- ↑ Morris, 1990, p. 28.
- 1 2 Lojek, 2007, p. 18.
- ↑ Seitz and Einspruch, 1998, p. 180.
- ↑ Huff, 2001, p. 15.
- ↑ Huff, 2001, p. 13: это была та же пластина, что использовалась в опытах 12 и 15 декабря 1947 года..
- ↑ Morris, 1990, p. 27.
- ↑ Meacham, L. A. et al. Terminology for Semiconductor Triodes. Bell Labs (1948). Дата обращения: 20 марта 2012. Архивировано из оригинала 28 мая 2008 года.
- 1 2 3 4 5 Riordan, 2005, p. 49.
- 1 2 3 4 5 6 Riordan, 2005, p. 50.
- 1 2 3 4 5 6 7 Riordan, 2005, p. 51.
- 1 2 3 4 5 6 Lojek, 2007, p. 26.
- 1 2 Lojek, 2007, p. 52.
- 1 2 Morris, 1990, p. 29.
- 1 2 3 Morris, 1990, p. 31.
- 1 2 Lojek, 2007, p. 30.
- 1 2 Shockley, 1972, p. 690.
- ↑ Riordan, 2005, pp. 48, 51.
- 1 2 Lojek, 2007, p. 36.
- ↑ 100 лет Александру Викторовичу Красилову - создателю первых отечественных транзисторов. НПП Пульсар (2010). Дата обращения: 20 марта 2012. Архивировано 5 августа 2012 года.
- ↑ Lojek, 2007, p. 34.
- ↑ Lojek, 2007, pp. 30—31.
- ↑ De Vries and Boersma, 2005, p. 96.
- ↑ 60 лет отечественному транзистору. Дата обращения: 17 августа 2016. Архивировано 6 сентября 2016 года.
- 1 2 Lojek, 2007, p. 21.
- ↑ Lojek, 2007, p. 22.
- ↑ Lojek, 2007, pp. 21—22.
- 1 2 Lojek, 2007, p. 27.
- ↑ Huff, 2001, p. 20.
- 1 2 3 4 Huff, 2001, p. 21.
- ↑ Lojek, 2007, p. 27 (в оригинале очевидная ошибка — написано 1947, должно быть 1948)..
- ↑ Lojek, 2007, pp. 28, 42.
- ↑ Shockley, 1949.
- ↑ Lojek, 2007, p. 28.
- ↑ Шокли, 1953.
- ↑ Алфёров, 2011.
- ↑ Lojek, 2007, p. 29.
- 1 2 Huff, 2001, p. 17.
- 1 2 Lojek, 2007, p. 32.
- ↑ Lojek, 2007, p. 33.
- ↑ Huff, 2003, p. 5.
- 1 2 3 4 5 6 Lojek, 2007, p. 42.
- 1 2 Morris, 1990, p. 30.
- ↑ Huff, 2003, pp. 4—6.
- ↑ Lojek, 2007, p. 45.
- ↑ Lojek, 2007, pp. 43—45.
- ↑ Lojek, 2007, pp. 45—46.
- ↑ Morris, 1990, pp. 31—32.
- 1 2 3 Morris, 1990, p. 35.
- ↑ Morris, 1990, pp. 34, 36.
- ↑ Morris, 1990, p. 32.
- ↑ Morris, 1990, p. 33.
- 1 2 Huff, 2003, p. 8.
- 1 2 Morris, 1990, p. 34.
- ↑ Huff, 2003, , p. 10.Оригинальный текст (англ.)Early «had the distinction of being the only person other than Shockley to propose a basically new transistor structure.
- ↑ Huff, 2003, p. 10.
- 1 2 Lojek, 2007, p. 54.
- ↑ Dacey, Lee and Shockley. US Patent 3028655. Semiconductive Device (1955). Дата обращения: 25 марта 2012. Архивировано 5 августа 2012 года.
- 1 2 Brock and Lécuyer, 2010, p. 255.
- ↑ De Vries and Boersma, 2005, pp. 175—176.
- 1 2 3 4 5 Huff, 2003, p. 12.
- 1 2 Huff, 2003, pp. 12—13.
- ↑ Lojek, 2007, p. 82.
- 1 2 3 4 5 6 Saxena, 2009, pp. 100—101.
- ↑ Lojek, 2007, p. 81.
- ↑ Lojek, 2007, p. 38.
- 1 2 Lojek, 2007, pp. 81—83.
- 1 2 Huff, 2003, p. 13.
- ↑ Brock and Lécuyer, 2010, pp. 22, 24.
- ↑ Brock and Lécuyer, 2010, pp. 62—63.
- 1 2 Brock and Lécuyer, 2010, p. 256.
- ↑ Brock and Lécuyer, 2010, p. 23.
- ↑ Brock and Lécuyer, 2010, pp. 25—26.
- ↑ Brock and Lécuyer, 2010, pp. 26—27.
- ↑ Brock and Lécuyer, 2010, p. 27.
- ↑ Brock and Lécuyer, 2010, pp. 24, 27.
- ↑ Lojek, 2007, p. 159.
- ↑ Morris, 1990, pp. 36—37.
- 1 2 3 Morris, 1990, p. 42.
- 1 2 Augarten, 1983, p. 8.
- ↑ Morris, 1990, p. 37.
- ↑ Huff, 2003, , p. 14.Оригинальный текст (англ.)He noticed a spot of light emitted from the side of the mesa when the transistor was biased into breakdown. He shut off the power and saw a tiny particle on the side to the mesa at the point of the light emission.
- 1 2 Brock and Lécuyer, 2010, p. 29.
- 1 2 Brock and Lécuyer, 2010, pp. 29—30.
- 1 2 Riordan, 2007b, pp. 2, 3.
- 1 2 Brock and Lécuyer, 2010, p. 30.
- ↑ Riordan, 2007b, p. 3.
- ↑ Brock and Lécuyer, 2010, pp. 30—31.
- ↑ Brock and Lécuyer, 2010, pp. 31—33.
- ↑ 1959 — Invention of the «Planar» Manufacturing Process. Computer History Museum (2007). Дата обращения: 29 марта 2012. Архивировано 18 февраля 2012 года.
- ↑ 1960 — First Planar Integrated Circuit is Fabricated. Computer History Museum (2007). Дата обращения: 29 марта 2012. Архивировано 18 августа 2012 года.
- ↑ Lojek, 2007, p. 126.
- ↑ 1959 — Practical Monolithic Integrated Circuit Concept Patented. Computer History Museum (2007). Дата обращения: 29 марта 2012. Архивировано 11 марта 2012 года.
- 1 2 3 4 Morris, 1990, p. 39.
- ↑ 1961 — Silicon Transistor Exceeds Germanium Speed. Computer History Museum (2007). Дата обращения: 29 марта 2012. Архивировано 5 августа 2012 года.
- 1 2 3 4 5 6 Morris, 1990, p. 40.
- 1 2 3 Morris, 1990, p. 41.
- 1 2 3 4 5 6 Morris, 1990, p. 43.
- 1 2 3 1960 — Metal Oxide Semiconductor (MOS) Transistor Demonstrated. Computer History Museum (2007). Дата обращения: 29 марта 2012. Архивировано 5 августа 2012 года.
- ↑ 1963 — Complementary MOS Circuit Configuration is Invented. Computer History Museum (2007). Дата обращения: 29 марта 2012. Архивировано 5 августа 2012 года.
Литература
- Новиков, М. А. Олег Михайлович Лосев — пионер полупроводниковой электроники // Физика твёрдого тела. — 2004. — Т. 46, № 1. — С. 5—9. Архивировано 19 февраля 2012 года.
- Шокли, У. Теория электронных полупроводников: Приложения к теории транзисторов. — М.: Издательство иностранной литературы, 1953. — 714 с.
- Augarten, S. State of the art: a photographic history of the integrated circuit. — Ticknor & Fields / Smithsonian Institution, 1983. — 79 p. — ISBN 0899191959.
- Berlin, L. The Man Behind the Microchip: Robert Noyce and the Invention of Silicon Valley. — New York: Oxford Uiversity Press, 2005. — P. 85—89. — 440 p. — ISBN 9780199839773.
- Braun, E.; McDonald, S. Revolution in Miniature: The History and Impact of Semiconductor Electronics. — Cambridge University Press, 1982. — 247 p. — ISBN 9780521289030.
- Brock, D.; Lécuyer, C. Makers of the Microchip: A Documentary History of Fairchild Semiconductor / Lécuyer, C. et al. — MIT Press, 2010. — 312 p. — ISBN 9780262014243.
- Chapuis, R. J.; Joel, A. E. 100 Years of Telephone Switching (1878-1978): Electronics, computers, and telephone switching, 1960-1985. — Studies in telecommunication. — IOS Press, 2003. — 596 p. — ISBN 9781586033729.
- Clermontel, D. Chronologie scientifique, technologique et économique de la France. — Editions Publibook, 2009. — 411 p. — ISBN 9782748346824.
- De Vries, M. J. Design methodology and relationships with science. — NATO Science Series D. — Springer, 1993. — Vol. 71. — 327 p. — ISBN 9780792321910.
- De Vries, Marc; Boersma, Kees. 80 years of research at the Philips Natuurkundig Laboratorium (1914-1994): the role of the Nat.Lab. at Philips. — Amsterdam University Press, 2005. — 325 p. — ISBN 9789085550518.
- Huff, H. R. John Bardeen and Transistor Physics // Characterization and Metrology for ULSI Technology: 2000 International Conference. — American Institute of Physics / Sematech, 2001. — P. 3—29 (препринт). — ISBN 1-56396-967-X. — doi:10.1063/1.1354371.. Ссылки на номера страниц приводятся по препринту Архивная копия от 11 марта 2010 на Wayback Machine
- Huff, H. R. From The Lab to The Fab: Transistors to Integrated Circuits // ULSI process integration III: proceedings of the international symposium / Cor L. Claeys. — Proceedings of the Electrochemical Society. — The Electrochemical Society, 2003. — P. 16—67 (печатное издание), 3—39 (препринт). — 598 p. — ISBN 9781566773768.. Ссылки на номера страниц приводятся по препринту (часть 1 Архивная копия от 16 ноября 2011 на Wayback Machine, часть 2 Архивная копия от 11 марта 2010 на Wayback Machine, часть 3 Архивная копия от 2 января 2014 на Wayback Machine).
- Lécuyer, C. et al. Making Silicon Valley: innovation and the growth of high tech, 1930-1970. — MIT Press, 2006. — P. 212—228. — 393 p. — ISBN 9780262122818.
- Loebner, E. E. Subhistories of the Light Emitting Diode (англ.) // IEEE Transactions on Electron Devices. — 1976. — Vol. ED23. — P. 675—699. — ISSN 0018-9383.
- Lojek, B. History of semiconductor engineering. — Springer, 2007. — P. 178—187. — 387 p. — ISBN 9783540342571.
- Morris, P. R. A history of the world semiconductor industry. — History of technology series. — IET, 1990. — Vol. 12. — 171 p. — ISBN 9780863412271.
- Morton, D.; Gabriel, J. Electronics: The Life Story of a Technology. — JHU Press, 2007. — 216 p. — ISBN 9780801887734.
- Riordan, M. and Hoddeson, L. Crystal fire: the birth of the information age. — Sloan technology series. — Norton, 1998. — 352 p. — ISBN 9780393318517. Фрагменты из этой книги публиковались как:
- Riordan, M. The Industrial Strength Particle (англ.) // Beam Line. — 1996. — P. 30—35. — ISSN 1543-6055.
- Riordan, M. and Hoddeson, L. The Origins of the pn Junction // IEEE Spectrum. — 1997. — Vol. 34. — P. 46—51. — ISSN 0018-9235. — doi:10.1109/6.591664. Архивировано 27 июня 2012 года.
- Riordan, M. The Invention of the Transistor (англ.) // Reviews of Modern Physics. — 1999. — Vol. 71. — P. 336—345. — ISSN 1539-0756. — doi:10.1103/RevModPhys.71.S336.
- Riordan, M. and Hoddeson, L. Minority Carriers and the First Two Transistors // Facets: New Perspectivies on the History of Semiconductors / ed. Andrew Goldstein & William Aspray. — New Brunswick: IEEE Center for the History of Electrical Engineering, 1999. — P. 1—33. — 318 p. — ISBN 978-0780399020.
- Riordan, M. How Europe missed the transistor (англ.) // IEEE Spectrum. — 2005. — P. 47—49. — ISSN 0018-9235.
- Riordan, M. From Bell Labs to Silicon Valley: A Saga of Semiconductor Technology Transfer, 1955-61 (англ.) // The Electrochemical Society Interface. — 2007a. — P. 36—41. — ISSN 1944-8783.
- Riordan, M. The Silicon Dioxide Solution (англ.) // IEEE Spectrum. — 2007b. — ISSN 0018-9235.
- Saxena, A. Invention of integrated circuits: untold important facts. — International series on advances in solid state electronics and technology. — World Scientific, 2009. — P. 523. — ISBN 9789812814456.
- Seitz, F., Einspruch, N. Electronic genie: the tangled history of silicon. — University of Illinois Press, 1998. — 281 p. — ISBN 9780252023835.
- Shockley, W. How we invented the transistor (англ.) // New Scientist. — 1972. — Vol. 56. — P. 689—691. — ISSN 0262-4079.
Shockley, W. The theory of p-n junctions in Semiconductors and p-n Junction Transistors (англ.) // The Bell System Technical Journal. — 1949. — Vol. 28. — P. 435—48. Архивировано 21 июля 2013 года.
Ссылки
- Алфёров, Ж. И. Успех «Сколково» может быть достигнут, если наука в стране снова начнет развиваться. Советская Россия (29 апреля 2011). Дата обращения: 20 марта 2012. Архивировано 5 августа 2012 года.