Кабельная проходка
Ка́бельная прохо́дка — изделие или сборная конструкция, предназначенные для прохода электрических кабелей (кабельных линий) через стены, перегородки и перекрытия и включающие в себя заделочные материалы и (или) сборные элементы, закладные детали (трубы, короба, лотки и т. п.) и кабельные изделия.[1]

1 — труба или кабель; 2 — гильза; 3 — строительная конструкция; 4 — облицовка; 5 — шайба; 6 — обойма; 7 — диафрагма
Назначение
Проходки предназначены для заделки мест прохода технологических трубопроводов, трубопроводов инженерных систем, кабелей и кабельных систем через стены, перекрытия и другие строительные конструкции. В случае пожара проходки препятствуют распространения огня и дыма в смежные помещения. Нормируемый предел огнестойкости проходки не должен быть ниже предела огнестойкости основной конструкции. Устройство проходки не должно снижать пропускную способность кабеля (по нагреву) более, чем на 2 процента[2]
Особые требования предъявляются к проходкам в конструкциях и защитных оболочках атомных электростанций. Такие проходки должны обеспечивать герметичность и радиационную стойкость, противостоять избыточному давлению и сейсмическим воздействиям[3].
При строительстве Останкинской башни кабели и фидеры были размещены в вертикальной шахте без разделения на герметичные отсеки и без устройства проходок. Во время пожара 27 августа 2000 года это привело к быстрому распространению огня по вертикали[4].
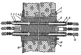
Конструкция

1 — изолятор; 2 — керамическая труба; 3 — стержень; 4 — металлическая труба; 5 — фланец; 6 — обойма; 7 — плита; 8 — колпак; 9 — гайка; 10 — гибкий провод; 11 — прокладка; 12 — термоусадочная трубка; 13 — усилительный фланец
Простейшая проходка (сальник) представляет собой металлическую гильзу, заделанную в стену (перекрытие). Внутренний диаметр гильзы несколько больше наружного диаметра проходящего через него кабеля (или трубопровода). Пространство между ними забивается пропитанной жиром паклей (отсюда название "сальник" ), резиновым кольцом, асбестовым шнуром, специальными сальниковыми набивками. Такая конструкция широко используется в трубопроводной арматуре, насосах, судовых и автомобильных механизмах под названием сальниковое устройство.
Проходки в конструкциях промышленных предприятий и электростанций устраивают в виде двух закладных металлических полос, соединяемых гильзами (рис. 1). Каждая проходка может обеспечивать прокладку нескольких кабелей или трубопроводов. Высоковольтные кабели прокладывают через проходные изоляторы (рис. 2), шинопроводы — через специальные проходы. Для герметизации гильзы закрывают шайбами или диафрагмами.
В современном строительстве применяются модульные системы проходок, состоящие из стальных или пластмассовых рамок и набора глухих модулей и модулей с отверстиями. Для них применяется негорючая пластмасса (эластомер). Для обеспечения герметичности модули сжимаются натяжными болтами. Для обеспечения защиты от электромагнитных полей модули и рамки могут быть дополнительно снабжены медными прокладками.
Монтаж
При устройстве проходок через железобетонные конструкции проходки изготавливают заранее и устанавливают вместе с опалубкой до заливки бетоном. В сборно-монолитных конструкциях (например, на АЭС) трубные и кабельные проходки устанавливают на заводе при сборке блок-ячеек. Проходки небольшого диаметра устраивают также в готовой железобетонной конструкции с помощью алмазного кольцевого сверла. В кирпичных стенах для больших проходок оставляется штроба, при небольшом размере сверлится отверстие.
Кабель прокладывается после твердения бетона и проведения облицовочных или отделочных работ. Проходки и проходные изоляторы испытывают на нагрев, а также на силовое воздействие (изгиб), образцы проходок — на огнестойкость.
Для защиты помещений и кабелей от огня при строительстве или временной эксплуатации устраивают временные кабельные проходки из огнезащитных подушек.
См. также
Примечания
- ↑ Архивная копия от 16 декабря 2010 на Wayback Machine НПБ 237-97 КОНСТРУКЦИИ СТРОИТЕЛЬНЫЕ. МЕТОДЫ ИСПЫТАНИЙ НА ОГНЕСТОЙКОСТЬ КАБЕЛЬНЫХ ПРОХОДОК И ГЕРМЕТИЧНЫХ КАБЕЛЬНЫХ ВВОДОВ
- ↑ ГОСТ Р 53310-2009. Проходки кабельные, вводы герметичные и проходы шинопроводов. Требования к пожарной безопасности. Методы испытаний на огнестойкость. М.: Стандартинформ, 2009. — 7 с.
- ↑ Строительство тепловых и атомных электростанций. В 2-х тт. — 3-е изд. — М.: Стройиздат, 1985. — (Справочник строителя).
- ↑ Отчет МВД и МЧС по пожару в Останкинской телебашне. Дата обращения: 20 февраля 2010. Архивировано 22 сентября 2010 года.