Кингстон (клапан)

Кингсто́н — задвижка или клапан, перекрывающий доступ в корабельную (судовую) систему, сообщающуюся с забортной водой. Расположен в подводной части корабля (судна)[1]. Используются для приёма забортной воды или откачки жидкости за борт. Возможны разные конструкции клапана.
Фраза «открыть кингстоны» часто используются как синоним намеренного затопления надводного судна.
В подводных лодках (ПЛ) термин кингстон используется для обозначения клапана в балластных цистернах, является частью системы погружения и всплытия. В цистернах главного балласта он используется при приёме воды при погружении и удаления её из цистерн («продувки») при всплытии; во вспомогательных цистернах — для дифферентовки.
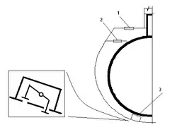
Типичная конструкция кингстона ПЛ — парный тарельчатый клапан коромыслового типа. Такая конструкция обеспечивает одинаковые усилия открытия/закрытия, независимо от противодавления. Устанавливается в кингстонной выгородке, для предохранения от деформаций, возникающих от динамических нагрузок на корпус (при покладке на грунт, плавании в штормовую погоду, и т. д.) Управляется дистанционно с помощью механического привода (гидравлического, пневматического или ручного).
Клапан назван в честь Джона Кингстона (1786–1847), английского инженера[2].
Примечания
- ↑ Кингстон (клапан) // Военная энциклопедия : [в 18 т.] / под ред. В. Ф. Новицкого … [и др.]. — СПб. ; [М.] : Тип. т-ва И. Д. Сытина, 1911—1915.
- ↑ Evans, David. Building the Steam Navy: Dockyards, Technology and the Creation of the Victorian Battle Fleet, 1830-1906 (англ.). — Conway Maritime Press, 2004.
Литература
- Бондаренко А. Г. Основы устройства ПЛ. Курс лекций для слушателей военно-морских учебных заведений. Л., 1982.
- Прасолов С. Н., Амитин М. Б. Устройство подводных лодок. Б. м., б. г.