Коклюшка
Коклю́шка — деревянная, как правило, катушка с ручкой, на которую наматываются нитки для плетения коклюшечного кружева.


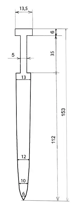
Верхняя утолщённая часть коклюшки называется головкой коклюшки, затем идёт шейка-катушка, далее ручка.
Плетение на коклюшках также называют «подушечным кружевом».
Конфигурация
Коклюшки могут быть изготовлены из дерева, пластмасс, слоновой кости. Деревянные коклюшки чаще всего делаются из берёзы[1], также из клёна и яблони — гладкие, твёрдые, прочные и устойчивые к образованию заусенцев. Могут также использоваться дуб, бук, ясень, рябина и древесина некоторых других пород, обладающая достаточной плотностью, твёрдостью и с хорошей обрабатываемостью на токарных станках. Допустимо изготавливать коклюшки и из некоторых мягких пород дерева, например ели, липы, ольхи, черёмухи, можжевельника (вереса).
Размер, форма и вес коклюшек зависят от техники плетения, используемых нитей, а также индивидуальных предпочтений кружевницы.
Популярные размеры коклюшек:
- общая длина — 140—170 мм
- длина шейки — 35-40 мм
- диаметр шейки — 5-6 мм
- диаметр ручки — 11-13 мм
- диаметр головки — 12-14 мм
Инструменты для плетения
.jpg)
Подставка (станок), подушка (валик), рисунок кружевного узора (сколок), коклюшки и булавки.
Материалом для работы являются хлопчатобумажные, шёлковые, льняные, шерстяные и капроновые нитки.
Коклюшки в русском фольклоре
- Языком плетёт, что коклюшками.
- Кутуз[2] да коклюшки — балахонские игрушки!
- Коклюшки — шутки, балясы, сплетни.
- Перебирать коклюшки — болтать вздор.
- Подпустить коклюшку — придумать хитрость, обман.
- Коклюшки плесть — говорить намёками, обиняками [3].
Примечания
- ↑ Волшебный мир дерева. Тайны древесного ствола. Дата обращения: 21 января 2014. Архивировано 2 февраля 2014 года.
- ↑ Кутуз; кутузик — подушка, на которой плетут кружева. — Толковый словарь живого великорусского языка
- ↑ Толковый словарь живого великорусского языка
Литература
- Андреева Р. П. Коклюшки // Энциклопедия моды. — СПб.: Литера, 1997. — С. 202. — ISBN 5-86617-030-2.
- Беловинский Л. В. Коклюшки // Иллюстрированный энциклопедический историко-бытовой словарь русского народа. XVIII — начало XIX в. / под ред. Н. Ерёминой. — М.: Эксмо, 2007. — С. 293. — 784 с. — 5000 экз. — ISBN 978-5-699-24458-4.
- Белозерова И. Е., Костромова Л. Н. Времена года в кружеве. Пособие по кружевоплетению на коклюшках. — М.: Арт-Поход, 2014 г. — 134 с.
- Белозерова И. Е. Возрождение техники плетения подольского кружева. — М., 2014. — 104 с.
- Глинкина Л. А. Коклюшка // Иллюстрированный словарь забытых и трудных слов русского языка: ок. 7000 единиц: более 500 ил. / Л. А. Глинкина; худож. М. М. Салтыков. — М.: Мир энциклопедий Аванта+, 2008. — С. 144. — 432 с. — ISBN 978-5-98986-208-5.