Предохранительная муфта

Предохранительная муфта — это муфта, которая кроме соединения валов при необходимости ограничивает передаваемый крутящий момент и защищает детали машин и двигатель от поломок при перегрузках. Предохранительные муфты располагают как можно ближе к месту возможного возникновения перегрузки. Муфты работают при строгой соосности валов, если это не комбинированная предохранительно-компенсирующая (например, фрикционно-зубчатая, фрикционно-цепная) муфта. В случае применения ременной передачи часто предохранительная муфта не используется в составе привода, за счёт свойства плоских, клиновых и поликлиновых ремней проскальзывать при перегрузках, иногда предохранительная муфта комбинируется с одной из звёздочек в составе цепной передачи.
Классификация предохранительных муфт
- пружинно-кулачковые;
- фрикционные;
- с разрушающимся элементом;
- со срезным штифтом.
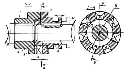
Пружинно-кулачковая предохранительная муфта

В пружинно-кулачковой предохранительной муфте подвижную в осевом направлении полумуфту прижимают к неподвижной постоянно действующей пружиной с регулируемой силой прижатия. При перегрузке сумма осевых составляющих сил на гранях кулачков превышает прижимную силу пружины, и муфта срабатывает — отключает ведомый вал, многократно прощелкивает кулачками, подавая звуковой сигнал о перегрузке. Срабатывание муфты сопровождают значительные ударные нагрузки, поэтому эти муфты применяют для передачи небольших вращающих моментов при малых частотах вращения и малых маховых соединяемых массах.
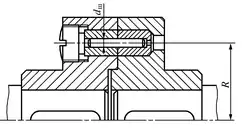
Фрикционная предохранительная муфта

Фрикционные предохранительные муфты автоматически восстанавливают работоспособность машины после прекращения действия перегрузки, однако точность их невысока вследствие непостоянства коэффициента трения на рабочих поверхностях дисков. Их применяют при частых кратковременных перегрузках и значительных частотах вращения. Силу нажатия создают пружиной, отрегулированной на передачу предельного вращающего момента. При срабатывании муфта поглощает механическую энергию, преобразуя ее в тепловую, передача же вращающего момента не прекращается.

Предохранительная муфта с разрушающимся элементом
Предохранительные муфты с разрушающимся элементом выполняют со специальным предохранительным элементом в форме штифта или шпонки, работающим на срез. Эти муфты просты по конструкции, имеют малые размеры и высокую несущую способность. Недостатком их является остановка машины для замены разрушившегося элемента после срабатывания муфты. Применяют в приводах, работающих с редкими случайными перегрузками.
ГОСТы и стандарты
- ГОСТ 15622-96: Муфты предохранительные фрикционные. Параметры, конструкция и размеры.
- ГОСТ Р 50371-92: Муфты механические общемашиностроительного применения. Термины и определения.
- ГОСТ 15620-93: Муфты предохранительные кулачковые. Параметры и размеры.
Литература
- Под ред. Ряховского О. А. Детали машин. — 4-е издание, переработанное и дополненное. — М.: издательство МГТУ им. Н.Э. Баумана, 2014. — С. 465. — ISBN 978-5-7038-3939-3.
- Леликов О. П. Основы расчёта и проектирования деталей и узлов машин. — 3-е издание, переработанное и дополненное. — М.: Машиностроение, 2007. — С. 464. — ISBN 978-5-217-03390-4.
- Под ред. Ряховского О. А., Леликова О. П. Атлас конструкций узлов и деталей машин. — 2-е издание, переработанное и дополненное. — М.: издательство МГТУ им. Н.Э. Баумана, 2009. — С. 398. — ISBN 978-5-7038-3282-0.