Психическое состояние
Психи́ческое состоя́ние — один из возможных режимов жизнедеятельности человека, на физиологическом уровне отличающийся определёнными энергетическими характеристиками, а на психологическом уровне — системой психологических фильтров, обеспечивающих специфическое восприятие окружающего мира (Щербатых Ю.В., Мосина А.Н., 2008). По Н. Д. Левитову[1], психическое состояние — это «целостная характеристика психической деятельности за определенный период времени, показывающая своеобразие протекания психических процессов в зависимости от отражаемых предметов и явлений действительности, предшествующего состояния и свойств личности»[2]. Н. Д. Левитов провел грань между психическими состояниями человека и функциональными состояниями организма. Психические состояния человека в отличие от функциональных состояний организма отражают, с определенной степенью адекватности, реальную жизненную и трудовую ситуацию и отношение субъекта, а также вовлекают в процесс разрешения проблемной жизненной (или трудовой) ситуации психические процессы и личностные свойства — мотивационную и эмоционально-волевую сферу, характерологические черты[2].
Наряду с психическими процессами и свойствами личности состояния являются основными классами психических явлений, которые изучает наука психология. Психические состояния влияют на протекание психических процессов, а повторяясь часто, приобретя устойчивость, могут включиться в структуру личности в качестве её специфического свойства. Так как в каждом психическом состоянии присутствуют психологические, физиологические и поведенческие компоненты, то в описаниях природы состояний можно встретить понятия разных наук (общей психологии, физиологии, медицины, психологии труда и т. д.), что создаёт дополнительные трудности для исследователей, занимающихся данной проблемой. В настоящее время не существует какой-либо единой точки зрения на проблему состояний, так как состояния личности можно рассматривать в двух аспектах. Они являются одновременно и срезами динамики личности, обусловленными её отношениями, поведенческими потребностями, целями активности и адаптивности в окружающей среде и ситуации.
Структура состояний
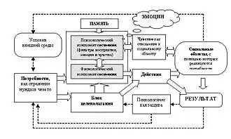
Так как психические состояния являются системными явлениями, то прежде, чем их классифицировать, необходимо выделить основные компоненты данной системы. Структура состояния состоит из следующих элементов: (Рис. 1): Системообразующим фактором для состояний можно считать актуальную потребность, которая инициирует то или иное психологическое состояние. Если условия внешней среды способствуют быстрому и лёгкому удовлетворению потребности, то это способствует возникновению позитивного состояния — радости, воодушевления, восторга и т. д., а если вероятность удовлетворения низка или вообще отсутствует, то состояние будет негативным по эмоциональному знаку. А. О. Прохоров считает, что вначале многие психологические состояния являются неравновесными, и лишь после получения недостающей информации или получения необходимых ресурсов, они приобретают статический характер. Именно в начальный период формирования состояния возникают наиболее сильные эмоции — как субъективные реакции человека, выражающего своё отношение к процессу реализации актуальной потребности. Важную роль в характере нового установившегося состояния играет «блок целеполагания», который определяет как вероятность удовлетворения потребности, так и характер будущих действий. В зависимости от информации, хранящейся в памяти, формируется психологический компонент состояния, включающий в себя эмоции, ожидания, установки, чувства и «фильтры восприятия». Последний компонент очень важен для понимания характера состояния, так как именно через него человек воспринимает мир и оценивает его. После установки соответствующих «фильтров», объективные характеристики внешнего мира уже гораздо слабей могут воздействовать на сознание, а главную роль играют установки, убеждения и представления. Например, в состоянии любви объект привязанности кажется идеальным и лишённым недостатков, а в состоянии гнева другой человек воспринимается в исключительно чёрном цвете, и логические доводы очень мало влияют на эти состояния. Если в реализации потребности участвует социальный объект, то эмоции принято называть чувствами. Если в эмоциях главную роль играет субъект восприятия, то в чувстве тесно сплетены и субъект и объект, причём при сильных чувствах второй человек может занимать в сознании даже большее место, чем сам индивид (чувство ревности, мести, любви). После выполнения тех или иных действий с внешними предметами или социальными объектами человек приходит к какому-то результату. Этот результат или позволяет реализовать потребность, вызвавшую данное состояние (и тогда оно сходит на нет), либо результат оказывается отрицательным. В этом случае возникает новое состояние — фрустрации, агрессии, раздражения и т. д., в котором человек получает новые ресурсы, а значит — новые шансы эту потребность удовлетворить. Если же и дальше результат остаётся негативным, то включаются механизмы психологической защиты, снижающие напряжённость психических состояний, и уменьшающие вероятность возникновения хронического стресса.
Классификация состояний
Трудность классификации психических состояний состоит в том, что часто они пересекаются или даже совпадают друг с другом настолько тесно, что их достаточно сложно «развести» — например, состояние некоторой напряженности часто появляется на фоне состояний утомления, монотонии, агрессии и ряда других состояний. Тем не менее, существует много вариантов их классификаций. Чаще всего их делят на эмоциональные, познавательные, мотивационные, волевые. Обобщая текущие характеристики функционирования основных интеграторов психики (личности, интеллекта, сознания), используют термины состояние личности, состояние интеллекта, состояние сознания. Описаны и продолжают изучаться и другие классы состояний: функциональные, психофизиологические, астенические, пограничные, кризисные, гипнотические и другие состояния. Ю. В. Щербатых предлагает свою классификацию психических состояний, состоящую из семи постоянных и одного ситуативного компонента (Рис. 2). Более подробное объяснение данной классификации дано в (Рис.3). Исходя из данной классификации, можно вывести формулу психического состояния, состоящую из восьми компонентов. Такая формула будет иметь два варианта — в общем виде и для каждого конкретного состояния данного вида. Например, общая формула состояния страха будет следующей:
0.1/ 1.2 / 2.3 / 3.2 / 4.2 / 5.1 / 6.? / 7.2
Это означает, что страх, как правило, вызывается конкретной ситуацией (0.1), достаточно глубоко затрагивает психику человека (1.2), по знаку является отрицательной эмоцией (2.3) средней продолжительности (3.2) и вполне осознается человеком (4.2). При этом состоянии эмоции преобладают над рассудком (5.1), а вот степень активации организма может быть разной: страх может иметь активирующее значение или же лишать человека сил (6.?). Таким образом, при описании конкретного состояния человека возможны варианты 6.1 или 6.2. Последний компонент формулы — 7.2 означает, что данное состояние в равной мере реализуется как на психологическом, так и на физиологическом уровне. В рамках данной концепции формулы некоторых других психических состояний можно описать следующим образом:
Тревога: 0.2/ 1.? / 2.3 / 3.3 / 4.1 / 5.1 / 6.1 / 7.?
Любовь: 0.1/ 1.2 / 2.1 / 3.3 / 4.2 / 5.2 / 6.2 / 7.3
Утомление: 0.1/ 1.? / 2.3 / 3.2 / 4.2 / 5.- / 6.1 / 7.2
Восхищение: 0.1/ 1.2 / 2.1 / 3.2 / 4.2 / 5.2 / 6.2 / 7.3
Знак вопроса (?) означает, что состояние может принимать оба признака в зависимости от ситуации. Прочерк (-) означает, что данное состояние не содержит ни одного из перечисленных признаков (например, утомление не относится ни к рассудку, ни к эмоциям).
Состояния человека как следствие его трудовой деятельности
В психологии труда и эргономике широко используется понятие «праксические состояния» (от лат. praxis — труд). Это психические состояния, периодически возникающие в процессе труда и обусловленные его специфическими характеристиками, связанными с наличием целевого и материально-информационного обеспечения (в терминах, описывающих важнейшие условия деятельности в трехкомпонентной ее структуре: «цель — средство — результат»)[3].
В зависимости от соотношения указанных элементов деятельности (в структуре «цель — средства — результат») у человека в процессе труда возникают различные праксические состояния. Лишь при одном варианте, когда человек располагает всеми необходимыми для деятельности условиями (осознанность цели, достаточность средств, достигаемость результата), можно говорить о функциональном комфорте как благоприятном психическом состоянии. Но в реальности человек вынужден:
- a) самостоятельно формулировать конкретную цель своих действий в данных условиях (находить ее в должностных или технических инструкциях, вникать в полученную от руководителя, принимать ответственные решения и т. д.);
- b) вести самостоятельный поиск средств (и способов) деятельности, «конструировать» их или «реконструировать» имеющееся оборудование, знания, информацию применительно к конкретной производственной ситуации;
- c) добиваться положительного результата сколь угодно долго, прилагая большие усилия, работать в условиях дефицита информации об итогах своей деятельности (а в ряде случаев — даже о назначении своих действий).
Затруднение в выполнении человеком отдельных условий (a, b, c) или их комбинаций продуцирует у него одно из следующих психических (праксических) состояний[4]: психического утомления; психической напряженности; монотонии; тревожности; психологического (эмоционального) стресса; отсутствия мотивации; индифферентного состояния.
Все многообразие психических состояний человека в труде (праксических состояний) разделяют на два класса: благоприятные (мобилизующие, организующие) и неблагоприятные (дезорганизующие, деструктивные) для деятельности. Наиболее благоприятными (оптимальными) психическими состояниям в труде являются, по мнению Л. Г. Дикой и В. И. Щедрова, состояние функционального комфорта и психической напряженности (продуктивной по уровню выраженности). К неблагоприятным состояниям относятся эмоциональная возбужденность, психическая напряженность (повышенная), психическое утомление, эмоциональный стресс[5]. С. А. Дружилов к числу неблагоприятных состояний относит также состояния монотонии, тревожности, отсутствия мотивации, а также индифферентное состояние[4].
Неблагоприятные (негативные) психические состояния человека в труде, являясь следствием особенностей выполняемой трудовой деятельности и ее организации в конкретных условиях, выступают в роли индикатора недостаточной адаптации человека в его трудовой деятельности. Они свидетельствуют либо о несоответствии свойств работника требованиям профессиональной деятельности (например, его недостаточной неподготовленности), либо о несоответствии условий труда — возможностям человека (низкий уровень организации труда)[6].
Неблагоприятные состояния, которые возникают и поддерживаются изо дня в день месяцами и даже годами, негативно влияют на самочувствие работающего человека. Наличие таких состояний говорит о профессиональном неблагополучии человека и является фактором риска возникновения соматических заболеваний.
См. также
Примечания
- ↑ Левитов Николай Дмитриевич. ХРОНОС. Дата обращения: 22 января 2017. Архивировано 2 февраля 2017 года.
- 1 2 Левитов Н. Д.. О психических состояниях человека. — М.: Просвещение, 1964. — С. 20.
- ↑ Крылов А.А., Суходольский Г.В. Эргономика: учебник. — Л.: Изд-во Ленинградского гос. ун-та, 1988. — 184 с.
- 1 2 Дружилов С.А., Олещенко А.М. Психические состояния человека в труде: теоретический анализ взаимосвязей в системе «свойства личности – состояния – процессы» // Психологические исследования : электронный научный журнал. — 2014. — Т. 7, № 34. — С. 10. Архивировано 18 января 2017 года.
- ↑ Дикая Л.Г., Щедров В.И. Метод определения индивидуального стиля саморегуляции психического состояния человека // Проблемность профессиональной деятельности: теория и методы психического анализа / Л. Г. Дикая (ред.). — М.: Изд-во Института психологии РАН, 1999. — С. 106–131.
- ↑ Дружилов С.А. Профессиональное здоровье трудящихся и психологические аспекты профессиональной адаптации // Успехи современного естествознания. — 2013. — № 6. — С. 34-37. Архивировано 17 мая 2021 года.
Литература
- Психология состояний. Хрестоматия. Под ред. А. О. Прохорова. 2004
- Практикум по психологии состояний: Учебное пособие /Под ред. проф. А. О. Прохорова. 2004.
- Щербатых Ю. В. Общая психология. Учебное пособие. — СПб.: Питер, 2009
- Щербатых Ю.В., Мосина А.Н. Дифференцировка психических состояний и других психологических феноменов. //Психология психических состояний: теория и практика. Материалы I Всероссийской научно-практической конференции. Часть II. Казань: Новое знание, 2008. – С. 526-528.
- Маклаков А. Г. Психические состояния и их регуляция // Маклаков А. Г. Общая психология. — СПб.: Питер, 2000. — 592 с. — (Серия «Учебник нового века»)