Смесительная система SNG
Смесительная система SNG — комплекс оборудования, предназначенного для получения синтетического природного газа — SNG.
Системы для производства SNG низкого давления
Системы для производства SNG низкого давления с использованием Трубки Вентури
Смесительная система для производства SNG низкого давления может включать в себя ёмкости для хранения запаса СУГ с системой заправки, насос или компрессор, испарительную установку, смесительную установку ре- сивер (ёмкость для смешения), систему аварийного выключения, газоанализаторы и систему пожаротушения.
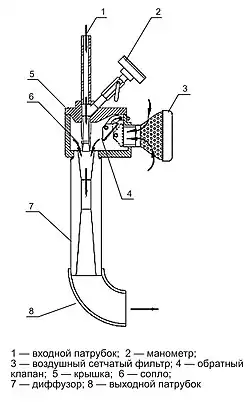
Смешение газа производится с использованием Трубки Вентури.


Максимальное давление на выходе, которого можно добиться с помощью данной системы — 0,05 МПа. Производительность одной «трубки Вентури» зависит от завода-изготовителя, и варьируется в широких пределах — от 80 до 1400 м3/час. При необходимости получения смесительной системы большей производительности устанавливают необходимое количество технологических линий с трубками Вентури, выходы из которых сводят в единый выходной коллектор. Так как «трубка Вентури» — устройство механическое, она имеет фиксированную производительность. Это значит, что при работе смесительной системы низкого давления независимо от расхода одна из технологических линий будет постоянно включаться и выключаться. Включение и выключение технологических линий осуществляется электромагнитными клапанами, управляемыми контроллером, считывающим данные с датчика давления на выходе, установленном в ресивере. Каждая технологическая линия с трубкой Вентури включает в себя ряд механических и электромеханических устройств (электромагнитные клапаны, регуляторы давления, обратные клапаны и т. д.), которые имеют ограниченный рабочий ресурс. Как правило, рабочий ресурс электромагнитных клапанов находится между 200 000 и 1 000 000 циклов.

Рабочий ресурс обратных клапанов и регуляторов (в зависимости от типа) находится в среднем где-то между 100 000 и 300 000 циклов. Если учесть, что включение-выключение происходит три-четыре раза каждую минуту, предел в 100 000 циклов может быть достигнут менее чем через 500 часов работы. Это достаточно важно: в случае если смесительная система низкого давления используется в качестве резервного питания, то особой проблемы нет. В этом случае она будет задействована один или два раза в год (или в несколько лет). Но если система предназначена для ежедневной работы в качестве основного источника газоснабжения (используемого постоянно, 24 часа в сутки 7 дней в неделю), нужно быть готовым к тому, что после износа входящих в состав технологической линии устройств нужно будет произвести их замену, стоимость которой должна быть включена в стоимость эксплуатации. Независимо от количества технологических линий в составе смесительной системы эксплуатационные затраты на замену и ремонт оборудования будет примерно одинаковые, так как циклы включений/выключений постоянно производятся только на одной технологической линии.
Системы для производства SNG низкого давления с использованием клапана «Consta-Mix»

Кроме систем, использующих для смешения Трубку Вентури, существуют смесительные системы для получения SNG низкого давления и газовоздушных смесей (природный газ/воздух), использующие смесительный клапан «Consta-Mix». Он работает следующим образом: воздух поступает через фильтрующий элемент и входной патрубок в воздушную камеру, откуда попадает в смесительную камеру. Газ поступает в клапан через входной патрубок, далее через седло газового клапана и через байпас также попадает в смесительную камеру. Состав смеси регулируется механически, импульс управляющего давления попадает через импульсную трубку в надмембранное пространство над мембраной, которая перемещает шток с воздушным клапаном и газовым клапаном. Количество газа, проходящего через байпас, определяется положением компенсатора, который закрывает байпас при перемещении штока вниз.
Системы для производства SNG высокого давления
Регулирование условных проходов трубопроводов с помощью электромагнитных клапанов
Смесительные установки для получения SNG высокого давления являются значительно более сложными системами и производятся по индивидуальным заказам, в зависимости от конкретных технических и эксплуатационных условий. Комплекс может включать в себя ёмкости для хранения запаса СУГ, заправочную систему, позволяющую разгружать автомашины с СУГ, насос или компрессор, испарительную установку, смесительную установку, ресивер-сепаратор, фильтр для СУГ, компрессор для подачи воздуха, воздушный фильтр, калориметр, факельную установку, систему газоанализаторов, систему пожаротушения, контрольную панель с автоматикой безопасности и системой автоматического отключения. Применяемые сегодня производителями смесительных систем высокого давления методы смешения воздуха с газом можно разделить на три вида:

Регулирование условных проходов трубопроводов с помощью электромагнитных клапанов. Это самый простой и наиболее дешевый метод, при котором на подающих трубопроводах установлены электромагнитные клапаны, изменяющие свои степени открытия. Смешение газа с воздухом при этом производится в ресивере, которым часто выступает выходной трубопровод. Этот метод обычно используется в смесительных системах китайского и корейского производства. Количество воздуха и газа, поступающего в систему, измеряется расходомерами, а работой клапанов управляет электронный контроллер. Преимуществами данной системы являются относительно невысокая стоимость, возможность иметь разное давление воздуха и газа в подводящих трубопроводах, возможность интегрировать управляющий системой контроллер в системы управления технологических процессов. Недостатки у этого метода также имеются. Так как каждое изменение условного прохода трубопроводов влечет за собой изменение отношения смешения газа и воздуха, теплотворная способность SNG на выходе меняется. Следовательно, для лучшего контроля теплотворной способности SNG желательно устанавливать газоанализатор, используя его выходные сигналы для окончательной регулировки отношения смешения. В случаях, когда потребление SNG меняется, вся система будет постоянно находится в движении. При подобном подходе, когда процессом смешения полностью управляет электронный контроллер, для любой регулировки системы или исправления неисправностей желательна возможность удаленного подключения обслуживающего персонала. В противном случае оперативная наладка системы может представлять собой серьёзную проблему. Смесители данного типа страдают от загрязнения расходомеров, которые генерируют управляющий сигнал для управления клапанами. В них обычно используются вихревые расходомеры, требующие регулярной калибровки в условиях поверочной лаборатории, что влечет за собой их снятие с системы (или замену на период поверки). Вихревые расходомеры иногда могут давать некорректные результаты под воздействием неизбежных для работы смесительных систем вибраций. Ключевой проблемой использования расходомеров в данных системах является то, что независимо от того, работает расходомер идеально, не работает вообще или работает некорректно, он дает на выходе управляющий сигнал, на основании которого система производит смешение SNG. В случае отсутствия в системе газоанализатора/калориметра и некорректной работы расходомеров возможна подача SNG, не соответствующего требуемым параметрам. Данный метод смешения также не годится для систем, в которых происходит существенное изменение расход газа, например в печах для варки стекла. Поскольку газоанализаторы дают данные с большой задержкой (иногда до нескольких минут), то при столь резких изменениях расхода состав смеси сильно сбивается при попытках управления только условными проходами с помощью данных, поступающих от расходомеров.
Регулирование условных проходов с помощью POM-смесителя (РОМ-блендера)
Опционально POM-блендер также может быть оснащен автоматическим приводом/позиционером, меняющим соотношение смеси. Принцип работы POM-блендера следующий: пары СУГ поступают в смеситель на входе 1, сжатый воздух — на входе 2. Давление перед смесителем в обоих трубопроводах должно быть одинаковым. После смешения образовавшаяся смесь поступает на выход, откуда поступает в ресивер, где досмешивается. При падении расхода до нуля, поршень под собственным весом опускается вниз, перекрывая входы 1 и 2 и выход.

При возникновении расхода больше нулевого, давление на выходе незначительно падает. Это изменение давления передается через поршень в камеру над поршнем. Давление на входе 1 (пары СУГ) оказывается больше. Поскольку вход соединен через специальную импульсную трубку, проточенную внутри корпуса смесителя, с камерой под поршнем, давление в данной камере также оказывается выше, чем в камере над ним. Как только разница давлений в этих двух камерах окажется достаточной, чтобы преодолеть вес поршня, он поднимется и откроет входы 1 и 2 и выход из блендера. Когда расход SNG на выходе постоянен или меняется в небольшом диапазоне, поршень будет «плавать» вверх-вниз, частично изменяя сечение входов 1 и 2. Регулировка соотношения газовоздушной смеси осуществляется следующим образом: поршень продолжает специальный вырез (регулирующий сегмент) для регулировки соотношения газов. Его края соответствуют краям вырезов входов 1 и 2. При положении поршня (соответственно и регулирующего сегмента), условный проход входов 1 и 2 одинаков. Чтобы изменить его и добиться нужного соотношения газа и воздуха, необходимо повернуть поршень за шток относительно корпуса. При этом регулирующий сегмент будет уменьшать условный проход в нужном входе (во входе 2 — если поворачиваем по часовой стрелке, во входе 1 — если поворачиваем против часовой стрелки). Условный проход другого входа остается неизменным, что влечет за собой изменение состава SNG на выходе.
Регулирование условных проходов с помощью смесителя Blendaire
Конструкция смесителя Blendaire напоминает POM-блендер. Главное отличие — автоматическое управление поворотом поршня с помощью привода/позиционера. Поршень имеет сходную с POM-блендером конструкцию, но не совершает движения вдоль своей оси. При данном методе

используется другой способ компенсации изменений расхода SNG — путём воздействия с помощью импульсов из выходного трубопровода на регуляторы давления. Воздух и газ подаются в смесительную установку каждый через свой входной патрубок и, проходя через регуляторы давления воздуха и газа соответственно, оказываются в смесительной камере. Для нормальной работы смесительной системы, как и при предыдущем методе, очень важно иметь равное и постоянное давление воздуха и газа после регуляторов, так как только в этом случае смесь будет иметь постоянный состав. Давление газа и воздуха после регуляторов может варьироваться в интервале от 1,0 до 1,7 МПа. Для контроля теплотворной способности после смесителя устанавливается калориметр, который контролирует состав готовой смеси. Управляет автоматическим регулированием системы контроллер, который в случае необходимости оказывает управляющее воздействие, поворачивая поршень смесительной камеры в нужную сторону при необходимости изменения в смеси процентного соотношения воздуха и паровой фазы СУГ. Кроме всего прочего, смесительные установки оснащены системой автоматического контроля необходимых технологических параметров с выводом на пульт дистанционного управления. Этот метод хорош при использовании СУГ разного состава (меняющего теплотворную способность), и сочетает плюсы двух первых систем. К минусам можно отнести относительно высокую стоимость, несколько большую сложность системы управления, чем применяется в POM-блендере, и необходимость дополнительного приобретения калориметра.
Выбор между системой низкого и высокого давления
Несмотря на относительно более высокую стоимость, системы высокого давления имеют ряд преимуществ перед смесителями на базе Трубки Вентури: они требуют гораздо меньше обслуживания, не имеют постоянно работающих элементов (движущихся частей). Отдельная проблема — коррекция соотношения смеси воздуха и СУГ в случае изменения состава пропанбутановой смеси. В системах низкого давления при изменении состава СУГ необходимо вручную вносить изменения в настройки регуляторов давления на каждой технологической линии, что может быть затруднительно в случае их большого количества. В смесителе Blendiare или с помощью электромагнитных клапанов это сделать гораздо проще, да и ручная настройка POM- блендера не представляет особых проблем. Системы высокого давления тише работают. Трубки Вентури при работе издают характерный высокий звук всасываемого воздуха (похожего на работу автомобильного двигателя без воздушного фильтра). Главный недостаток систем высокого давления, кроме цены — необходимость в компрессоре (тоже довольно шумном) для обеспечения сжатого воздуха. Что касается сравнения цены, то в общем действует следующее правило: системы на основе Трубок Вентури стоят дешевле при производительности до 2500 м3/час. В случае, когда SNG нужно больше 2500 м3/час, дешевле стоят системы высокого давления. Хотя данное правило грубо и работает, необходимо тем не менее сравнивать не стоимость отдельных смесительных систем, а целиком стоимость решения для заказчика. Сделать это можно только исходя из конкретных технических условий.
Мобильные генераторы SNG

Подобные изделия являются уникальными и изготавливаются под конкретные запросы заказчиков. Главное их предназначение — это обеспечение надежного и безаварийного газоснабжения. Мобильная установка располагается в транспортируемом здании контейнерного типа на шасси прицепа. Она совмещает в себе испарительную и смесительную системы и способна генерировать синтетический природный газ в объёме порядка 1400 м3/ч. Установка требует подключения к существующей газораспределительной сети, обеспечивая выходное давление 0,002 МПа и 0,3 МПа, что позволяет подключать её к сетям как низкого, так и среднего давления. Данный вид смесительной системы является полностью автономной и нуждается только в снабжении необходимым количеством жидкой фазы СУГ.
Ссылки
Литература
- Оборудование для сжиженных углеводородных газов: Справочник, 1-е изд./ под. ред. Е. А. Карякина — Саратов: Газовик, 2015. — 455 с. ISBN 978-5-9758-1552-1
- С. В. Зубков, Е. А. Карякин, А. С. Поляков: Газоснабжение без перерыров// Газ России — 2014, № 1.
- С. В. Зубков, А. А. Трофимов: Использование СУГ в создании синтетического природного газа// Факел — 2013, № 4.
- Е. А. Карякин, С. В. Соколов: Оборудование использующее СУГ в качестве основного или резервного источника газоснабжения// Факел — 2013, № 2-3.