Электроклассификация

Электроклассифика́ция сыпучих материалов — технологическая операция, которая, как правило, осуществляется в коронных камерных сепараторах.

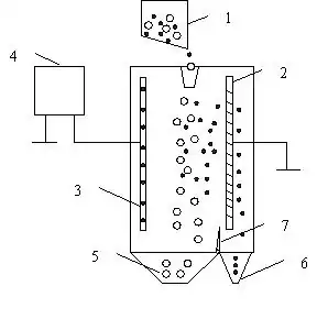
Принципиальная схема электроклассификации полезных ископаемых: 1 — бункер питания; 2 — осаживающий электрод; 3 — коронирующий электрод; 4 — источник высокого электрического напряжения; 5 — приёмник зернистой фракции; 6 — приёмник тонкой фракции 7 — Шибер

Сепарируемый сухой материал подаётся вертикально в межэлектродное пространство. При подаче напряжения на электроды между коронирующим и осаживающим электродами возникает поток заряженных ионов воздуха, так называемый «электронный ветер», который перемещается в горизонтальном направлении перпендикулярно падающим частичкам. Тонкие частички захватываются потоком ионов и перемещаются к осаживающему электроду, представляющему собой жалюзи или сетку. Крупные частички падают вертикально, практически не отклоняясь. Тонкий и зернистый материал разгружается в соответствующие приёмники.

Литература

  • Малая горная энциклопедия. В 3 т. = Мала гірнича енциклопедія / (На укр. яз.). Под ред. В. С. Белецкого. — Донецк: Донбасс, 2004. — ISBN 966-7804-14-3.