Кирпич

Керамический кирпич
Стена из силикатных кирпичей

Кирпи́ч — строительный материал в виде искусственного камня, изготовленного из пластичной минеральной смеси. Из глиносодержащей смеси изготавливают керамический и сырцовый кирпич, из известково-песчаной — кирпич силикатный[1].

Этимология

Слово «кирпич» заимствовано из тюркских языков[2], например, тур. kirpiǯ, тат. kirpič / кирпич, азерб. kärpχič[3][4]. До кирпича в Европе и на Руси использовалась плинфа (например, при посещении Иваном Грозным недостроенного Софийского собора в Вологде на него упала плинфа: «как из своду туповатова упадала плинфа красная»). «Плинфа» — тонкая и широкая прямоугольная глиняная пластина, толщиной примерно 2,5 см. Изготавливалась в специальных деревянных формах. Плинфа сушилась 10—14 дней, затем её обжигали в печи. На многих плинфах находят клейма, которые считаются клеймами изготовителя.

История

Изготовление кирпичей в Древнем Египте. Копия росписи из гробницы Рехмира, XV век до н. э.

Древний Ближний Восток

В памятнике докерамического неолита IX тысячелетия до н. э. Немрик (Северный Ирак, окрестности Мосула) была обнаружена кладка из разнообразных по форме блоков высушенной на солнце глины, что можно рассматривать как древнейшее свидетельство использования кирпича-сырца. В слоях VIII тысячелетия того же памятника обнаружена стена уже из однотипных кирпичей со средним размером 51х12х6 см. Сформированные руками и высушенные на солнце кирпичи встречаются в поселениях вдоль долины Ефрата начиная с VII тыс. до н. э. В VI тысячелетии до н. э. применение формованного необожжённого кирпича широко засвидетельствовано для самаррской, хассунской, халафской, убейдской (Убейд I) культур. Наряду с цельными кирпичами применялись кирпичи с наполнителем из рубленной соломы[5].

В Урукский период в середине IV тыс. до н. э. в южной Месопотамии появляются первые свидетельства применения обожжённого кирпича. Сырцовый кирпич разрушается при увлажнении, относительно высокий уровень осадков и высокий уровень грунтовых вод в регионе, а также отсутствие источников камня, могут объяснить появление обожжённого кирпича именно здесь. В Урукский период керамический кирпич применялся для строительства зданий в городе Эреду и мощения улиц в Уре. У шумеров производство кирпича носило сезонный характер, сушка кирпича-сырца и предварительная сушка перед обжигом для керамического кирпича были возможны в период с середины марта по середину октября. Сырцовый кирпич производился вблизи источников сырья, обожжённый — поблизости от места строительства. В качестве топлива при обжиге использовался высушенный навоз. На кирпичи наносилась клинописная маркировка, вручную или с помощью штампов[5]. В правление Навуходоносора производство керамического кирпича в Месопотамии достигло своего пика[6].

Применение необожжённого кирпича в Древнем Египте зафиксировано начиная с раннего/среднего додинастического периода в нижнем и верхнем Египте[7]. Кирпич-сырец оставался основным строительным материалом для возведения абсолютного большинства жилых зданий от царских дворцов до хижин крестьян на протяжении всей истории Древнего Египта. Обожжённый кирпич использовался сравнительно редко для мощения полов и возведения стен начиная с эпохи Среднего Царства вплоть до начала Римского периода. Основным источником сырья для изготовления сырцовых и керамических кирпичей служил нильский аллювий[8].

Эллинистическая Европа

Городские стены Вавилона, построенные полностью из обожжённого кирпича, были популярным образом в древнегреческой и римской литературе: они упомянуты у Геродота и Аристофана в «Птицах». Тем не менее, не существует свидетельств применения обожжённого кирпича в греко-римском мире в архаический и классический периоды[6]. Появление обожжённого кирпича в Европе следует считать результатом независимого освоения технологии в эллинистическую эпоху. Самое западное свидетельство существование ближневосточной традиции использования обожжённого кирпича — городские стены Сарды воздвигнуты в последней четверти VII века до н. э. Значительный хронологический разрыв между этими постройками и древнейшими находками керамического кирпича в Европе говорит против заимствования технологии из Месопотамии[6].

Древнейшие свидетельства применения керамического кирпича в Европе обнаружены на северных побережьях Эгейского моря и датируются серединой IV в. до н. э. На протяжении нескольких столетий до раннего имперского периода применение обожжённого кирпича носит спорадический характер. Это, вероятно, связано с относительно высокой стоимостью его изготовления и доступностью пригодного для строительства камня в регионе. Близкая технология изготовления керамической черепицы имела гораздо более широкое распространение уже начиная с VII в. до. н. э. В ранний период кирпич применялся чаще всего (до 75 % находок) в контексте погребальных сооружений[6]. Это связывают с тем, что штукатурка, на которой выполнялись росписи в интерьерах гробниц, лучше удерживается на кирпичной кладке, чем на каменной, а сам кирпич более гигроскопичен, что должно было способствовать сохранению фресок в условиях сырых подземных или заглублённых сооружений[9]. В течение IV—III веков до н. э. происходит распространение керамического кирпича из Эгейского региона на Сицилию и в Калабрию, а также вдоль эгейского и ионического побережий Балканского полуострова. В середине II в до н. э. наблюдается почти полное угасание технологии, но через территорию современной Албании (Диррахиум) она мигрирует в Северную Италию, которая становится важнейшим регионом производства обожжённого кирпича до конца I в до н. э. Основные центры на севере Италии: Аквилея, Аримин, Плацентия, Regium Lepidi. Во II—I столетии до н. э. керамический кирпич всё чаще начинает применяться для военных и гражданских построек. Для всего описанного периода отсутствуют свидетельства применения обожжённого кирпича в крупнейших городах: Афинах и Риме[6].

Римская империя

С первой половины I в до н. э. в Кампании, а затем в Риме развивается практика использования черепицы, расколотой на несколько треугольных кусков для создания кирпичной кладки. Таким образом выполнена кладка стен целлы и коридоров гробницы Цецилии Метеллы — один из древнейших образцов кирпичной кладки в Риме. Помимо декоративной функции такая кладка выполняла роль несъёмной опалубки. Практика использования колотой черепицы сохраняется до середины I в. н. э. параллельно с использованием специально изготовленного кирпича и, возможно, объясняет тот факт, что римские кирпичи заметно тоньше кирпичей, изготавливавшихся в эллинистическую эпоху. Уже после смерти Августа в Риме развивается производство треугольных кирпичей для использования в отделке бетонных стен[10].

С I в. н. э. в Риме начинается массовое производство стандартизованного обожжённого кирпича, отсюда он быстро распространяется по всей территории империи[6].

Форма кирпичей в Древнем Риме варьировалась, использовались в том числе прямоугольные, треугольные и круглые в плане кирпичи[11], прямоугольные плиты кирпича радиально разрезали на 6—8 частей, что позволяло из получившихся треугольных кусков класть более прочную и фигурную кладку.

Средние Века и Новое время

Стандартный обожжённый кирпич использовался на Руси с конца XV века. Ярким примером стало строительство стен и храмов Московского Кремля во времена Иоанна III, которым заведовали итальянские мастера. «… и кирпичную печь устроили за Андрониковым монастырем, в Калитникове, в чём ожигать кирпич и как делать, нашего Русского кирпича уже да продолговатее и твёрже, когда его нужно ломать, то водой размачивают. Известь же густо мотыками повелели мешать, как на утро засохнет, то и ножём невозможно расколупить».

Привычный же нам кирпич прямоугольной формы (его удобней было держать в руке) появился в Англии в XVI веке[12].

В коллекции кирпичей (англ. American Brick Collection), подаренной в 1994 году Рэймондом Чейзом Национальному музею строительства (англ. National Building Museum) в Вашингтоне, содержится 1800 различных кирпичей, произведённых в США в конце XIX — начале XX века и отмеченных клеймом производителя[13][14].

Деревянная форма для формовки кирпича вручную. Середина ΧΧ века, Витебская обл.

До XIX века техника производства кирпичей оставалась примитивной и трудоёмкой. Формовали кирпичи вручную, сушили исключительно летом, а обжигали в напольных печах-времянках, выложенных из высушенного кирпича-сырца. В середине XIX века были изобретены кольцевая обжиговая печь и ленточный пресс, обусловившие переворот в технике производства. В конце XIX века стали строить сушилки. В это же время появились глинообрабатывающие машины: бегуны, вальцы, глиномялки.

В наше время более 80 % всего кирпича производят предприятия круглогодичного действия, среди которых имеются крупные механизированные заводы, производительностью свыше 200 млн штук в год.

Клейма

Образцы кирпичей Соловецкого монастыря, 1420—1430 годы
Клеймованные кирпичи. Одесса, конец XIX — начало XX века

Клеймо на кирпиче ставит завод-изготовитель. В старину производили кирпич ручной формовки. Старинный кирпич имеет различные клейма. Они могут быть выполнены в виде символов или букв. Как правило, это сокращение инициалов хозяина завода. При строительстве казённых предприятий завод, выигравший поставку, мог ставить клеймо в виде двуглавого орла. Такой старинный кирпич в народе получил название «имперский кирпич». В Санкт-Петербурге встречается самое большое количество различных клейм. На кирпичах можно встретить клеймо в виде ключа, короны, орла, якоря, подковы, названий рек, городов, различных фамилий. На заводе клеймо могло видоизменяться. Зачастую заводы переходили от одного собственника к другому. Поэтому один и тот же завод мог за свою историю выпускать разнообразные клейма. Известны случаи, когда кирпичный завод переходил от отца к сыну и клеймо видоизменялось с сохранением фамилии, но изменением дизайна. Одним из самых известных заводов, выпускавших кирпичи с клеймом, был завод купцов Стрелиных.

Современное кирпичное производство ставит клейма на различных поверхностях кирпича (ложок, тычок, постель). В прошлых веках клеймо ставили в основном на постель.

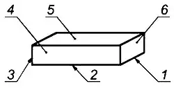
Описание

1. Ширина, 2. Длина, 3. Толщина, 4. Ложок, 5. Постель, 6. Тычок

Самая большая по площади сторона кирпича называется постель, боковая длинная — ложок, боковая короткая — тычок[1].

Размеры

Существуют разные стандарты размеров кирпича. В России и на постсоветском пространстве основным стандартом считается 250×120×65 мм. Такой же размер применяется и в Германии. В Великобритании стандартный кирпич имеет размеры 215×102,5×65 мм.

Выделяют 2 основных типа кирпичей: керамические (ГОСТ 530—2012) и силикатные (ГОСТ 379—2015).

В России кирпичи единого стандарта (нормального формата — НФ[15]) появились в 1927 году. Одним из первых общесоюзных стандартов на кирпич был ОСТ 90035-39. Нормальный формат имеет габаритные размеры 250×120×65 мм. Наименования остальных размеров являются производными от НФ:

  • 1 НФ (одинарный) — 250×120×65 мм;
  • 1.4 НФ (полуторный) — 250×120×88 мм;
  • 2.1 НФ (двойной) — 250×120×138 мм.

Изделия номинального размера 2.1 НФ и более называются керамическими камнями, размеры типовых моделей согласно ГОСТ 530—2012:

  • 4.5 — 250×250×140 мм;
  • 6.8 — 380×250×140 мм;
  • 6.0 — 250×250×188 мм[16].

Неполномерный (часть):

  • 3/4 — 180 мм;
  • 1/2 — 120 мм;
  • 1/4 — 60—65 мм.
Масса

Масса кирпичей зависит в первую очередь от класса плотности изделия, всего выделяют 7 классов для керамического и силикатного кирпича.

Формула расчета массы: a*b*c*p, где первые 3 параметра — длина, ширина и толщина, p — общая плотность изделия.

Ориентировочная масса керамических кирпичей (ГОСТ 530—2012):

  • полнотелый 250×120×65 мм (2 класс плотности): 3.315..3.705 кг;
  • пустотелый 250×120×65 мм (1.4 класс плотности): 2.34..2.73 кг;
  • полнотелый 250×120×88 мм (2 класс плотности): 4.488..5.016 кг;
  • пустотелый 250×120×88 мм (1.4 класс плотности): 3.168..3.696 кг;
  • полнотелый 250×120×140 мм (2 класс плотности): 7.038..7.866 кг;
  • пустотелый 250×120×140 мм (1.4 класс плотности): 4.968..5.796 кг[17].

Виды кирпича по материалу

Керамический кирпич

Керамический кирпич обычно применяется для возведения несущих и самонесущих стен и перегородок, одноэтажных и многоэтажных зданий и сооружений, внутренних перегородок, заполнения пустот в монолитно-бетонных конструкциях, кладки фундаментов, внутренней части дымовых труб, промышленных и бытовых печей.

Керамический кирпич подразделяется на рядовой и лицевой. Лицевой кирпич изготавливается по специальной технологии, которая придаёт ему массу преимуществ. Лицевой кирпич должен быть не только красивым, но и надёжным. Облицовочный кирпич обычно применяется при возведении новых зданий, но также с успехом может быть использован и в различных реставрационных работах. Его используют при облицовке цоколей здaний, стен, заборов, для внутреннего дизайна.

Преимущества керамического рядового кирпича
  • Прочен и износостоек. Керамический кирпич обладает высокой морозостойкостью, что подтверждается многолетним опытом его применения в строительстве.
  • Хорошая звукоизоляция — стены из керамического кирпича, как правило, соответствуют требованиям [СП] 51.13330.2011 «Защита от шума».
  • Низкое влагопоглощение (менее 14 %, а для клинкерного кирпича этот показатель может достигать 3 %) — Более того, керамический кирпич быстро высыхает.
  • Экологичность Керамический кирпич изготовлен из экологически чистого натурального сырья — глины, по технологии, знакомой человечеству десятки веков. Во время эксплуатации построенных из него зданий, красный кирпич не выделяет вредных для человека веществ, таких как газ радон.
  • Устойчивость почти ко всем климатическим условиям, что позволяет сохранять надёжность и внешний вид.
  • Высокая прочность (15 МПа и выше — 150 атм).
  • Высокая плотность (1950 кг/м³, до 2000 кг/м³ при ручной формовке).
Преимущества керамического облицовочного кирпича
  • Морозостойкость. Облицовочный кирпич обладает высокой морозостойкостью, а для северного климата это особенно важно. Морозостойкость кирпича является наряду с прочностью важнейшим показателем его долговечности. Керамический облицовочный кирпич идеально подходит для российского климата.
  • Прочность и устойчивость. Благодаря высокой прочности и малому объёму пористости кладка, возводимая из облицовочных изделий, отличается высокой прочностью и поразительной устойчивостью к воздействию окружающей среды.
  • Различная фактура и цветовая гамма. Диапазон различных форм и цветов облицовочного кирпича даёт возможность создания имитации старинных построек при возведении современного дома, а также позволит возместить утраченные фрагменты фасадов старинных особняков.
Недостатки
  • Высокая цена. В связи с тем, что керамический кирпич требует несколько этапов обработки, его цена довольно высокая, по сравнению с ценой силикатного кирпича.
  • Возможность появления высолов. В отличие от силикатного кирпича, керамический кирпич «требует» качественный раствор, в противном случае могут появляться высолы.
  • Необходимость приобретать весь требуемый облицовочный кирпич из одной партии. Если облицовочный керамический кирпич приобретается из разных партий, могут возникнуть проблемы с тоном.

Технология производства

Необходимо создание условий для обеспечения основных параметров производства:

  • постоянного или среднего состава глины;
  • равномерной работы производства.

В кирпичном производстве результата добиваются только после длительных экспериментов с режимами сушки и обжига. Эта работа должна проводиться при постоянных основных параметрах производства.

Глина
Глинозапасник (промежуточный склад глины) на Зарайском кирпичном заводе

Хороший (лицевой) керамический кирпич производится из глины, добытой мелкой фракцией с постоянным составом минералов. Месторождения с однородным составом минералов и многометровым слоем глины, пригодным для добычи одноковшовым экскаватором, очень редки и почти все разработаны.

Большинство месторождений содержит многослойную глину, поэтому лучшими механизмами, способными при добыче делать глину среднего состава, считаются многоковшовый и роторный экскаваторы. При работе они срезают глину по высоте забоя, измельчают её, и при смешивании получается средний состав. Другие типы экскаваторов не смешивают глину, а добывают её глыбами.

Постоянный или средний состав глины необходим для подбора постоянных режимов сушки и обжига. Для каждого состава нужен свой режим сушки и обжига. Один раз подобранные режимы позволяют получать высококачественный кирпич из сушилки и печи годами.

Качественный и количественный состав месторождения выясняется в результате разведки месторождения. Только разведка выясняет минеральный состав: какие суглинки пылеватые, глины легкоплавкие, глины тугоплавкие и т. д. содержатся в месторождении.

Лучшими глинами для производства кирпича считаются те глины, которые не требуют добавок. Для производства кирпича обычно используется глина, непригодная для других керамических изделий.

Сушилки камерные

Сушилки загружаются кирпичом полностью, и в них постепенно изменяется температура и влажность по всему объёму сушилки, в соответствии с заданной кривой сушки изделий.

Сушилки туннельные

Сушилки загружаются постепенно и равномерно. Вагонетки с кирпичом продвигаются через сушилку и проходят последовательно зоны с разной температурой и влажностью. Туннельные сушилки лучше всего применять для сушки кирпича из сырья среднего состава. Применяются при производстве однотипных изделий строительной керамики. Очень хорошо «держат» режим сушки при постоянной и равномерной загрузке кирпича-сырца.

Процесс сушки

Глина — это смесь минералов, состоящая по массе более чем на 50 % из частиц до 0,01 мм. К тонким глинам относятся частицы менее 0,2 мкм, к средним 0,2—0,5 мкм и крупнозернистым 0,5—2 мкм. В объёме кирпича-сырца есть множество капилляров сложной конфигурации и разных размеров, образованных глинистыми частицами при формовке.

Глины дают с водой массу, которая после высыхания сохраняет форму, а после обжига приобретает свойства камня. Пластичность объясняется проникновением воды, хорошей природной смазки, между отдельными частицами минералов глины. Свойства глины с водой важны при формовке и сушке кирпича, а химический состав определяет свойства изделий во время обжига и после обжига.

Чувствительность глины к сушке зависит от процентного соотношения «глинистых» и «песчаных» частиц. Чем больше в глине «глинистых» частиц, тем труднее удалить воду из кирпича-сырца без образования трещин при сушке и тем больше прочность кирпича после обжига. Пригодность глины для производства кирпича определяется лабораторными испытаниями.

Если в начале сушилки в сырце образуется много паров воды, то их давление может превысить предел прочности сырца и появится трещина. Поэтому температура в первой зоне сушилки должна быть такой, чтобы давление паров воды не разрушало сырец. В третьей зоне сушилки прочность сырца достаточна для повышения температуры и увеличения скорости сушки.

Режимные характеристики сушки изделий на заводах зависят от свойств сырья и конфигурации изделий. Существующие на заводах режимы сушки нельзя рассматривать как неизменные и оптимальные. Практика многих заводов показывает, что длительность сушки можно значительно сокращать, пользуясь методами ускорения внешней и внутренней диффузии влаги в изделиях.

Кроме того, нельзя не учитывать свойства глиняного сырья конкретного месторождения. Именно в этом и заключается задача заводских технологов. Нужно подобрать такую производительность линии формовки кирпича и режимы работы сушилки кирпича, при которых обеспечивается высокое качество сырца при максимально достижимой производительности кирпичного завода.

Процесс обжига

Глина представляет смесь легкоплавких и тугоплавких минералов. При обжиге легкоплавкие минералы связывают и частично растворяют тугоплавкие минералы. Структура и прочность кирпича после обжига определяется процентным соотношением легкоплавких и тугоплавких минералов, температурой и продолжительностью обжига.

В процессе обжига керамического кирпича легкоплавкие минералы образуют стекловидную, а тугоплавкие кристаллическую фазы. С повышением температуры всё более тугоплавкие минералы переходят в расплав, возрастает содержание стеклофазы. С увеличением содержания стеклофазы повышается морозостойкость и снижается прочность керамического кирпича.

При увеличении длительности обжига возрастает процесс диффузии между стекловидной и кристаллической фазами. В местах диффузии возникают большие механические напряжения, так как коэффициент термического расширения тугоплавких минералов больше коэффициента термического расширения легкоплавких минералов, что и приводит к резкому снижению прочности.

После обжига при температуре 950—1050 °C доля стекловидной фазы в керамическом кирпиче должна составлять не более 8—10 %. В процессе обжига подбираются такие температурные режимы обжига и продолжительность обжига, чтобы все эти сложные физико-химические процессы обеспечивали максимальную прочность керамического кирпича.

См. также

Примечания

  1. 1 2 БРЭ, 2009.
  2. Кирпич // Этимологический словарь русского языка = Russisches etymologisches Wörterbuch : в 4 т. / авт.-сост. М. Фасмер ; пер. с нем. и доп. чл.кор. АН СССР О. Н. Трубачёва. — Изд. 2-е, стер. М. : Прогресс, 1986. — Т. II : Е — Муж. — С. 238.
  3. Кирпич. Этимологический онлайн-словарь русского языка Макса Фасмера. ΛΓΩ. Дата обращения: 10 февраля 2020. Архивировано 18 апреля 2021 года.
  4. Кирпич. Этимологический онлайн-словарь русского языка Крылова Г. А.. ΛΓΩ. Дата обращения: 10 февраля 2020. Архивировано 20 сентября 2020 года.
  5. 1 2 Hnaihen, K.H. The Appearance of Bricks in Ancient Mesopotamia (англ.) // Athens Journal of History. — 2020. Vol. 6, iss. 1. P. 73—96. ISSN 2407-9677. doi:10.30958/ajhis.6-1-4. Архивировано 6 октября 2021 года.
  6. 1 2 3 4 5 6 Östborn, P., Gerding, H. The Diffusion of Fired Bricks in Hellenistic Europe: A Similarity Network Analysis (англ.) // J Archaeol Method Theory. — 2015. Vol. 22. P. 306–344. ISSN 1573-7764. doi:10.1007/s10816-014-9229-4. Архивировано 28 января 2024 года.
  7. Debowska-Ludwin, J, Rosinska-Balik, J. “Another Brick in the Wall” or How to Build an Ancient Egyptian House (англ.) // The chaîne opératoire: Past, present and future. Archaeological Review from Cambridge. — 2020. Vol. 35.1. P. 57—73. [ Архивировано] 12 июля 2024 года.
  8. Morgenstein, M. E., Redmount, C. A. Mudbrick Typology, Sources, and Sedimentological Composition: A Case Study from Tell el-Muqdam, Egyptian Delta (англ.) // Journal of the American Research Center in Egypt. — 1998. Vol. 35. P. 129—146. doi:10.2307/40000466. Архивировано 23 сентября 2023 года.
  9. Gerding, H. Early use of fired brick in Hellenistic and Roman architecture (англ.) // Acta of the XVIth International Congress of Classical Archaeology, Boston, 2003. — 2006. P. 355–358. Архивировано 18 августа 2024 года.
  10. Gerding, H. [https://lup.lub.lu.se/search/publication/20448 The tomb of Caecilia Metella: tumulus, tropaeum and thymele [Doctoral Thesis (monograph), Classical archaeology and ancient history]] (англ.). — 2002. — ISBN 91-628-5342-2. Архивировано 18 августа 2024 года.
  11. Peet, Stephen Denison. The American Antiquarian and Oriental Journal, (Google Books Архивная копия от 4 апреля 2015 на Wayback Machine), Jameson & Morse [etc.]: 1911, с. 35-36.
  12. д/ф «История кирпича» из серии Грандиозные изобретения канала 24Techno
  13. American Brick Collection. Gift of Raymond Chase (англ.). National Building Museum. Дата обращения: 27 марта 2017. Архивировано 30 марта 2017 года.
  14. Elif Sungur. Cityscapes Revealed: Highlights from the Collection (англ.). Dexigner (6 февраля 2006). Дата обращения: 27 марта 2017. Архивировано из оригинала 30 марта 2017 года.
  15. ГОСТ 530-2012, 2013.
  16. Таблица размеров кирпичей согласно нормативам. Дата обращения: 31 октября 2021. Архивировано 31 октября 2021 года.
  17. Таблица массы кирпичей и плотность классов. Дата обращения: 25 июня 2018. Архивировано 25 июня 2018 года.
  18. В. Г. Киреев, В. В. Лукьяненко, Б. Г. Печеный. Перспективы производства и применения гиперпрессованного облицовочного кирпича (PDF). Северо-Кавказский Государственный Технический Университет (2004). Дата обращения: 30 января 2010. Архивировано 16 апреля 2012 года.
  19. SOM creates spiral of algae bricks for 2023 Chicago Architecture Biennial (англ.). Dezeen (27 сентября 2023). Дата обращения: 30 августа 2024.
  20. Mycelium Materials: The Future of Growing our Homes (амер. англ.). ArchDaily (20 июля 2022). Дата обращения: 30 августа 2024. Архивировано 30 августа 2024 года.

Литература

  • Кирпич // Большая российская энциклопедия. Том 14. М., 2009. — С. 43.
  • Кирпич строительный // Товарный словарь. Том 3 / Гл. ред. И.А. Пугачев. М.: Госторгиздат, 1957. — Стб. 549—555.
  • Пронженко В.В. Кирпич настоящий // Сделай сам : журнал. М.: Знание, 2003. № 1. С. 100—106.
  • Данилова Л.И. О глине, и не только о ней // Камень, глина и фантазия. М.: Просвещение, 1991. — С. 137—160. — 239 с.
Нормативная литература