Куколка

Ку́колка (лат. pūpa) — стадия развития насекомых с полным превращением (Metabola, или Oligoneoptera), соответствующая стадии нимфы (nympha) у других насекомых. Отличается от предшествующих ей личиночных возрастов наличием протоптеронов (неподвижных зачатков крыльев), а также другими чертами сходства со взрослым насекомым — сходным строением туловища, ног, антенн, ротовых придатков и др., и в этом отношении сходна с нимфами (то есть личинками старших возрастов) у других насекомых. От нимф других насекомых куколка насекомых с полным превращением отличается неактивным образом жизни, неспособностью питаться, характерной позой ног (неподвижно согнутых в коленях) и неподвижными антеннами. В отличие от других насекомых, у которых имеется несколько нимфальных возрастов, у насекомых с полным превращением всегда имеется лишь один куколочный возраст. Такой тип развития, свойственный Metabola, называется полным превращением, или голометаболией.

Характеристика куколки
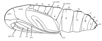
По морфологическим признакам куколка Metabola соответствует нимфе (личинке) последнего возраста у других насекомых: имеет более или менее сходное с имагинальным строение тела, глаз, антенн, ног и максимально развитые протоптероны (предшественники крыльев). При этом она резко отличается от личинки, у которой по крайней мере строение глаз, антенн и ног принципиально отличается от куколочно-имагинального, а протоптероны отсутствуют. Стадия куколки всегда состоит из одного возраста, который является предпоследним возрастом в онтогенезе насекомого: при предпоследней линьке насекомое переходит из стадии личинки в стадию куколки, а при последней линьке — из стадии куколки в стадию имаго. В этом отношении куколка Metabola отличается от покоящихся нимф трипсов и кокцид, которые имеют 2 или 3 возраста. Куколка всегда неспособна питаться; её мандибулы могут быть подвижными или неподвижными (см. ниже), прочие ротовые придатки (максиллы и нижняя губа) неподвижны. Антенны всегда неподвижны до самой линьки на имаго; при этом строение антенн сходно с имагинальным и резко отличается от личиночного. Ноги неподвижно согнуты в коленях так, что голень прижата к бедру; ноги неспособны разгибаться и функционировать по крайней мере до состояния фаратного имаго; в состоянии фаратного имаго ноги либо остаются неподвижными до линьки на имаго, либо приобретают способность разгибать колени и двигаться (см. ниже). Протоптероны всегда направлены вершинами вентрально-назад и выступают вентральнее тела. Имеется следующее различие в положении придатков среднегруди и заднегруди, не связанное с их имагинальными или личиночными специализациями: на среднегруди ноги направлены коленями вперёд, а протоптероны отклонены назад, обходя основание ног сзади; на заднегруди колени ног отклонены назад, а протоптероны отклонены вперёд, так что они либо обходят основания ног спереди, либо налегают на них. В результате этого с каждой стороны тела вершина переднего протоптерона широко налегает на вершину заднего протоптерона, а впереди протоптеронов выступают колени передних и задних ног. Обычно передние и средние ноги куколки расположены одинаково: их бёдра направлены почти вперёд параллельно друг другу, а голени и лапки направлены назад, в отличие от задних ног, у которых бёдра направлены под углом к бёдрам передних и средних ног. По положению протоптеронов и ног куколка Metabola отличается от покоящихся нимф трипсов и кокцид.
У некоторых куколок поза ног несколько изменена. У куколок большинства жуков (Coleoptera), которые, как и имаго, имеют расширенное туловище, колени передних и средних ног направлены не вперёд, а в стороны, но при этом их бёдра остаются параллельными друг другу и не параллельными бёдрам задних ног; у некоторых жуков (в частности, у пассалид) передние ноги утратили это положение и повернуты лапками вперёд. У некоторых бескрылых насекомых (в частности у блох и у рабочих особей муравьёв) в связи с утратой протоптеронов задние ноги куколки приобрели положение, параллельное передним и средним ногам.
Распространённые заблуждения
В прошлом некоторые авторы считали, что при превращении личинки в куколку она может покрываться снаружи какой-то особой оболочкой, которая спелёнывает конечности и делает куколку неподвижной; в связи с этим выделяли особый тип куколок — «покрытые». В действительности всякая куколка насекомого, как и всякое другое членистоногое на любой стадии развития, покрыта только кутикулой, вырабатываемой клетками покровного эпителия (гиподермой), так, что кутикула покрывает всё её тело и каждый его придаток со всех сторон. Новый покров не может образовываться снаружи от уже имеющейся кутикулы насекомого; новая кутикула образуется только в процессе линьки; она всегда формируется непосредственно поверх клеток гиподермы, то есть, внутри от старой кутикулы, и оказывается снаружи только при сбрасывания старой кутикулы. Так и кутикула куколки формируется под кутикулой личинки. У некоторых насекомых (бабочек, комаров и др.) после сбрасывания личиночной кутикулы и расправления куколочных придатков (ног, протоптеронов, антенн, хоботка) придатки куколки приклеиваются к туловищу, что создаёт иллюзию, будто они чем-то покрыты (см. ниже, склеенные куколки).
В некоторых источниках встречается утверждение, будто в куколке все живые ткани растворяются, а потом заново возникают. В действительности этого не может быть, поскольку в живом организме все клетки образуются только из клеток. По другой версии в куколке сохраняются некие недифференцированные тканевые зачатки — «имагинальные диски», из которых потом якобы заново образуется весь организм, то есть происходит что-то вроде второго эмбриогенеза. В действительности у насекомых с полным превращением дифференциация тканей и органов в онтогенезе протекает так же, как и у других членистоногих: на ранней стадии эмбриогенеза (у насекомых — в яйце) дифференцируются эктодерма, энтодерма и мезодерма, всё тело разделяется на сегменты, и на определённых сегментах закладывается по паре конечностей; в процессе дальнейшего развития все эти части организма сохраняются, но могут менять форму и размеры; изменения внешнего строения, происходящие в постэмбриональном развитии, проявляются только при линьках. Исходно имагинальными дисками (Imaginalscheiben) были названы особые образования, имеющиеся в третьем (последнем) возрасте личинок мух (Weismann 1864[1]). Эти образования представляют собой необычным образом модифицированные предлиночные складки гиподермы, возникающие перед линькой личинки на куколку; они имеются только у круглошовных мух (Cyclorapha Brauer 1863, или Discota Weismann 1866), но отсутствуют у каких-либо других насекомых. Позже некоторые авторы (Pratt 1899[2] и др.) стали называть «имагинальными дисками» любые участки тканей, не подвергающиеся лизису; в таком смысле «имагинальные диски» имеются у всех многоклеточных животных. Как и при любой другой линьке членистоногих, при линьке с личинки на куколку у насекомых с полным превращением все ткани, сегменты туловища и конечности куколки образуются только из соответствующих частей личинки. У некоторых насекомых с полным превращением (в частности, у круглошовных мух) при линьке личинки на куколку действительно происходит особенно масштабное растворение и последующий рост многих участков тела; однако это не является особенностью насекомых с полным превращением в целом, поскольку у других представителей этого таксона (в частности, у вислокрылок, верблюдок, комаров и др.) растворению подвергается не больше тканей, чем при некоторых других линьках членистоногих. Особенностью личиночно-куколочной линьки всех насекомых с полным превращением является не масштабность лизиса, а особые способы преобразования ног и антенн (см. ниже)[3].
Высказывались предположения, что покоящаяся стадия куколки нужна насекомым для зимовки или для каких-то иных целей, связанных с особенностями их образа жизни. Однако это не так, поскольку наличие или отсутствие стадии куколки однозначно определяется систематическим положением насекомого, и поэтому не может зависеть от его образа жизни или среды обитания. В настоящее время общепризнано, что таксон Metabola, характеризующийся наличием куколки, является голофилетическим, то есть происходящим от одного предка и включающем всех потомков этого предка. Это значит, что в ходе эволюции полное превращение со стадией куколки возникло однократно у одного древнего вида (предположительно существовавшего в каменноугольном периоде), а затем было унаследовано всеми его потомками, независимо от того, нужно им это или нет. Несмотря на наличие покоящейся стадии куколки, большинство насекомых, приспособившихся к пережиданию зимы в покоящемся состоянии диапаузы, диапаузируют не на стадии куколки, а на одной из других стадий (личинки, имаго или яйца).
В литературе можно встретить утверждение, что, помимо Metabola, стадия куколки имеется у некоторых других насекомых, а именно у трипсов (Thysanoptera) и самцов кокцид (Gallinsecta). В действительности у этих насекомых, независимо от Metabola, возникли покоящиеся стадии развития, которые имеют некоторые внешние черты сходства с куколкой Metabola, но не идентичны ей. Недавно были выявлены принципиальные отличия метаморфоза кокцид от полного превращения[4].
Типы куколок
Куколки бывают зубастыми (pupa dectica) и незубастыми (pupa adectica). У зубастых куколок имеются подвижные действующие мандибулы, с помощью которых куколка покидает своё укрытие перед линькой на имаго. Такие зубастые куколки свойственны сетчатокрылообразным, скорпионницам, ручейникам и наиболее примитивным бабочкам.

У большинства других насекомых куколки незубастые, то есть их мандибулы, как и все прочие части ротового аппарата, неспособны функционировать. Все зубастые куколки являются несклееными.
Незубастая куколка может быть несклеенной и склеенной (pupa conglutinata).

У склеенной куколки все придатки головы и груди (антенны, ротовые придатки, ноги и протоптероны — от греч. πτερόν «крыло») приклеены к туловищу и друг к другу; их склеивание происходит во время линьки личинки на куколку сразу после сбрасывания личиночной кутикулы. В прошлом считали, что такая куколка покрыта чем-то поверх кутикулы, поэтому называли её «покрытой куколкой» (pupa obtecta). Склеенные куколки имеются у большинства чешуекрылых (относящихся к таксону Neolepidoptera), у двукрылых (кроме круглошовных), а также у некоторых жесткокрылых и некоторых перепончатокрылых. Склеенные куколки дневных бабочек могут иметь золотистый блеск, в связи с чем их называют особым термином — хризалиды (лат. chrysalis, от греч. χρυσός — золото).
Движение
Куколки неспособны разгибать колени и поэтому не могут передвигаться на ногах. Такое состояние продолжается до тех пор, пока под куколочной кутикулой не сформируется новая, имагинальная, кутикула, и не разовьются имагинальные мышцы. Состояние куколки перед самой линькой на имаго, когда под куколочной кутикулой уже имеется имагинальная кутикула, а под ней — имагинальная мускулатура, называется фаратным имаго.
Движения собственно куколки. У подавляющего большинства Metabola до наступления состояния фаратного имаго куколка совершенно неспособна двигать ногами; это относится в равной степени к несклеенным куколкам (ноги которых свободны) и к склеенным куколкам (ноги которых приклеены к туловищу). Многие куколки при этом сохраняют способность двигать туловищем. Куколки некоторых двукрылых (Diptera) используют подвижность туловища для перемещения. Например, куколки куликоморф (кровососущих комаров, звонцов и др.) приспособлены к активному плаванию с помощью движений брюшка, благодаря чему могут уходить от хищников. Куколки некоторых двукрылых, обитающие под отставшей корой мертвых деревьев, способны перемещаться в поисках места с подходящей влажностью. У большинства Metabola куколка не способна к активному перемещению. Куколки некоторых насекомых вообще утратили подвижность. Исключение составляют куколки вислокрылок (Meganeuroptera), у которых ноги могут сохранять подвижность в сочленении с туловищем; в этом случае, как и у всех прочих куколок, колени всегда согнуты и не могут разгибаться, но при опасности куколка может немного перемещаться, двигая согнутыми ногами. Некоторые зубастые куколки (pupa dectica — см. выше), способны двигать мандибулами ещё до наступления состояния фаратного имаго.

Движения фаратного имаго. У некоторых насекомых фаратное имаго приобретает способность к передвижению; оно покидает убежище или кокон, в котором куколка вела неподвижный образ жизни, и передвигается в поисках места, удобного для линьки на имаго. У златоглазок, верблюдок и некоторых других насекомых фаратное имаго приобретает способность разгибать ноги и активно ходить на них. У ручейников (Trichoptera) (куколки которых находятся под водой в закрытых куколочных домиках) фаратное имаго, после того, как прогрызает мандибулами домик и выходит из него, плывёт в воде при помощи сильных синхронных гребных движений вытянутых в стороны средних ног, а затем выбирается на сушу при помощи средних и передних ног.
Окукливание личинки




Окуклением называется линька, при которой личинка превращается в куколку. Это предпоследняя линька в цикле развития насекомого; при последней линьке куколка превращается во взрослое насекомое (имаго). Перед линькой на куколку личинка переходит в состояние предкуколки, или пронимфы. Поскольку снаружи пронимфа покрыта ещё не сброшенной личиночной кутикулой, она сохраняет внешний вид личинки, но при этом под её личиночной кутикулой происходит формирование куколочного строения. Как и перед всякой линькой членистоногого, гиподерма отслаивается от старой (в данном случае личиночной) кутикулы и меняет свою форму, приобретая черты новой стадии (в данном случае — куколки).
Особенностью линьки с личинки на куколку является то, что ноги меняют своё строение парадоксальным образом: несмотря на то, что личиночная нога значительно меньше куколочной, после отслоения гиподермы от личиночной кутикулы гиподерма ноги не растёт, а сначала сильно уменьшается; мышцы ноги при этом утрачиваются; только после этого уменьшения гиподерма ноги начинает расти, причем рост начинается с образования коленного сгиба. В результате этого растущая куколочная нога располагается не в личиночной ноге, а преимущественно в области туловища личинки, лишь немного заходя своей вершиной в проксимальную часть личиночной ноги (см. рисунки Chrysoperla carnea и Rhyacophyla nubila). К настоящему времени эти процессы изучены для нескольких видов из разных отрядов; при этом показано, что способы уменьшения ткани ноги очень разнообразны — от равномерного антироста до отбрасывания дистальной части[3][5].
![]() | ![]() | |||||||||
Бабочка дневной павлиний глаз (Vanessa io): пронимфа и склеенная куколка в естественном состоянии и последовательные моменты линьки пронимфы на куколку | ||||||||||

Лишь у чешуекрылых гиподерма ноги не уменьшается, а сразу начинает расти, в результате чего ткани куколочной ноги целиком заполняют личиночную ногу (см. фото Vanessa io).
При превращении личиночной ноги в куколочную у некоторых насекомых каждый членик куколочной ноги (тазик, вертлуг, бедро, голень, лапка, претарсус) развивается из соответствующего членика личиночной ноги, то есть сохраняется онтогенетическая гомология члеников ноги; у некоторых насекомых онтогенетическая гомология члеников нарушена, например куколочная лапка может развиваться из личиночного бедра (см. рисунок Chrysoperla carnea) и т. п.; во всех случаях каждая нога куколки всегда развивается только из соответствующей ноги личинки, то есть всегда соблюдается онтогенетическая гомология конечностей.
Из-за дегенерации ножных мышц пронимфа оказывается неспособной передвигаться с помощью ног; в тех случаях, когда личинка для передвижения пользуется ногами, пронимфа оказывается неспособной перемещаться. Поэтому у многих насекомых личинка, перед тем, как впасть в состояние пронимфы, строит кокон, колыбельку или иное защитное сооружение, обеспечивающее ей относительную безопасность (см. ниже). После линьки личинки на куколку придатки куколки, которые до этого были спрессованы под личиночной кутикулой, расправляются, но ноги остаются неподвижно согнутыми в коленях. В это время ноги ещё лишены мышц, поэтому куколка продолжает быть неспособной передвигаться на ногах и остаётся лежать в том же защитном сооружении, которое было сделано личинкой перед впадением в состояние пронимфы. В процессе линьки личинки на куколку мышцы ног полностью исчезают у всех Metabola кроме вислокрылок (Meganeuroptera, или Megaloptera s.str.), у которых сохраняется часть мышц в основании ноги[3]. В отличие от других Metabola, пронимфы и куколки вислокрылок способны при опасности передвигаться на ногах. Несмотря на это, они проводят всё время, лёжа неподвижно в колыбельке, как пронимфы и куколки прочих Metabola. Это позволяет предположить, что подвижность ног у пронимф и куколок вислокрылок является вторичной.
При линьке с личинки на куколку, помимо особых процессов, происходящих в ногах, происходят определённые изменения в антеннах и глазах.
У всех Metabola антенна куколки развивается из всей антенны личинки, так что концевые сенсиллы личиночной антенны оказываются на вершине куколочной, а затем имагинальной антенны; но при линьке с личинки на куколку всё расчленение личиночной антенны исчезает, а затем заново появляется расчленение антенны, свойственное куколке и имаго, так что ни один членик куколочно-имагинальной антенны не соответствует какому-либо определённому членику личиночной антенны (то есть куколочная и имагинальная антенна онтогенетически гомологична личиночной антенне в целом, но у отдельных члеников антенны такой онтогенетической гомологии нет).
При превращении личинки в куколку и далее в имаго личиночные глаза, каждый из которых обычно состоит из 7 или меньшего числа омматидиев, полностью заменяются на фасеточные имагинальные глаза (так что между личиночными и имагинальными глазами нет онтогенетической гомологии).
У насекомых, имеющих крылья, при линьке с личинки на куколку появляются протоптероны (наружные лопастевидные неподвижные выросты краёв тергита, из которых при следующей линьке развиваются крылья имаго).
Другие части тела (ротовые придатки, покровы и мышцы туловища, внутренние органы) при линьке с личинки на куколку так же могут существенно изменяться, но эти изменения происходят по-разному у разных насекомых и могут быть незначительными.
Кокон, куколочная колыбелька и пупарий

Поскольку в течение значительного времени перед линькой на куколку и после неё насекомое оказывается неспособным передвигаться (см. выше), у многих насекомых личинка перед впадением в состояние пронимфы обеспечивает себя убежищем, которое в определённой мере защищает его от нападения хищников и неблагоприятных изменений окружающих условий. В ходе эволюции способность создавать такие защитные убежища независимо возникла в разных таксонах насекомых, поэтому и устройства этих убежищ разнообразны. Разные насекомые используют в качестве таких убежищ коконы, домики, колыбельки или пупарии.
Коконы и куколочные домики
Кокон — это защитное образование, которое личинка перед впадением в состояние пронимфы делает из шёлковой нити. Происхождение шёлка у разных личинок различно. Личинки таксона Panzygothoraca вырабатывают шёлк лабиальными железами (которые у большинства насекомых служат слюнными железами) и выделяют его через отверстие в области ротового аппарата между нижней губой и гипофаринксом. К Panzygothoraca относятся перепончатокрылые (Hymenoptera), чешуекрылые (Lepidoptera), ручейники (Trichoptera), скорпионницы (Mecoptera), блохи (Aphaniptera) и двукрылые (Diptera). Личинки многих из них делают шёлковые коконы; особенно плотные коконы бывают у многих перепончатокрылых, некоторых бабочек и ручейников. При строительстве кокона они накладывают шёлковую нить на внутреннюю поверхность строящегося кокона, манипулируя для этого головой (как это видно на фотографии Cimbex sp.). Коконы муравьёв в народе неверно называют «муравьиными яйцами».
В отличие от личинок Panzygothoraca, личинки двухоботных сетчатокрылых (Birostrata) вырабатывают шёлк мальпигиевыми сосудами, откуда он диффундирует через эпителий кишечника в просвет задней кишки и выводится наружу через анальное отверстие. Соответственно, при строительстве кокона личинка манипулирует не головой, а специально приспособленным для этого вытянутым гибким задним концом брюшка.
Встречаются и коконоплетущие жесткокрылые, в частности представители рода Cionus (из семейства долгоносиков (Curculionidae))[6].
Некоторые насекомые строят кокон не из чистого шёлка, а добавляя в него песчинки, частицы почвы или фрагменты растений. Если большая часть сооружения состоит из таких частиц, скреплённых шёлком, такое сооружение называют не коконом, а куколочным домиком. Куколочные домики сооружают многие ручейники (Trichoptera), бабочки-мешочницы (Psychidae) и другие насекомые.
Куколочная колыбелька

Личинки некоторых насекомых делают куколочную колыбельку; в отличие от кокона, колыбелька состоит не из выделяемого насекомым шёлка, а из частиц окружающего материала — почвы, древесины и т. п.
Личинки-дендрофаги многих видов усачей и точильщиков перед окукливанием не покидают кормовое дерево, создавая колыбельки в специальных камерах в толще коры или древесины. Такая камера представляет собой забитое буровой мукой продолжение личиночного хода, от которого к поверхности ствола ведёт ещё один ход, через который жук впоследствии покидает колыбельку. У разных представителей этот ход может открываться наружу или оставаться прикрытым тонким слоем коры. Перед превращением в куколку насекомое располагается в камере определённым образом относительно поля гравитации: вниз или вверх головой или лёжа горизонтально — на спинной стороне. Некоторые другие жуки-дендрофаги (например, усачи из рода Prionus) до окукливания выбираются наружу и строят колыбельки из буровой муки и почвы невдалеке от своего кормового дерева[7][8].
Пупарий

У некоторых насекомых куколка защищена не созданным ею сооружением, таким как кокон, домик или колыбелька (см. выше), а её собственной личиночной кутикулой, претерпевшей определённые изменения. Такая оболочка из личиночной кутикулы называется пупарий (puparium), то есть вместилище для куколки (pupa). В этом случае при линьке с личинки на куколку старая личиночная кутикула не сбрасывается после того, как она отслоится от гиподермы, а поверх гиподермы сформируется новая куколочная кутикула. Вместо этого личиночная кутикула вздувается и затвердевает, образуя плотную защитную оболочку вокруг куколки. Поскольку пупарий образован личиночной кутикулой, он имеет те же детали внешнего строения, что и личинка, но по пропорциям, общей форме, цвету и твердости может существенно отличаться от личинки.
Пупарии свойственны круглошовными мухам (Cyclorrhapha), мухам-львинкам (Stratiomyidae) и веерокрылым (Strepsiptera).
Иногда пупарий неверно называют «куколкой» и рассматривают как одну из форм куколок наряду со склеенными (так называемыми «покрытыми») и несклеенными куколками. На самом деле, в отличие от куколки, под кутикулой пупария имеется ещё одна кутикула — кутикула истинной куколки. В отличие от пупария, находящаяся в нём куколка имеет все части внешнего строения, характерные для куколки — ноги, антенны и ротовые придатки, сходные с имагинальными, протоптероны и др.
Иногда «пупарием» неверно называют личинку последнего возраста у белокрылок (Scytinelytra, или Aleyrodina), под кутикулой которой происходит формирование имаго. Это неверно, поскольку у белокрылок вообще нет стадии куколки или нимфы: под отслоившейся личиночной кутикулой белокрылки находится не куколка, которая была бы покрыта куколочной кутикулой, а развивающееся имаго, кутикула которого ещё не образовалась.
Примечания
- ↑ Weismann A. 1864. Die nachembryonale Entwicklung der Musciden nach Beobachtungen an Musca vomitoria und Sarcophaga carnivora // Zeitschrift für wissenschaftliche Zoologie 14(3): 187—336. Taf.21-27.
- ↑ Pratt H.S. 1897. Imaginal discs of insects // Psyche. Vol.8. No.250. P.15-30.
- 1 2 3 Kluge N.J. 2005. Larval/pupal leg transformation and a new diagnosis for the taxon Metabola Burmeister 1832 = Oligoneoptera Martynov 1923. // Russian Entomological Journal (2004) 13(4): 189-229 текст Архивная копия от 18 сентября 2020 на Wayback Machine. Русский перевод: Трансформация ног при превращении личинки в куколку и новый диагноз таксона Metabola Архивная копия от 21 февраля 2014 на Wayback Machine
- ↑ Kluge N.J. 2010. Paradoxical moulting process in Orthezia urticae and other coccids (Arthroidignatha, Gallinsecta). // Zoosystematica Rossica 19(2): 246—271.
- ↑ Клюге Н.Ю. 2012. Кладоэндезис и новый взгляд на эволюцию метаморфоза у насекомых. // Энтомологическое обозрение 91(1): 63-78. текст Архивная копия от 13 января 2016 на Wayback Machine HTM-версия Архивная копия от 13 января 2016 на Wayback Machine
- ↑ Биологический энциклопедический словарь / Гл. ред. М. С. Гиляров; Редкол.: А. А. Баев, Г. Г. Винберг, Г. А. Заварзин и др. — М. : Сов. энциклопедия, 1986. — С. 269. — 831 с. — 100 000 экз.
- ↑ Черепанов А. И. Усачи Северной Азии (Prioninae, Disteniinae, Lepturinae, Aseminae). — Новосибирск: «Наука», 1979. — Т. I. — 700 с. — 1100 экз.
- ↑ Черепанов А. И. Усачи Северной Азии (Cerambycinae) / Виолович Н. А.. — Новосибирск: «Наука», 1981. — Т. II. — 215 с. — 1000 экз.
Ссылки
- Pupa photos plus species descriptions at Insecta.pro
- Silk worm life cycle photos

