Механизмы запирания и отпирания канала ствола
Механизм запирания и отпирания канала ствола — совокупность деталей, предназначенных для запирания канала ствола во время выстрела и отпирания после него.
Узел запирания — совокупность деталей, входящих в механизм запирания и отпирания канала ствола, которые в момент выстрела непосредственно обеспечивают удержание гильзы в патроннике ствола. Основной деталью этого узла является затвор.
Механизмы с жёстко сцепляющимся со стволом затвором
Поворотом затвора (боевой личинки, муфты)


При запирании ствола поворотом затвора затворная рама доводит затвор до соприкосновения с казённым срезом, после чего затвор останавливается, а затворная рама продолжает движение вперёд. Скос затворной рамы при этом воздействует на поворачивающий выступ затвора (боевой личинки, муфты, другой детали), что вызывает его вращение вокруг своей оси и заводит запирающие выступы за вырезы в ствольной коробке либо в хвостовике ствола. Весь механизм представляет собой механический триггер Шмитта. Движение затворной рамы к стволу до упора устанавливает триггер в одно состояние, а движение затворной рамы от ствола до упора устанавливает триггер в другое состояние.
Во избежание расклинивания первичный поворот затвор обычно получает от взаимодействия не со скосом затворной рамы, а с наклонным пазом ствольной коробки; поворачивающий выступ затвора при этом находится на перпендикулярной площадке в начале скоса затворной рамы. После того, как поворачивающий выступ затвора выведен на наклонный участок скоса затворной рамы, паз ствольной коробки переходит из наклонного в перпендикулярный, обеспечивая тем самым фиксацию зеркала затвора у казённого среза ствола; поворот затвора в дальнейшем обеспечивается взаимодействием со скосом затворной рамы.
Число запирающих выступов затвора в современных системах варьируется от 2 до 8…10.
Запирание поворотом затвора применяется с Первой мировой войны - пулемёт Льюиса, во Второй мировой войне запирание поворотом затвора применялось в винтовке "Гаранд" - основном оружии пехоты армии США. Сейчас такой способ запирания применяется в системах автоматического стрелкового оружия, принятых в вооружённых силах России, некоторых странах НАТО, КНР, Индии, Израиля, а также в основанных на них образцах для гражданского рынка.
Наиболее известные образцы автоматического и самозарядного стрелкового оружия, использующие принцип запирания ствола поворотом затвора:
Перекосом затвора

При запирании перекосом затворная рама в крайней передней точке перемещает всё тело затвора в продольной плоскости (в то время как при запирании поворотом затвора — в поперечной), при этом задний конец затвора заходит за опорную плоскость ствольной коробки. Зеркало затвора после запирания принимает положение, перпендикулярное каналу ствола, и, соответственно, донцу гильзы. Весь механизм представляет собой механический триггер Шмитта. Движение затворной рамы к стволу до упора устанавливает триггер в одно состояние, а движение затворной рамы от ствола до упора устанавливает триггер в другое состояние.
Принцип запирания перекосом затвора пользовался особой популярностью среди конструкторов-оружейников в первой половине XX века. Наиболее известные образцы автоматического и самозарядного оружия, использующие этот принцип запирания:
В настоящее время ввиду ряда своих особенностей, таких, как несимметричность запирания и расположение точки, в которой непосредственно осуществляется запирание, далеко позади казённого среза ствола, в районе заднего среза затвора, что вынуждает выполнять ствольную коробку фрезерованием из стальной поковки, эта схема используется редко.
Запирание качающейся личинкой (рычагом)

При запирании качающейся личинкой (рычагом) фиксация затвора у казённого среза ствола обеспечивается с помощью промежуточной детали, подвижной в плоскости, параллельной оси ствола.
При использовании автоматики на основе отдачи ствола запирание осуществляется за опорные поверхности на стволе либо на затворе. После выстрела подвижный ствол проходит некоторый путь в запертом состоянии, после чего личинка встречает уступ ствольной коробки (рамы пистолета), сдвигается в плоскости, перпендикулярной оси ствола, отпирая его и давая отойти затвору.
В системах с газовым двигателем автоматики опорные поверхности, за которые заходит личинка при запирании, располагаются на ствольной коробке; сдвиг личинки в вертикальной плоскости происходит с началом движения газового поршня, воздействующего на затворную раму.
Для сочленения личинки с подвижными частями автоматики могут использоваться как копирные поверхности (например, в пулемёте Browning M1917), так и шарниры (например, в автоматической винтовке Browning BAR M1918).
Запирание личинкой широко используется в самых различных видах стрелкового оружия: автоматах и пулемётах, пистолетах, самозарядных охотничьих дробовиках.
Примеры самозарядных винтовок, автоматов и пулемётов, использующих принцип запирания качающейся личинкой:
- Автомат Фёдорова
- семейство пулемётов французской фирмы Hotchkiss
- Браунинг M1917 (Ckm wz.30)
- Браунинг M1919
- Браунинг М2
- Браунинг M1918
- FN MAG
- CZ SA Vz.58
Примеры пистолетов, использующих принцип запирания качающейся личинкой:
Примеры самозарядных дробовиков, использующих принцип запирания качающейся личинкой:
Запирание раздвижными боевыми упорами (парой боевых личинок)
В определённой степени напоминает предыдущий вариант, но боевых личинок / упоров два и расположены они по бокам затвора. Применено во всех пулемётах Дегтярёва, в том числе — ДП и его вариантах, РП-46, РПД, ДШК, и ряде основанных на них конструкций. Автоматика этих пулемётов приводилась в действие отводимыми из канала ствола пороховыми газами. После прихода в переднее положение, затвор утыкается в казённый срез ствола, а затворная рама с ударником продолжает по инерции движение вперёд. Утолщённая часть соединённого с затворной рамой ударника разводит в стороны боевые упоры, расположенные по бокам затвора и соединённые с ним при помощи копирных пазов; при запирании они качаются в горизонтальной плоскости, сцепляя его с затворной коробкой. Отпирание производится за счёт газоотводного двигателя с длинным ходом поршня, который после выстрела отводит назад затворную раму с ударником и специальным фигурным выемом на ней сводит боевые упоры. Также из иностранных образцов с аналогичным принципом запирания можно отметить швейцарский единый пулемёт MG 51, в котором, однако, для работы автоматики используется отдача ствола с коротким ходом.
Этот механизм запирания очень надёжен и сравнительно прост конструктивно, но требует тщательной подгонки каждого боевого упора по месту для соблюдения симметричности запирания, а кроме того — массивных и прочных стенок ствольной коробки, за вырезы в которых осуществляется запирание, что повышает металлоёмкость и массу оружия.
Роликовое запирание
.svg.png)
В немецком пулемёте MG-42 применялось роликовое запирание при автоматике, работавшей от отдачи ствола с коротким ходом.
Затвор пулемёта состоит из двух частей: боевой личинки, на которой выполнены зеркало затвора и направляющие для роликов, и стебля затвора, в передней части которого имеется клин. Между скосами клина и боевой личинкой находится пара роликов. При запирании клин раздвигает ролики, заводя их в пазы на муфте ствола и фиксируя боевую личинку у казённого среза. После выстрела ствол некоторое время отходит назад в запертом состоянии, после чего ролики сводятся наклонными пазами ствольной коробки, попутно выталкивая назад стебель затвора. В определённый момент ролики выходят из пазов на муфте ствола, и боевая личинка может отойти назад вместе со стеблем затвора.
В данном случае, наиболее существенным преимуществом этой схемы было запирание за отросток ствола, что позволило выполнить ствольную коробку пулемёта в виде дешёвой штампованной детали, в отличие от очень сложной в производстве фрезерованной у предыдущего образца.
Аналогичный принцип запирания применительно к самозарядному пистолету был реализован чехословацкими конструкторами в модели CZ 52. Слабым местом этого оружия считается участок кожух-затвора в районе одного из запирающих роликов, в котором иногда возникают усталостные трещины металла, особенно при стрельбе усиленными патронами того же калибра, предназначенными для пистолетов-пулемётов.
Запирание коленчатой парой рычагов (кривошипно-шатунное)



При использовании данного принципа запирания затвор фиксируется у казённого среза ствола парой сочленённых рычагов. Свободный конец одного из рычагов шарнирно закреплён на затворе, другого — на неподвижных деталях оружия. Рычаги находятся в мёртвой точке, то есть угол между их плечами близок к 180 градусам, так, что при откате подвижных частей автоматики рычаги не складываются в сторону, а сохраняют это положение до тех пор, пока их сочленение не встретит специальный уступ на неподвижной ствольной коробке. После этого рычаги могут сложиться, а затвор — самостоятельно отойти назад.
Конструкции, использующие этот принцип запирания, отличаются сложностью изготовления, и современные конструкторы его практически не применяют. В то же время запирание ствола коленчатой парой рычагов применялось сразу в трёх хорошо известных исторических образцах стрелкового оружия: пулемёте Максима (таким образом, это был первый принцип запирания канала ствола, реализованный в массово производимом автоматическом оружии), пистолете «Парабеллум» системы Георга Люгера, и магазинных винтовках Генри и Генри — Винчестера, за исключением модели 1895 года c клиновым запиранием. Из современных образцов кривошипно-шатунное запирание используется, например, на малокалиберных карабинах БИ-7 и «Соболь», а также — созданной на их базе снайперской винтовке СВ-99, что позволило создать оружие с очень быстрой и удобной перезарядкой.
Запирание запирающим клином
Сцепление затвора со ствольной коробкой и стволом осуществляется деталью, называемой клином, движущейся в плоскости, точно или примерно перпендикулярной оси канала ствола (причём обычно — вертикальной). Клин входит в поперечный паз на затворе, надёжно запирая его. Запирающий клин может располагаться как в передней, так и в задней частях затвора. В первом случае узел запирания получится компактным, но может взаимодействовать с механизмом подачи патронов, снижая надёжность работы автоматики. Во втором случае узел запирания часто имеет большой габарит по высоте, что вынуждает конструктора делать высокую ствольную коробку.
Использовалось, например, в винтовке АВС (клин расположен в передней части затвора) и пулемётах Браунинга начиная с M1917 (заднее расположение клина). Позволяет создать очень короткий запирающий механизм, но при этом не достигается симметричности запирания.
Перекосом ствола

Данный принцип запирания используется в системах автоматики, работающих от отдачи ствола с коротким ходом, причём как правило — в пистолетах. Ствол остаётся сцепленным с затвором до тех пор, пока не зайдёт своим выступом в фигурный вырез на неподвижной раме (вместо выступа и выреза может использоваться шарнирное сочленение — серьга). Под воздействием фигурного выреза ствол снижается и опорные поверхности затвора теряют свой контакт со стволом.
Снижением ствола
Запирание (сцепление боевых упоров ствола с соответствующими выступами затвора) происходит при накате затвора и при плоско-параллельном перемещении ствола вперёд-вверх. Необходимый закон движения ствола обеспечивается боковыми выступами ствола, скользящими в наклонных пазах неподвижной ствольной коробки (или пистолетной рамки). Отпирание происходит в обратном порядке — при совместном откате ствола и затвора при плоско-параллельном перемещении ствола назад-вниз. После расцепления ствол останавливается, а затвор продолжает откат на длину большую длины патрона.
Пример оружия, использующего принцип запирания снижением ствола: 9-мм пистолет Веблей-Скотт обр.1909 г.(Великобритания).
Поворотом ствола
Запирание и отпирание механизма производится поворотом ствола вокруг своей оси.
Примеры оружия, использующих принцип запирания поворотом ствола: Steyr TMP/Brugger+Thomet MP9, Пистолет Рота, ГШ-18, Grand Power K100.
Механизмы без жёсткого сцепления затвора со стволом
Использование отдачи при свободном затворе и неподвижном стволе

Свободный затвор не сцепляется со стволом при выстреле. Он запирает казённую часть ствола за счёт совокупного действия трения раздающихся под давлением пороховых газов стенок гильзы в патроннике, инертности массы подвижных деталей и силы сжатия возвратной пружины. При производстве выстрела пороховые газы действуют и на пулю, и, через донце гильзы, на затвор. Так как затвор и пуля имеют различную массу, при этом они начинают движение с различной скоростью. Параметры системы подбираются конструкторами таким образом, чтобы за то время, за которое пуля проходит по каналу ствола до дульного среза, затвор успевает отойти лишь на несколько миллиметров, при этом гильза выходит из патронника только своей утолщённой частью, в которой расположен капсюль, что страхует её от разрыва. После выхода пули из канала ствола давление в нём падает, и сила трения в патроннике уменьшается настолько, что затвор под действием импульса отдачи и остаточного давления пороховых газов отходит в крайне заднее положение, производя попутно экстракцию гильзы и, на обратном пути, досылание патрона в патронник.
Свободный затвор конструктивно проще любого другого типа запирания ствола. Однако для него характерны такие существенные недостатки, как излишняя масса оружия и увеличение колебаний оружия при стрельбе очередями за счёт быстрого возвратно-поступательного движения массивного затвора и его ударов в крайних положениях, что также способствует ускоренному износу оружия.
В оружии со свободным затвором, у которого боёк имеет вид неподвижно закреплённой на зеркале затвора детали, накол капсюля очередного патрона происходит ещё до его полного входа в патронник и прихода затвора в крайне переднее положение, в результате чего отходу затвора назад противодействует дополнительно ещё и инерция движения подвижных частей оружия вперёд (т. н. схема с выкатом затвора). Использование этого принципа (в англоязычной терминологии называемого advanced primer ignition) позволяет снизить темп стрельбы и уменьшить потребную массу затвора, но несколько снижает надёжность работы автоматики, а также допускает стрельбу исключительно с открытого затвора, что не всегда приемлемо.
Обычно механизм со свободным затвором ассоциируется с оружием под маломощные патроны, таким, как пистолеты или пистолеты-пулемёты. На самом деле никаких объективных ограничений по мощности патрона для данного механизма не существует, он с успехом применялся в автоматических дробовиках 12-го калибра (AAS), автоматических пушках (30-мм MK 108), автоматическом гранатомёте АГС-17 и крупнокалиберных противотанковых ружьях (20-мм Oerlikon SSG36). Однако это требует соответствующего увеличения массы затвора (а значит — и оружия в целом) и дополнительного использования иных конструктивных решений; например, у AAS затвор имел массу порядка полутора килограмм, и к тому же — очень длинный выкат; МК 108 имела массивный затвор и короткий ствол, благодаря чему время нахождения в нём снаряда было минимальным, ценой чего стало существенное ухудшение внешней баллистики; АГС-17 имеет сравнительно слабый метательный заряд и, опять же, массивный затвор и короткий ствол, а также специальный гидравлический буфер отдачи затвора; в Oerlikon SSG36 используется также очень массивный затвор, имеющий в передней части длинный цилиндрический выступ, который при досылании вместе с патроном заходит глубоко в патронник ствола, что надёжно страхует гильзу от разрыва давлением пороховых газов при экстракции. Кроме того, сама гильза должна быть достаточно короткой относительно своего диаметра, чтобы трение в патроннике не разорвало её при экстракции; несколько проблематично и использование в системах со свободным затвором гильз с высоким коэффициентом бутылочности.
Поэтому в случае использования мощных патронов обычно выгоднее использовать полусвободный затвор (см. ниже) или один из способов жёсткого запирания канала ствола на время выстрела (см. выше), что позволяет существенно облегчить подвижные части оружия, этим снизить его общую массу, улучшить кучность боя, увеличить надёжность работы автоматики.
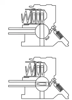
Запирание полусвободным затвором
Системы с полусвободными затворами занимают промежуточное положение — жёсткого запирания ствола здесь нет, а замедление затвора достигается перераспределением энергии отдачи между двумя его частями (собственно затвором и затворной рамой), усилением трения, либо иными способами. Широкого применения полусвободные затворы не получили, так как сложнее свободного затвора, но обладают зачастую теми же недостатками, при этом не отличаясь и надёжностью действия. Тем не менее, система с использованием роликов, изображённая на рисунке, применялась в автоматических винтовках CETME и HK G3 под винтовочный патрон — в настоящее время эту систему применяет фирма Heckler & Koch в ряде пистолетов, пистолетов-пулемётов, штурмовых винтовок и ручных пулемётов, а система с перераспределением энергии между затвором и затворной рамой — на французской винтовке FAMAS.

Использование энергии пороховых газов при подвижном вперёд стволе и неподвижном затворе


Отличие от механизма со свободным затвором состоит в том, что здесь, наоборот, затвор неподвижен, а ствол движется при выстреле вперёд под действием трения пули о нарезы. Принцип функционирования же полностью аналогичен — запирание достигается за счёт массы ствола, трения гильзы о стенки патронника и действия возвратной пружины.
Применялся в пистолете Манлихера обр. 1894 года, пистолете Хино-Комуро обр. 1908 года и некоторых других образцах. Целый ряд недостатков — низкая точность стрельбы, громоздкость оружия, и другие — не позволяет использовать этот принцип в современном оружии за исключением некоторых станковых автоматических гранатомётов.
Запирание пороховыми газами
I — положение перед выстрелом; II, III — в процессе выстрела высокое давление в цилиндре не позволяет затвору двигаться назад; IV — пуля покинула ствол, давление в стволе и в цилиндре упало, затвор открывается под действием импульса отдачи.
Иногда рассматривается как разновидность полусвободного затвора (см. выше).
Отход затвора назад на время выстрела исключается или сильно замедляется за счёт отвода части пороховых газов в специальный цилиндр, где они противодействуют движению назад поршня-замедлителя. После выхода пули из канала ствола давление падает, и затвор отходит назад свободно. Схема не получила распространения из-за высокой чувствительности к загрязнению пороховой гарью.
Изменение положения или геометрии патронника

Во времена дымного пороха и кремнёвых замков делались попытки ускорить перезарядку заменой казённой части ствола с полкой, заранее снаряжённой и переносимой в подсумке, однако это были сложные и дорогие штучные экземпляры.
Револьвер можно рассматривать как многозарядное оружие с подвижным патронником, револьверы были и самозарядными и даже автоматическими, рассматривалась возможность перезарядки нижней каморы.
Фирмой Хеклер и Кох (Германия) в самом конце 1960-х годов разработана винтовки G11 под безгильзовый боеприпас, перезарядка происходила при вращении патронника вокруг своей оси. Патронник имел сквозное отверстие, осечный патрон выталкивался новым при перезарядке, в боевом положении тыльная сторона патронника перекрывалась корпусом оружия Heckler und Koch G11 (Германия).
Не менее интересна идея с открытым сбоку патронником. гильза имеет форму пузатой трёхгранной призмы (трохоида), открытая часть патронника перекрывается затвором или корпусом оружия, В 1958 году американский конструктор Дардик (David Dardick) запатентовал «Dardick open chamber gun» револьвер с открытой сбоку каморой и подачей патронов из магазина Dardick Model 1500

Довольно долго разрабатываются скорострельные пушки, функцию патронника в которых играют два вращающихся цилиндра с углублениями, в которые захватываются безгильзовые патроны.
К сожалению, как и на заре огнестрельного оружия, подобные конструкции слишком дороги и ненадёжны (при нынешнем уровне развития).
Механизм с качающимися стволами
Применяется в охотничьих ружьях и штуцерах, которые «переламываются» для заряжания. Основные детали — ключ или рычаг, ось затвора (мотыль), пружина затвора и рамка.
Литература
- Благонравов А. А. — Основы проектирования автоматического оружия. М.: Оборонгиз, 1940.
- Кириллов В. М. — Основы устройства и проектирования стрелкового оружия. Пенза: Пензенское высшее артиллерийское инженерное училище, 1963.
- Бабак Ф. К. — Основы стрелкового оружия. Спб.: Полигон, 2003.
- Алфёров В. В. — Конструкция и расчёт автоматического оружия. Пенза, 1977 год.





