High-Efficiency Advanced Audio Coding

High-Efficiency Advanced Audio Coding
MIME-тип audio/aacp
Разработчик ISO
Тип формата Формат сжатия звука
Содержится в 3GP, MP4, .dvb
Расширен из Advanced Audio Coding
Стандарт(ы) ISO/IEC 14496-3[1]
Иерархическая структура профилей AAC, HE-AAC и HE-AAC v2, и совместимости между ними. Декодер потока профиля HE-AAC полностью совместим с декодером профиля AAC. Аналогично декодер HE-AAC v2 может работать с о всеми потоками профиля HE-AAC так же, как и с потоками профиля AAC. См. технические спецификации MPEG-4 Part 3[2].
Развитие формата начиная с профилей MPEG-2 AAC LC (Low Complexity) и MPEG-4 AAC LC и заканчивая профилем HE-AACv2[3].

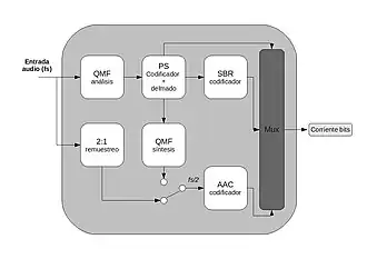
HE-AAC (англ. High-Efficiency Advanced Audio Coding — высокоэффективное усовершенствованное аудиокодирование) — формат сжатия звука с потерями, определен как профиль MPEG-4 Audio (Part 3) в стандарте ISO/IEC 14496-3[1]. Формат является расширением профиля Low Complexity AAC (AAC LC), оптимизированным для приложений с низким потоком передачи данных цифрового потока. В профиле HE-AAC версия 1 (HE-AAC v1) используется технология восстановления высоких частот SBR (англ. Spectral band replication — копирование спектральной полосы) для повышения эффективности кодирования в частотной области. В профиле HE-AAC версия 2 (HE-AAC v2) технология SBR объединена с технологией Параметрического кодирования стереопанорамы (англ. Parametric Stereo) для повышения эффективности кодирования стереосигналов. Это стандартизованная и улучшенная версия аудиокодека AACplus.

HE-AAC используется в стандартах цифрового радиовещания DAB+ и Digital Radio Mondiale.

История

  • HE-AAC версия 1 был стандартизован как профиль MPEG-4 Audio в 2003 году группой MPEG и опубликован как часть MPEG-4 в документе ISO/IEC 14496-3:2001/Amd 1:2003[4]
  • HE-AAC версия 2 был стандартизован в 2006 году как ISO/IEC 14496-3:2005/Amd 2:2006[2][5].
  • Технология Параметрического кодирования стереопанорамы (PS), используемая в HE-AAC v2 была стандартизована в 2004 году группой MPEG и опубликована в документе ISO/IEC 14496-3:2001/Amd 2:2004[6].
  • HE-AAC версия 2 был также стандартизован под именем Enhanced aacPlus консорциумом 3GPP для 3G мультимедиа сервисов UMTS в сентябре 2004 (3GPP TS 26.401). Аудиокодек Enhanced aacPlus основан на технологиях кодирования AAC LC, SBR и Parametric Stereo и определен в стандарте MPEG-4 Audio.
  • Предшествующими технологии HE-AAC были разработки Coding Technologies, известные под торговой маркой CT-aacPlus. Кодек CT-aacPlus был получен путём объединения MPEG-2 AAC LC с разработанной Coding Technologies технологией восстановления высоких частот (SBR). CT-aacPlus используется в спутниковом радиовещании XM Radio. Впоследствии Coding Technologies предложила SBR группе MPEG как основу HE-AAC.
  • Позже, но до стандартизации HE-AAC v2 группой MPEG, Coding Technologies предложила объединить HE-AAC v1 с технологией Параметрического кодирования стереопанорамы 3GPP под названием Enhanced AAC+. В результате, aacPlus v2 и eAAC+ сейчас наиболее известные товарные знаки технологии HE-AAC v2. AAC+ и aacPlus — товарные знаки технологии HE-AAC v1.

Особенности кодирования

Принцип работы технологии SBR. Создание высокочастотного диапазона с помощью транспозиции (слева). Восстановление высокочастотного диапазона (справа)

Технологии AAC, SBR и Parametric Stereo являются основными компонентами профиля MPEG-4 HE-AAC v2.

  • Кодек AAC используется для кодирования диапазона низких и средних частот.
  • В основе технологии восстановления высоких частот (SBR) лежит выявленная строгая взаимосвязь между характеристиками высокочастотного и низкочастотного диапазонов звукового сигнала. Таким образом, весьма адекватного восстановления высокочастотного диапазона оригинального звукового сигнала можно достигнуть транспозицией (сдвигом) из низкочастотной области в высокочастотную. Перед кодированием осуществляется анализ диапазона высоких частот (выше 7 кГц) в исходном цифровом аудиосигнале и извлекается информация о некоторых его параметрах: например, спектральной огибающей входного сигнала. Затем, после устранения лишних высокочастотных составляющих, на кодер передается небольшой поток данных об устранённых высоких частотах, необходимых для их восстановления, а кодируются только оставшиеся низкие и средние частоты[7].
  • Параметрическое кодирование стереопанорамы, т. е. метод, повышающий эффективность кодирования стереосигналов при передаче звуковых данных с низким битрейтом. Входной стереосигнал микшируется в моносигнал, при этом выполняется анализ параметров, описывающих стереопанораму. Стереопараметры требуют незначительную часть (2-3 кбит/с) суммарного выходного потока, необходимого для передачи моносигнала приемлемого качества. Два параметра, используемые для описания стереоинформации — панорамы и окружения. Параметр панорамы содержит информацию различия между правым и левым каналов в разных частотных полосах. Аналогично и параметр окружения описывает стереоокружение для группы частотных полос. Для кодирования обоих параметров применяются схожие принципы статистического кодирования в частотно-временной области, применяемые и для SBR-огибающих. Также применяется квантование[7].

Версии

Сравнение версий кодеков HE-AAC:

Версия Основной товарный знак Особенности кодека Стандарт
HE-AAC v1 aacPlus v1, eAAC, AAC+, CT-aacPlus AAC LC + SBR ISO/IEC 14496-3:2001/Amd 1:2003
HE-AAC v2 aacPlus v2, eAAC+, AAC++, Enhanced AAC+ AAC LC + SBR + PS ISO/IEC 14496-3:2005/Amd 2:2006
xHE-AAC aacPlus v2, eAAC+, AAC++, Enhanced AAC+ AAC-LC + SBR + PS + USAC ISO/IEC 23003-3:2012/Amd 2:2012
[8]

См. также

Примечания

  1. 1 2 ISO. ISO/IEC 14496-3:1999 - Information technology -- Coding of audio-visual objects -- Part 3: Audio. ISO (1999). Дата обращения: 16 марта 2011. Архивировано из оригинала 16 февраля 2012 года.
  2. 1 2 ISO/IEC JTC1/SC29/WG11/N7016 (11 января 2005), Text of ISO/IEC 14496-3:2001/FPDAM 4, Audio Lossless Coding (ALS), new audio profiles and BSAC extensions, Архивировано из оригинала (DOC) 3 мая 2011, Дата обращения: 16 марта 2011{{citation}}: Википедия:Обслуживание CS1 (числовые имена: authors list) (ссылка) Источник. Дата обращения: 16 марта 2011. Архивировано 3 мая 2011 года.
  3. Fraunhofer IIS, MPEG-4 Audio and Video Technology (PDF), Архивировано (PDF) 4 января 2012, Дата обращения: 16 марта 2011 Источник. Дата обращения: 16 марта 2011. Архивировано 4 января 2012 года.
  4. ISO. Bandwidth extension, ISO/IEC 14496-3:2001/Amd 1:2003. ISO (2003). Дата обращения: 16 марта 2011. Архивировано из оригинала 16 февраля 2012 года.
  5. ISO. Audio Lossless Coding (ALS), new audio profiles and BSAC extensions, ISO/IEC 14496-3:2005/Amd 2:2006. ISO (2006). Дата обращения: 16 марта 2011. Архивировано из оригинала 16 февраля 2012 года.
  6. ISO. Parametric coding for high-quality audio, ISO/IEC 14496-3:2001/Amd 2:2004. ISO (2004). Дата обращения: 16 марта 2011. Архивировано из оригинала 16 февраля 2012 года.
  7. 1 2 Spectral Band Replication (SBR) Technology and its Application in Broadcastin Архивировано 9 марта 2011 года.
  8. xHE-AAC. Fraunhofer Institute for Integrated Circuits IIS. Дата обращения: 3 января 2021. Архивировано 10 сентября 2020 года.

Ссылки