N-OFDM
N-OFDM (англ. Non-Orthogonal Frequency Division Multiplexing — мультиплексирование с неортогональным частотным разделением каналов) является цифровым методом модуляции, использующим множество близко расположенных, неортогональных по частоте поднесущих[1][2]. Как и в OFDM, каждая поднесущая модулируется по обычной схеме модуляции (например, квадратурная амплитудная модуляция).
Принцип размещения поднесущих

N-OFDM сигнал формируется гармоническими поднесущими, которые могут быть разнесены по частоте как на равные промежутки (в этом случае речь идёт об эквидистантном размещении поднесущих), так и на разные частотные интервалы (неэквидистантный вариант N-OFDM). При эквидистантном размещении частот занимаемая N-OFDM сигналом полная полоса частот делится на подканалов, ширина которых , где — длительность сигнальной выборки, над которой выполняется операция быстрого преобразования Фурье (символьный интервал).
Таким образом, если записать выражение для частотного интервала между поднесущими в виде , то случай будет соответствовать OFDM, а — эквидистантному варианту N-OFDM.
При неэквидистантном размещении поднесущих, в общем случае в пределах одного многочастотного пакета могут сочетаться не только частотные интервалы , но и присущие OFDM () и даже FDM (). Преимуществом неэквидистантного размещения поднесущих является возможность значительного уменьшения ошибок оценивания квадратурных составляющих амплитуд сигналов по сравнению с равномерным частотным интервалом[1][2].
Краткая история теории N-OFDM
Прообразом данного метода модуляции сигналов явился способ измерения амплитудно-частотных характеристик (АЧХ) радиотехнической системы с помощью многочастотного сигнального пакета, изложенный в описании патента Российской Федерации на изобретение № 2054684[3]. В этом изобретении использовалось оптимальное оценивание амплитуд каждого из гармонических сигналов, идентичное применённому впоследствии для демодуляции N-OFDM сигналов. Существенным отличием указанного способа явилось то, что частоты входных воздействий в суммарном пакете входных сигналов могут быть разнесены на частотный интервал, меньший релеевского предела разрешения (ширины АЧХ частотного фильтра).
В 2001 г. Слюсарем В.И. было положено начало развитию теории N-OFDM[4][5][6][7]. Это научное направление явилось обобщением технологии OFDM и отличается сверхрелеевским уплотнением сигналов по частоте с последующей демодуляцией сигналов путём оптимального решения системы уравнений правдоподобия относительно неизвестных оценок амплитуд.
Аналогичные работы за рубежом впервые появились осенью 2003 года[8][9][10][11][12][13]. При этом используются эквивалентные по отношению к N-OFDM термины NOFDM[14], n-OFDM[15], Spectrally Efficient FDM (SEFDM)[8][16] и др., по сути описывающие известные из публикаций по N-OFDM[3][4][5][6][7] методы формирования и обработки неортогональных по частоте сигналов, а также представляющие собой их дальнейшее развитие.
Преимущества N-OFDM
Несмотря на возросшую сложность демодуляции N-OFDM сигналов по сравнению с OFDM, переход к неортогональной расстановке частот поднесущих обеспечивает ряд преимуществ:
- более высокая спектральная эффективность, позволяющая уменьшить полосу частот, занимаемую сигналом, и улучшить электромагнитную совместимость множества терминалов
- адаптивная отстройка от сосредоточенных по частоте помех путём изменения номиналов частот поднесущих
- возможность учёта допплеровских сдвигов частот поднесущих при работе с перемещающимися на высоких скоростях абонентами
- использование различных частотных планов в качестве дополнительного ключа для защиты информации от несанкционированного доступа к каналу связи
- уменьшение пик-фактора многочастотной сигнальной смеси
Методы обработки N-OFDM сигналов
Идеализированный передатчик N-OFDM сигналов

Сигнал N-OFDM — сумма множества неортогональных поднесущих[1], на каждой из которых передаваемые на основной частоте данные независимо модулируются с помощью одного из типов модуляции (BPSK, QPSK, 8-PSK, QAM и др.). Далее этим суммарным сигналом модулируется несущая радиочастота.
— это последовательный поток двоичных цифр. Перед сигнальным процессором (DSP) этот поток преобразуется сначала в N параллельных потоков, после чего каждый из них отображается в поток символов с помощью процедуры фазовой (BPSK, QPSK, 8-PSK) или амплитудно-фазовой квадратурной модуляции (QAM). При использовании модуляции BPSK получается поток двоичных чисел (1 и −1), при QPSK, 8-PSK, QAM — поток комплексных чисел. Так как потоки независимы, то способ модуляции и, следовательно, количество бит на символ в каждом потоке могут быть разными. Следовательно, разные потоки могут иметь разную битовую скорость. Например, пропускная способность линии 2400 бод (символов в секунду), и первый поток работает с QPSK (2 бита на символ) и передает 4800 бит/с, а другой работает с QAM-16 (4 бита на символ) и передает 9600 бит/с.
Цифровой сигнальный процессор (DSP) использует N одновременно поступающих символов, создавая такое же множество комплексных отсчетов во временной области (time-domain samples), соответствующих сумме отсчетов напряжений неортогональных по частоте гармонических сигналов. Далее цифро-аналоговые преобразователи (DAC) преобразуют в аналоговый вид отдельно действительную и мнимую компоненты, после чего они модулируют, соответственно, радиочастотную косинусоиду и синусоиду. Эти сигналы далее суммируются и дают передаваемый сигнал s(t).
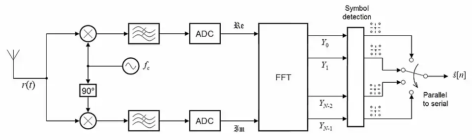
Идеализированный приёмник N-OFDM сигналов

Приемник принимает сигнал r(t) , выделяет из него косинусную (cos) и синусную (sin) квадратурные составляющие с помощью умножения r(t) на и — и фильтров нижних частот, которые отфильтровывают колебания в полосе вокруг . Получившиеся сигналы далее оцифровываются с помощью аналого-цифровых преобразователей (ADC), подвергаются прямому быстрому преобразованию Фурье (FFT). Получается N-OFDM сигнал в частотной области.
Совокупность N параллельных потоков данных поступает на символьный декодер, который с помощью заданного алгоритма преобразует двоичную последовательность в информационные символы фазовой модуляции (при использовании в передатчике BPSK, QPSK, 8-PSK) или амплитудно-фазовой квадратурной модуляции (при использовании в передатчике QAM). В идеале получается поток битов, равный потоку, который передал передатчик.
Ортогонализация Грама-Шмидта и Лёвдина
Для демодуляции сигналов N-OFDM в работах [17][18] предложено использовать классическую процедуру ортогонализации сигналов Грама-Шмидта (GS), позволяющую превратить линейно независимую систему векторов в ортонормированную. Недостатком такого подхода является существенный рост ошибок ортогонализации при увеличении количества поднесущих сигналов в пакете, особенно при сокращении их частотного разнесения. Более устойчивой к ошибкам является процедура ортогонализации Левдина (Per-Olov Löwdin, LO) [17]. Для сравнения на рис[17]. приведена зависимость величины BER от межчастотного интервала для 16 и 32 поднесущих при демодуляции N-OFDM сигналов методами Грама-Шмидта и Левдина. Особенностью указанных методов ортогонализации является необходимость амплитудно-фазовой коррекции сигналов после выполнения процедуры ортогонализации, что связано с сопутствующими ей искажениями соответствующих параметров поднесущих. Коэффициенты коррекции могут рассчитываться по пилот-сигналам на этапе вхождения в связь.

Обработка N-OFDM сигналов по отсчётам АЦП
При обработке отсчётов аналого-цифрового преобразователя (АЦП) задача демодуляции N-OFDM сигналов сводится к решению системы уравнений, составленной по отсчётам напряжений сигнальной смеси, относительно неизвестных квадратурных составляющих амплитуд поднесущих.
Обработка N-OFDM сигналов с децимацией отсчётов АЦП
Суть данного варианта обработки заключается в том, что перед синтезом частотных фильтров с помощью операции БПФ на приёмной стороне выполняется прореживание информационного потока путём дополнительного стробирования (децимации) отсчётов АЦП (накопления по определённому закону в фиксированных временных интервалах со сбросом)[5][19] Соответствующая обработка отсчётов сигналов с учётом целочисленной длительности строба M (фактор децимации) может быть представлена в виде:[19]
- ,
где T - период дискретизации АЦП (интервал между отсчётами). - входные отсчёты напряжений сигнала до децимации, M - длительность строба, - центральная частота пакета N-OFDM сигналов.
Если , то имеет место и следовательно[19]
- ,
- .
При получим
- ,
- .
Дальнейший синтез фильтров БПФ производится по сформированным в результате децимации отсчётам сигнальной смеси[5]. Помимо снижения требований к производительности устройств обработки указанная децимация позволяет повысить помехозащищённость приёмных каналов за счёт подавления внеполосного приёма сигналов с помощью АЧХ децимирующего устройства. Кроме того, децимация отсчётов позволяет упростить реализацию аппаратуры цифрового диаграммообразования в случае использования для приёма N-OFDM сигналов цифровых антенных решеток, например в системе MIMO.
При необходимости более качественной anti-aliasing фильтрации отсчётов АЦП, в указанное выражение для процедуры децимации следует подставить вектор весовых коэффициентов :
- ,
Примером такого рода весовой обработки при является децимация с нечетной длительностью строба:[20]
Поскольку децимация отсчётов АЦП сопровождается частотно-зависимым паразитным доворотом фаз всех поднесущих, а также искажением АЧХ фильтров БПФ при демодуляции N-OFDM сигналов следует проводить коррекцию оценок квадратурных составляющих амплитуд сигналов для компенсации указанных фазовых и частотных искажений. Аналогичная обработка с децимацией отсчётов АЦП может применяться и в случае OFDM, COFDM сигналов.
Демодуляция N-OFDM сигналов по выходам фильтров БПФ
Подробное изложение процедуры демодуляции N-OFDM после синтеза частотных фильтров с помощью БПФ приведено в описании патента Российской Федерации на изобретение № 2054684[3].
Демодуляция N-OFDM сигналов без синтеза фильтров БПФ
При отказе от формирования фильтров БПФ демодуляция N-OFDM сигналов возможна корреляционным методом. Подобного рода пример рассмотрен в работе Макарова С. Б., Завьялова С. В.[21]
Демодуляция N-OFDM сигналов на основе вейвлет-фильтрации
Для демодуляции N-OFDM сигналов, представляющих собой совокупность гармонических, неортогональных по частоте поднесущих, на приемной стороне может использоваться вейвлет-фильтрация. В простейшем случае это может быть система ортогональных по частоте вейвлет-фильтров, синтезируемых на основе вейвлет-преобразований, приводящих к АЧХ, описываемым аналитическими функциями[22]. Примером такого рода вейвлетов являются гармонические всплески и вейвлет Морле [23].
Разновидности метода N-OFDM
N-OFDM на основе базисных функций Хартли
В данной версии N-OFDM сигналы на передающей стороне формируются путём модуляции cas-функций по закону импульсной амплитудной модуляции (PAM) или квадратурной амплитудной модуляции (QAM). На приёмной стороне в процессе демодуляции сигналов осуществляется оценивание амплитуд каждой из cas-функций по методу максимального правдоподобия или методу наименьших квадратов[24]. При этом для обработки могут использоваться отсчёты, следующие в темпе периода дискретизации АЦП либо же после их децимации. В качестве децимирующей функции используется функция Хартли.[25]
В частности, если и , то децимация выполняется согласно выражению[25]
- ,
- .
N-OFDM +MIMO
Fast-OFDM
В 2002 г. сотрудники колледжа лондонского университета Izzat Darwazeh и M.R.D. Rodrigues [26] предложили метод частотного мультиплексирования данных Fast-OFDM (FOFDM), отличающийся использованием частотного разнесения поднесущих, в 2 раза меньшего, чем в случае OFDM. Данное обстоятельство позволяет с большой долей условности рассматривать Fast-OFDM как промежуточное звено между OFDM и N-OFDM.
В основе метода Fast-OFDM лежит тот факт, что действительная часть коэффициента корреляции двух комплексных поднесущих равна нулю, если разнос по частоте между поднесущими кратен целому числу 1/(2T) (Т – интервал накопления) (полусимвольный интервал между поднесущими.). При этом существенно, что, несмотря на двукратное уплотнение по частоте по сравнению с OFDM, сигналы по-прежнему остаются ортогональными друг другу. На рис. проиллюстрирован спектр сигнального пакета из 32 поднесущих в случае OFDM и Fast-OFDM модуляций[17]. Следует особо обратить внимание, что по мере увеличения частотного уплотнения уровень внеполосного излучения сигналов снижается.
Важно, однако, отметить, что выигрыш в спектральной эффективности по отношению к OFDM в случае Fast-OFDM возможен только при использовании вещественного представления сигналов и одномерных (вещественных) схем их модуляции – BPSK или М-ичной ASK. В противном случае, переданная с помощью Fast-OFDM сигналов информация не может быть восстановлена на приёмной стороне.
Впрочем, столь существенный недостаток не помешал авторам данного метода продолжить исследование его возможностей [27][28][29] и довести развитие соответствующей теории до экспериментальных демонстраций в оптоволоконных системах передачи данных [30][31][32] К примеру, описан факт [32] передачи данных со скоростью 20 Гигабит/с с использованием модуляции 4-ASK F-OFDM по-оптоволоконному кабелю на расстояние 840 км. При этом для частотной селекции поднесущих вместо БПФ используется дискретное косинусное преобразование. С учётом анализа возможностей Fast-OFDM более перспективным представляется радикальный переход к сверхразрешению в спектральной области, позволяющий разместить частоты сигналов более плотно, сделав их неортогональными друг другу.
FBMC
FBMC (англ. Filter-Bank Multi-Carrier Modulation — метод частотного мультиплексирования с множеством несущих, использующий банк (гребёнку) частотных фильтров[33])
К сожалению, название метода выбрано не совсем удачно, поскольку оно не позволяет однозначно судить о сути метода: к примеру, под данное определение подпадает и OFDM, в котором используется банк фильтров быстрого преобразования Фурье (БПФ).
На самом деле в основе технологии FBMC, представленной в зарубежных публикациях, лежит применение в передающем и приёмном сегментах дополнительной по отношению к быстрому преобразованию Фурье фильтрации с высокой частотной избирательностью. Это позволяет существенно подавить внеполосное излучение, а также повысить спектральную эффективность многочастотного сигнала и помехозащищённость каналов связи. Наибольшее распространение получила дополнительная фильтрация путём взвешенного суммирования откликов нескольких фильтров БПФ, например, весовым окном Хемминга.
В опубликованных работах по методу FBMC нередко используется характерная для OFDM расстановка частот поднесущих[34][35]. При этом в случае FBMC отличие состоит в существенно сниженном уровне внеполосного приёма.
Однако, подобно методу Fast-OFDM в случае FBMC также может быть получено частотное уплотнение каналов, соответствующее полусимвольному интервалу между поднесущими[36]. Данный факт позволяет отнести FBMC c определённой долей условности к классу методов с неортогональными по частоте сигналами (Non-Orthogonal Waveform).
Одна из первых русскоязычных работ по анализу зарубежной версии метода FBMC была представлена в мае 2012 г. на Всероссийской научно-технической конференции студентов, аспирантов и молодых учёных «Научная сессия ТУСУР–2012» в Томском государственном университете систем управления и радиоэлектроники (ТУСУР) [37]
История метода FBMC берёт начало с работ, посвящённых решению задачи подавления боковых лепестков АЧХ фильтров, синтезированных на основе быстрого преобразования Фурье. При этом в отличие от метода FBMC подавлялись боковые лепестки АЧХ не каждого фильтра БПФ, а всего их банка в целом. Одной из первых публикаций такого рода стала диссертация Eric Phillip Lawrey [38], в которой для подавления боковых лепестков, было предложено использовать предварительную цифровую фильтрацию отсчётов OFDM сигналов, полученных по выходу АЦП, на основе FIR-фильтров с весовыми коэффициентами, соответствующими известным весовым "окнам", а также "окнам", предложенным самим Lawrey.
В развитие этого подхода, аналогичная FBMC идея синтеза в приёмном сегменте банка частотных фильтров с помощью взвешенного суммирования откликов фильтров БПФ была предложена в апреле 2004 г.[39]. При этом использовалась дополнительная фильтрация многочастотных сигналов перед выполнением преобразования Фурье с целью подавления боковых лепестков АЧХ частотных фильтров. Для этого применялось взвешенное суммирование откликов трёх частотных фильтров-дециматоров, синтезированных с помощью быстрого преобразования Фурье:
- ,
где , , - исходные отклики преобразования Фурье, - результат оконного преобразования, соответствует окну Ханна (Хеннинга), - окну Хэмминга[2][39]. Реализация указанного взвешивания осуществляется в режиме скользящего окна по массиву откликов преобразования Фурье.
Поскольку при определённых законах взвешенного суммирования откликов фильтров БПФ (Хемминга, Хеннинга (Ханна) и др.) возможно аналитически описать закон изменения АЧХ результирующих фильтров, формирующих банк фильтрации, то интервал между поднесущими может быть задан меньше половины символьного интервала. В результате будет иметь место гибрид технологии N-OFDM и FBMC (N-OFDM+FBMC).
В настоящее время известны обобщения FBMC с учётом использования принципа MIMO (FBMC+ MIMO).
Разновидностью FBMC является использование вейвлет-фильтрации принятых N-OFDM сигналов[22].
GFDM
GFDM (англ. Generalized Frequency Division Multiplexing) — обобщённый метод частотного дискретного мультиплексирования
N-OFDM+UFMC
UFMC (англ. universal filter multi-carrier) — технология универсальной фильтрации множества поднесущих. Предусматривает фильтрацию групп ортогональных поднесущих в передатчике для снижения внеполосного излучения и сокращения защитного частотного интервала между соседними каналами передачи данных[40][41].
UFMC может быть применен в случае N-OFDM сигналов в дополнение к фильтрации отдельных групп поднесущих в приёмнике[40].
Актуальность теории N-OFDM
Связь
Метод N-OFDM рассматривался в качестве прообраза технологической основы сетей связи 5G, физический уровень которых планировалось реализовать на неортогональных сигналах (Methodology for 5G Physical Layer Based on Non-orthogonal Waveforms). Европейский проект по стандартизации обработки неортогональных сигналов для сетей 5G получил наименование 5GNOW (5th Generation Non-Orthogonal Waveforms). Сайт проекта http://www.5gnow.eu/. В качестве претендентов на стандартизацию рассматривались разновидности неортогонального класса сигналов FBMC, GFDM и др.
Радиолокация
N-OFDM сигналы могут быть использованы для решения задач радиолокации, в том числе в интегрированных радарно-коммуникационных системах на основе технологии MIMO[42].
Примечания
- 1 2 3 Слюсар, Вадим. Неортогональное частотное мультиплексирование (N-OFDM) сигналов. Часть 1. Технологии и средства связи. – 2013. - № 5. С. 61 - 65. (2013). Дата обращения: 31 мая 2014. Архивировано 6 апреля 2016 года.
- 1 2 3 Слюсар, Вадим. Неортогональное частотное мультиплексирование (N-OFDM) сигналов. Часть 2. Технологии и средства связи. – 2013. - № 6. C. 60 - 65. (2013). Дата обращения: 31 мая 2014. Архивировано 19 июня 2018 года.
- 1 2 3 Слюсар, В.И. Патент Российской Федерации № 2054684, G01R23/16. Способ измерения амплитудно-частотных характеристик. - 1992. Опубл. 20.02.96, Бюл. № 5. (1992). Дата обращения: 8 августа 2017. Архивировано 8 августа 2017 года.
- 1 2 Sliusar, Vadym Іvanovych; Smoliar Viktor Hryhorovych.: . Pat. of Ukraine № 47835 A. IPС8 H04J1/00, H04L5/00. Method of Frequency-Division Multiplexing of Nsrrow-Band Information Channels. Appl. № 2001106761, Priority Data 03.10.2001. – Official Publication Data 15.07.2002, Official Bulletin № 7. (2002). Дата обращения: 31 мая 2014. Архивировано 4 марта 2016 года.
- 1 2 3 4 Sliusar, Vadym Іvanovych; Smoliar Viktor Hryhorovych, Stepanets Anatolii Mykhailovych, Sliusar Ihor Ivanovych.: . Pat. of Ukraine № 47918 A. IPС8 H04J1/00, H04L5/00. Method for Frequency-Division Multiplexing of Nsrrow-Band Information Channels. Appl. № 2001117512, Priority Data 05.11.2001. – Official Publication Data 15.07.2002, Official Bulletin № 7 (2002). Дата обращения: 31 мая 2014. Архивировано 4 марта 2016 года.
- 1 2 Слюсар, В.И., Смоляр В. Г. Частотное уплотнение каналов связи на основе сверхрелеевского разрешения сигналов. Известия вузов. Сер. Радиоэлектроника.- 2003. - Том 46, № 7. C. 30 - 39. (2003). Дата обращения: 31 мая 2014. Архивировано 29 августа 2018 года.
- 1 2 Слюсар, В.И., Смоляр В. Г. Метод неортогональной дискретной частотной модуляции сигналов для узкополосных каналов связи. Известия вузов. Сер. Радиоэлектроника.- 2004. - Том 47, № 4. C. 53 - 59. (2004). Дата обращения: 31 мая 2014. Архивировано 29 августа 2018 года.
- 1 2 M. R. D. Rodrigues and I. Darwazeh. A Spectrally Efficient Frequency Division Multiplexing Based Communications System.// InOWo'03, 8th International OFDM-Workshop, Proceedings, Hamburg, DE, September 24-25, 2003. - https://www.researchgate.net/publication/309373002 Архивная копия от 1 ноября 2018 на Wayback Machine
- ↑ Masanori Hamamura, Shinichi Tachikawa. Bandwidth efficiency improvement for multi-carrier systems. //15th IEEE International Symposium on Personal, Indoor and Mobile Radio Communications, vol. 1, Sept. 2004, pp. 48 — 52.
- ↑ Li. D. B. A high spectral efficiency technology and method for overlapped frequency division multiplexing [P]. 2006, PCT/CN2006/002012 (in Chinese)
- ↑ Xing Yang, Wenbao Ait, Tianping Shuait, Daoben Li. A Fast Decoding Algorithm for Non-orthogonal Frequency Division Multiplexing Signals // Communications and Networking in China, 2007. CHINACOM '07. — 22-24 Aug. 2007.- P. 595—598.
- ↑ I. Kanaras, A. Chorti, M. Rodrigues, and I. Darwazeh, "A combined MMSE-ML detection for a spectrally efficient non orthogonal FDM signal, " in Broadband Communications, Networks and Systems, 2008. BROADNETS 2008. 5th International Conference on, Sept. 2008, pp. 421 −425.
- ↑ I. Kanaras, A. Chorti, M. Rodrigues, and I. Darwazeh, "Spectrally efficient FDM signals: Bandwidth gain at the expense of receiver complexity, " in IEEE International Conference on Communications, 2009. ICC ’09., June 2009, pp. 1 −6.
- ↑ Bharadwaj, S., Nithin Krishna, B.M.; Sutharshun, V.; Sudheesh, P.; Jayakumar, M. Low Complexity Detection Scheme for NOFDM Systems Based on ML Detection over Hyperspheres.//Devices and Communications (ICDeCom), 2011 International Conference on. — 24-25 Feb. 2011. — Pp. 1-5.
- ↑ Ahmad, Norulhusna; S-Yusof, S. Kamilah; Fisal. Norsheila; Anwar, Khoirul; Matsumoto, Tad. Soft-feedback MMSE Equalization for Nonorthogonal Frequency Division Multiplexing (n-OFDM) Signal Detection.// 2012 International ITG Workshop on Smart Antennas (WSA). — 2012-03-07. — Pp. 248—255. — https://dspace.jaist.ac.jp/dspace/bitstream/10119/10532/1/17698.pdf Архивная копия от 7 августа 2017 на Wayback Machine.
- ↑ Safa Isam A Ahmed. Spectrally Efficient FDM Communication Signals and Transceivers: Design, Mathematical Modelling and System Optimization.//A thesis submitted for the degree of PhD. — Communications and Information Systems Research Group Department of Electronic and Electrical Engineering University College London. — October, 2011.- http://discovery.ucl.ac.uk/1335609/1/1335609.pdf Архивная копия от 2 ноября 2018 на Wayback Machine
- 1 2 3 4 5 Darwazeh Izzat. A New look at Frequency Division Multiplexing; Operating below the Orthogonality Limit.//The 2nd IET International Conference on Wireless, Mobile & Multimedia Networks (ICWMMN 2008). - Beijing, China. - Oct. 12 - 15 , 2008.
- ↑ Ioannis D. Kanaras. Spectrally Efficient Multicarrier Communication Systems: Signal Detection, Mathematical Modelling and Optimisation. A thesis submitted for the degree of Doctor of Philosophy. - Communications and Information Systems Research Group, Department of Electronic and Electrical Engineering, University College London. - June 2010. – 214 p. - http://discovery.ucl.ac.uk/766544/1/766544.pdf Архивная копия от 2 ноября 2018 на Wayback Machine.
- 1 2 3 Слюсар В. И. Синтез алгоритмов измерения дальности М источников при дополнительном стробировании отсчётов АЦП.// Известия вузов. Сер. Радиоэлектроника.- 1996. - Том 39, № 5. - C. 55 - 62.- http://slyusar.kiev.ua/IZV_VUZ_1996_5.pdf Архивная копия от 5 июня 2014 на Wayback Machine
- ↑ Слюсар В.И., Живило Е.А. Цифровая фильтрация, эквивалентная тандемному квадратурному дециматору. //VI Международный научно-технический симпозиум «Новые технологии в телекоммуникациях» (ГУИКТ-Карпаты '2013), 21 - 25 января 2013. - Карпаты, Вышков.- C. 41 - 43. Архивная копия от 6 апреля 2016 на Wayback Machine
- ↑ Макаров С. Б., Завьялов С. В. Повышение помехоустойчивости когерентного приёма неортогональных многочастотных сигналов.//Научно-технические ведомости Санкт-Петербургского Государственного политехнического университета. Информатика. Телекоммуникации. Управление. — Выпуск 2(193)/2014. — C.45 - 54. - http://ntv.spbstu.ru/fulltext/T2.193.2014_05.PDF Архивная копия от 5 июня 2014 на Wayback Machine
- 1 2 Слюсар В.И. Вейвлет-концепция для N-OFDM сигналов. // ІІ Всеукраїнська науково-технічна конференція «Проблеми інфокомунікацій», Полтава – Київ – Харків, 20-21 листопада 2018 р. - C. 39-41. Архивная копия от 5 июля 2019 на Wayback Machine
- ↑ Аршакян А.А. Ларкин Е.В. Частотные характеристики фильтров, выделяющих гармонические составляющие.// Известия Тульского государственного университета. Технические науки. - 2012.
- ↑ Васильев К. А. Потенциальные границы частотного уплотнения сигналов N-OFDM на основе преобразования Хартли с квадратурной амплитудной модуляцией частотных несущих.// Системи управління, навігації та зв'язку, 2008, випуск 2(6). – С. 149 – 152.
- 1 2 Патент Украины на полезную модель № 41297. МПК (2006) G01S7/36, H03D13/00. Способ дополнительного стробирования отсчётов аналого-цифрового преобразователя. // Слюсар В.И., Васильев К.А. - Заявка на выдачу патента Украины на полезную модель №U200900296 от 15.01.2009. - Патент опубл. 12.05.2009, бюл. № 9. Архивная копия от 20 апреля 2016 на Wayback Machine
- ↑ M.R.D. Rodrigues, Izzat Darwazeh. Fast OFDM: A Proposal for Doubling the Data Rate of OFDM Schemes.// International Conference on Communications, ICT 2002, Beijing, China, June 2002. - Pp. 484 – 487
- ↑ Dimitrios Karampatsis, M.R.D. Rodrigues and Izzat Darwazeh. Implications of linear phase dispersion on OFDM and Fast-OFDM systems.// London Communications Symposium 2002. - http://www.ee.ucl.ac.uk/lcs/previous/LCS2002/LCS112.pdf Архивная копия от 23 июля 2015 на Wayback Machine.
- ↑ D. Karampatsis and I. Darwazeh. Performance Comparison of OFDM and FOFDM Communication Systems in Typical GSM Multipath Environments. // London Communications Symposium 2003 (LCS2003), London, UK, Pp. 360 – 372. - http://www.ee.ucl.ac.uk/lcs/previous/LCS2003/94.pdf Архивная копия от 23 июля 2015 на Wayback Machine.
- ↑ K. Li and I. Darwazeh. System performance comparison of Fast-OFDM system and overlapping Multi-carrier DS-CDMA scheme.// London Communications Symposium 2006. - http://www.ee.ucl.ac.uk/lcs/previous/LCS2006/54.pdf Архивная копия от 23 июля 2015 на Wayback Machine.
- ↑ E. Giacoumidis, I. Tomkos, and J. M. Tang. Performance of Optical Fast-OFDM in MMF-Based Links. // Optical Fiber Communication Conference and Exposition (OFC/NFOEC), 2011 and the National Fiber Optic Engineers Conference. - 6-10 March 2011.
- ↑ E. Giacoumidis, S. K. Ibrahim, J. Zhao, J. M. Tang, A. D. Ellis, and I. Tomkos. Experimental and Theoretical Investigations of Intensity-Modulation and Direct-Detection Optical Fast-OFDM over MMF-Links.// IEEE Photonics Technology Letters, Vol. 24, No. 1, January 1, 2012. – Pp. 52 – 54.
- 1 2 Jian Zhao and Andrew Ellis. Transmission of 4-ASK Optical Fast OFDM With Chromatic Dispersion Compensation.// IEEE Photonics Technology Letters, Vol. 24, No. 1, January 1, 2012. – Pp. 34 – 36.
- ↑ Bellanger M.G. FBMC physical layer: a primer / M.G. Bellanger et al. - January, 2010.
- ↑ Farhang-Boroujeny B. OFDM Versus Filter Bank Multicarrier//IEEE Signal Processing M agazine.— 2011.— Vol. 28, № 3.— P. 92— 112.
- ↑ В. В. Витязев, А. А. Овинников. Методы анализа/синтеза сигналов в системах беспроводной связи со многими несущими.//Электросвязь. - № 9, 2013. – С. 28- 32.
- ↑ Behrouz Farhang-Boroujeny. Filter Bank Multicarrier for Next Generation of Communication Systems.//Virginia Tech Symposium on Wireless Personal Communications. — June 2-4, 2010.
- ↑ Балашова К. В., Лобанов Н. А., Долгих Д. А. Filter bank multicarrier модулятор // Научная сессия ТУСУР–2012: матер. Всерос. науч.-техн. конф. студентов, аспирантов и молодых учёных «Научная сессия ТУСУР–2012», посвящённой 50-летию ТУСУРа, 16–18 мая 2012 г. Томск, 2012. Ч. 2. С. 75–78.
- ↑ Eric Phillip Lawrey BE (Hons). Adaptive Techniques for Multiuser OFDM. // Thesis for the degree of Doctor of Philosophy in Electrical and Computer Engineering. - School of Engineering, James Cook University. - December 2001. – http://www.skydsp.com/resources/OFDM_thesis_lawrey.PDF Архивная копия от 5 марта 2016 на Wayback Machine
- 1 2 Слюсар В. И., Королев Н. А. Ващенко П. А. Метод повышения частотной избирательности систем сотовой связи, использующих цифровое диаграммообразование. // Тези доповіді ХІV НТК. Частина 1. - Житомир: ЖВІРЕ. - 2004. - С. 77. Архивная копия от 22 августа 2021 на Wayback Machine
- 1 2 Слюсар В.И. Интеграция N-OFDM и UFMC. // Материалы IV Международной научно-практической конференции “Информационная безопасность и компьютерные технологии”: тезисы докладов, 15 – 16 апреля 2021. – Кропивницкий, 2021. - C. 48. - DOI: 10.13140/RG.2.2.23786.44480. Архивная копия от 22 августа 2021 на Wayback Machine
- ↑ Гришин И.В., Калинкина А.А. Обзор методов многочастотной модуляции сигналов в современных сетях беспроводной связи.//Информационные технологии и телекоммуникации. - Том 8, № 2. - 2020. - C. 55 - 67.
- ↑ Миночкин А.И., Рудаков В.И., Слюсар В.И. Основы военно-технических исследований. Теория и приложения. Том. 2. Синтез средств информационного обеспечения вооружения и военной техники.//Под ред. А.П. Ковтуненко // - Киев: «Гранмна».. — 2012. — С. 7. .