Искусственная утроба

Искусственная утроба
Изображение
Внематочная система для физиологической поддержки крайне недоношенных ягнят
Медицинская специальность гинекология
Моделирует матка женщины
Логотип Викисклада Медиафайлы на Викискладе
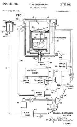
Искусственная матка. Иллюстрация из патента США 2723660A от 1954 г.

Иску́сственная утро́ба (искусственная матка) — приспособление на стадии прототипа, которое предназначено для вынашивания плода. Прибор имеет систему газообмена и циркуляции питательных веществ, систему удаления продуктов обмена из кровотока плода, систему гормональной регуляции развития плода, систему поддержания оптимальной температуры и прочее. На данный момент такое устройство уже создано, испытания и опыты по вынашиванию вне матки зародышей животных проводятся в КНР и в Детской больнице Филадельфии в США[1] и Институте Вейцмана в Израиле[2].

Вероятное практическое применение

Искусственная утроба предположительно может быть использована для следующих медицинских целей.

  1. Преодоление бесплодия, связанного с проблемами невынашивания плода (отсутствие матки или патологические изменения в матке, привычное невынашивание различной природы), в настоящее время подобные медицинские проблемы решаются с помощью «суррогатного материнства». В случае создания искусственной утробы, эмбрион и плод пациенток с проблемами невынашивания будет находиться вне тела матери в течение полного срока развития (от искусственного оплодотворения до прекращения культивирования и перевода младенца на самостоятельное дыхание и питание).
  2. Культивирование плода (этап от момента забора яйцеклеток до переноса зародышей в полость матки) при медицинском вмешательстве в организм женщины, несовместимом с беременностью, когда женщине показано вводить большое количество тератогенных препаратов, либо подвергнуть её воздействию медицинских процедур, несовместимых с беременностью (ряд хирургических операций, радиотерапия и пр.), в настоящее время подобные медицинские проблемы связаны с искусственным прерыванием беременности. В случае создания искусственной утробы, эмбрион и плод пациентки, требующей неотложного медицинского вмешательства, будет помещён вне тела матери от момента необходимого вмешательства до окончания развития, вернуть плод обратно в матку женщины не представляется возможным.
  3. Спасение плода при угрозе преждевременных родов, а также при внезапной гибели беременной женщины. В настоящее время данная проблема может быть решена лишь частично с помощью выхаживания недоношенных младенцев (см. кувез). Минимальный срок развития плода, с которого возможно выхаживание — 20-22 недели[3] (масса тела 200—300 г., по другим данным — от 500 г).

Выхаживание младенцев в кувезах осуществляется на основе физиологии рождённых детей: газообмен осуществляется с помощью лёгких (пусть с аппаратом искусственной вентиляции, но всё же лёгких), а не с помощью насыщения пуповинной крови; младенец находится в кувезе в сухом виде, а не в околоплодной жидкости. Развитие и здоровье недоношенных детей имеет множество проблем, которые вероятно связаны именно с нефизиологичными для плода условиями кувеза. Преодоление данной проблемы предположительно может быть решено с помощью гипотетического аппарата «искусственная утроба».

Помимо медицинских показаний, «искусственная утроба» может быть использована для замещения вынашивания по «социальным показаниям»: работа женщины, несовместимая с беременностью (экстремальные условия, театральная карьера и пр.), а также простое нежелание вынашивать ребёнка. В книге «Like a Virgin» биолог Аарати Прасад исследует возможность того, что в будущем беременность станет необязательной. Она полагает, что в будущем станет возможным эктогенез — созревание плода в искусственной утробе. При этом она описывает опыты на животных с использованием искусственной утробы и попытки создания искусственной плаценты человека. Прасад также утверждает, что такой исход «был бы предпочтительнее естественного рождения — не потому, что он является лучшей альтернативой женщинам, а потому, что он является лучшей альтернативой для них. Беременность по-прежнему представляет риск и даже угрозу для жизни, и проблема бесплодия возрастает. А такая альтернатива могла бы показаться весьма привлекательной». Тем не менее, использование «искусственной матки» по «социальным показаниям» будет делом далёкого будущего, когда пройдёт период «отлаживания метода», так как первые годы после создания прибора, методика, вероятно, не будет давать хороших результатов (новорождённые будут неразвитыми, иметь патологии), и прибор будет использоваться только при угрозе жизни плода. Кроме того, в современном обществе «суррогатное материнство» в подавляющем большинстве используется при невозможности выносить плод матерью, и крайне редко используется при нежелании женщины вынашивать ребёнка.

Однако с развитием и совершенствованием технологии искусственной утробы, когда здоровье детей не будет отличаться от выношенных женщиной, традиционная семья вероятно претерпит изменения и станет необязательной (это не значит, что вовсе пропадет). Одинокий родитель будет явлением более распространенным, а также — социально приемлемым, нежели сегодня, когда «семейные стереотипы» по-прежнему в силе.[4][5][6]

Исследования по проблеме искусственной матки

В 1955 году Эмануэль М. Гринберг запатентовал искусственную утробу.[7]

В 2017 группой исследователей в Детской Больнице Филадельфии был проведен эксперимент по выращиванию четырёхмесячных эмбрионов ягненка в системе внематочного жизнеобеспечения.[8][1][9] На протяжении 28 дней плоды ягнят находились в герметичных пакетах с обогащенным физиологическим раствором, к пуповинам плодов были присоединены аппараты по фильтрации и насыщению крови кислородом и питательными веществами. Плоды ягнят демонстрировали нормальное развитие.

В 2021 году группа учёных из Института Вейцмана в Израиле смогла вырастить в заполненном питательными веществами инкубаторе мышиные эмбрионы с 5 по 11 день развития (нормальный срок беременности мыши — 19 дней), о чём была опубликована статья в журнале Nature. Таким образом впервые внутренние органы эмбриона сформировались, когда эмбрион находился в искусственной среде. После 11 дня развития зародыши становились слишом крупными, чтобы существовать без снабжения кислородом и питательными веществами через плаценту, и погибали[2]. Как рассказал руководитель группы профессор Якуб Ханна, уже после публикации статьи в Nature учёным удалось продвинуться дальше и довести до 11 дня эмбрионы, помещённые в инкубатор в первый же день после зачатия[10]. Следующей целью группы, по словам Ханны, является воссоздание «дыхания» и потока питательных веществ через плаценту, что позволит вырастить эмбрионы до конца срока[11].

Структура утробы

Искусственная матка, разрабатываемая в Институте Вейцмана

Искусственная утроба, разработанная в Институте Вейцмана, представляет собой несколько стеклянных банок, заполненных питательной жидкостью, которая содержит необходимые плоду вещества (в том числе гормоны) и в которой плавают зародыши, и вентиляционную систему, подающую в банки кислород и углекислый газ, а также контролирующую их давление и концентрацию. После 8 дня банки с эмбрионами начинают вращаться, чтобы избежать прикрепления плодов к стенкам, так как это приведёт к деформации и гибели зародышей[10][11][12].

Проблемы

Современное научное общество не может оценить глубину этих проблем: неизвестны подробности биохимических факторов в развитии плода, неясна роль иммунной системы в процессах имплантации и формирования плаценты и т. д. В настоящее время ни в сельском хозяйстве, ни в научном эксперименте на животных не удается культивировать эмбрионы или плоды достаточно длительное время без развития патологий. Попытки культивирования эмбрионов лабораторных животных в постимплантационный период приводят к остановке развития и гибели плодов. Причины неудач не поняты и не оценены, поэтому не ясно, в каком направлении развивать техническую сторону гипотетического прибора «искусственная матка».

На 2021 год лабораторные методы позволяют выращивать плоды крупных животных, но только небольшого размера и ранних стадий созревания[13].

Кроме того в будущем, когда технические сложности в создании «искусственной утробы» будут преодолены, возможно возникнут проблемы нравственного и этического характера.

См. также

Примечания

  1. 1 2 A Unique Womb-Like Device Could Reduce Mortality and Disability for Extremely Premature Babies | Children's Hospital of Philadelphia. Дата обращения: 6 февраля 2018. Архивировано 24 августа 2018 года.
  2. 1 2 [detaly.co.il/izrailskie-uchenye-dobilis-ogromnogo-proryva-na-puti-k-detyam-iz-probirki/ Израильские ученые добились огромного прорыва на пути к «детям из пробирки»]. Дата обращения: 16 июня 2021. Архивировано 24 июня 2021 года..
  3. Человечество покидает утробу. Владимир Тихомиров — о новой вехе биотехнологической революции Архивная копия от 27 мая 2015 на Wayback Machine // Ъ-Огонёк, 27.01.2014
  4. Фактчекинг: будут ли вынашивать детей в искусственной утробе? – Новости – Аналитика и экспертиза – Национальный исследовательский университет «Высшая школа экономики». Дата обращения: 16 сентября 2024. Архивировано 16 сентября 2024 года.
  5. Ученые создали концепцию первого в мире инкубатора для выращивания детей внутри искусственной матки (Science And Stuff, США) | 17.12.2022, ИноСМИ
  6. Представлен первый в мире "инкубатор" для искусственного выращивания младенцев ::Первый Севастопольский. Дата обращения: 16 сентября 2024. Архивировано 16 сентября 2024 года.
  7. Artificial uterus. Дата обращения: 6 февраля 2018. Архивировано 30 июня 2017 года.
  8. Partridge, Emily A.; Davey, Marcus G.; Hornick, Matthew A.; McGovern, Patrick E.; Mejaddam, Ali Y.; Vrecenak, Jesse D.; Mesas-Burgos, Carmen; Olive, Aliza; Caskey, Robert C.; Weiland, Theodore R.; Han, Jiancheng; Schupper, Alexander J.; Connelly, James T.; Dysart, Kevin C.; Rychik, Jack; Hedrick, Holly L.; Peranteau, William H.; Flake, Alan W. An extra-uterine system to physiologically support the extreme premature lamb (англ.) : journal. — The Author(s), 2017. — 25 April (vol. 8). P. 15112.
  9. Artificial Womb Shows Promise In Animal Study : Shots - Health News : NPR. Дата обращения: 6 февраля 2018. Архивировано 27 декабря 2017 года.
  10. 1 2 Mice Develop Inside An Artificial Womb. Дата обращения: 3 сентября 2021. Архивировано 2 сентября 2021 года..
  11. 1 2 Scientists Grow Mouse Embryos in a Mechanical Womb. Дата обращения: 3 сентября 2021. Архивировано 2 сентября 2021 года..
  12. In breakthrough, Israelis grow hundreds of mouse embryos in artificial wombs. Дата обращения: 3 сентября 2021. Архивировано 3 сентября 2021 года.
  13. Фактчекинг: будут ли вынашивать детей в искусственной утробе?

Литература

  • Coleman, Stephen. The Ethics Of Artificial Uteruses: Implications For Reproduction And Abortion (англ.). — Burlington, VT: Ashgate Pub., 2004. — ISBN 978-0-7546-5051-5.
  • ed. by Scott Gelfand. Ectogenesis: Artificial Womb Technology and the Future of Human Reproduction (англ.). — Amsterdam [u.a.]: Rodopi, 2006. — ISBN 978-90-420-2081-8.

Ссылки