ARIA (криптография)
| ARIA | |
|---|---|
| |
| Создатель | Группа южнокорейских исследователей |
| Создан | 2003 г. |
| Опубликован | 2003 |
| Размер ключа | 128, 192, 256 бит |
| Размер блока | 128 бит |
| Число раундов | 12/14/16 |
| Тип | Подстановочно-перестановочная сеть |
ARIA — алгоритм симметричного блочного шифрования (размер блока 128 бит, ключ длиной до 256 бит), разработанный южнокорейскими криптологами в качестве шифра-национального стандарта в Южной Корее. В 2004 году шифр был официально утверждён как национальный стандарт.
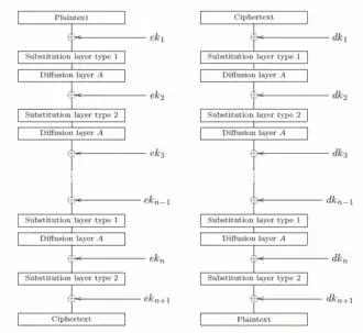
Структура
Алгоритм имеет структуру SP-сети, как и Rijndael. Количество раундов — 12, 14, или 16, в зависимости от длины ключа. ARIA использует две таблицы подстановки размером 8×8-бит и их инверсии в качестве альтернативных раундов, один из них является S-box из шифра Rijndael. Алгоритм использует инволюции, одна и та же процедура может быть использована как для зашифрования, так и расшифрования.
Ключевое расписание обрабатывает ключ 3-раундовым 256-битном шифром Сети Фейстеля.
Один раунд алгоритма состоит из 3 этапов:
- сложение с раундовым ключом. 128-битное внутреннее состояние складывается по модулю 2 с 128-битным раундовым подключом
- слой подстановки, здесь внутреннее состояние проходит через 16 таблиц подстановки. Имеется два вида слоёв подстановки: типа 1 и типа 2, которые меняются в зависимости от раунда
- слой диффузии, где простая двоичная матрица 16x16 умножается на состояние, которое обрабатывается как массив из 16 байт
Алгоритм эффективен как в программной, так и в аппаратной реализации. Хорошие результаты шифр показывает на 8-битных платформах.
Безопасность
Разработчиком была заявлена гарантированная устойчивость к линейному и дифференциальному криптоанализу и, в целом, всем существующим на момент разработки атакам. На данный момент существуют атаки лишь на сокращённую 7-раундовую версию шифра.
Ссылки
- Daesung Kwon, Jaesung Kim, Sangwoo Park, Soo Hak Sung, Yaekwon Sohn, Jung Hwan Song, Yongjin Yeom, E-Joong Yoon, Sangjin Lee and Jaewon Lee, et al. New Block Cipher: ARIA (недоступная ссылка)
- Домашняя страница шифра ARIA Архивная копия от 9 апреля 2016 на Wayback Machine
