Стюарт (танк)

Стюарт
M3A1 в Белградском музее вооружённых сил
M3A1 в Белградском музее вооружённых сил
M3 Stuart
Классификация лёгкий танк
Боевая масса, т 12,7
Компоновочная схема отделение управления спереди, моторное сзади
Экипаж, чел. 4
История
Годы производства 19411944
Годы эксплуатации с 1941
Количество выпущенных, шт. 22743 (13859 М3 и 8884 М5)
Основные операторы Соединённые Штаты Америки Великобритания Союз Советских Социалистических Республик Франция Бразилия
Размеры
Длина корпуса, мм 4531
Ширина, мм 2235
Высота, мм 2640
Клиренс, мм 420
Бронирование
Тип брони стальная поверхностно закалённая
Лоб корпуса (верх), мм/° 38 / 17°
Лоб корпуса (середина), мм/° 16 / 69°
Лоб корпуса (низ), мм/° 44 / 23—90°
Борт корпуса, мм/° 25 / 0°
Корма корпуса (верх), мм/° 25 / 59°
Корма корпуса (середина), мм/° 25 / 0°
Корма корпуса (низ), мм/° 25 / 20°
Днище, мм 10—13
Крыша корпуса, мм 13
Лоб башни, мм/° 38 / 10°
Маска орудия, мм/° 38 / 0—14°
Борт башни, мм/° 25 / 0°
Корма башни, мм/° 25 / 0°
Крыша башни, мм/° 13 / 75—90°
Вооружение
Калибр и марка пушки 37-мм M6
Тип пушки нарезная
Длина ствола, калибров 53,1
Боекомплект пушки 103
Углы ВН, ° −10…+20°
Прицелы M40A2
Пулемёты 5 × 7,62-мм Браунинг M1919A4
Подвижность
Тип двигателя звездообразный 7-цилиндровый карбюраторный воздушного охлаждения
Мощность двигателя, л. с. 250
Скорость по шоссе, км/ч 61
Запас хода по шоссе, км 113
Запас хода по пересечённой местности, км 72
Удельная мощность, л. с./т 17,9
Тип подвески сблокированная попарно, на горизонтальных пружинах
Удельное давление на грунт, кг/см2 0,60
Преодолеваемый подъём, ° 35°
Преодолеваемая стенка, м 0,6
Преодолеваемый ров, м 1,8
Преодолеваемый брод, м 0,9
Логотип Викисклада Медиафайлы на Викискладе

M3 (англ. Light tank M3) — американский лёгкий танк периода Второй мировой войны. Широко известен также под названием «Стюарт» (англ. Stuart), данным ему в войсках Великобритании в честь генерала Гражданской войны в США Джеба Стюарта[1].

M3 был создан в 1938—1941 годах на базе лёгкого танка M2. «Стюарт» серийно выпускался с марта 1941 по июнь 1944 года, неоднократно подвергаясь модернизациям по ходу выпуска. Всего было построено 23 685 танков этого типа, что сделало «Стюарт» самым многочисленным лёгким танком в истории мирового танкостроения[2].

Во Второй мировой войне «Стюарт» активно использовался войсками США, а также в значительных количествах поставлялся по программе ленд-лиза в Великобританию, СССР, Китай, войскам «Свободной Франции» и НОАЮ[2]. После войны устаревшие к тому времени, но всё ещё многочисленные «Стюарты» продавались во многие другие страны, в некоторых из которых они состояли на вооружении до 1990-х годов.

История создания и производства

Предшественники «Стюарта»

Свою историю «Стюарт» ведёт от британского танка «Виккерс 6-тонный», одного из наиболее распространённых танков в мире в межвоенный период. Именно на основе его конструкции был в 1933—1934 годах создан американский танк T5, ставший родоначальником всей линейки серийных лёгких танков США[3].

Разработки, приведшие к созданию M3, были начаты в 1938 году, когда опыт гражданской войны в Испании показал, что развитие стрелкового оружия сделало легкобронированную бронетехнику крайне уязвимой даже для обычного пехотного вооружения, не говоря уже о специализированных противотанковых средствах. 15 апреля 1938 года было проведено совещание по вопросам дальнейшего развития танковой программы, на котором было сформулировано, что состоящие на вооружении лёгкие танки M2 с максимальной толщиной брони 15,8 мм уязвимы для огня крупнокалиберных пулемётов на дистанциях в 700 метров, и уже в недалёком будущем развитие пулемётов может увеличить эту дистанцию до 900 м. Вооружение M2, ограничивавшееся одним 12,7-мм и двумя 7,62-мм пулемётами было также признано совершенно недостаточным, армии явно нужна была качественно новая машина[4].

Танк M2A4, непосредственный предшественник M3.

Первоначальный вариант будущего танка, предложенный подполковником Г. М. Бернсом, отличался крайним упрощением и удешевлением конструкции, вызванным скудным финансированием армии в те годы. По замыслу, это должен был быть лёгкий 7-тонный безбашенный танк с экипажем из двух человек, защищённый бронёй толщиной до 38 мм и вооружённый 37-мм пушкой и 7,62-мм пулемётом, размещёнными в лобовом листе корпуса. Такая компоновка позволяла использовать в конструкции танка множество узлов гражданских автомобилей и значительно снизить стоимость машины, но развития этот проект так и не получил.

Два других предложения по компоновке новой машины были представлены майором Дж. К. Кристмасом (John K. Christmas) в июле того же года. Первый вариант был схож с предложением Бернса, хотя весил на две тонны больше. После доработок, проект получил 3 августа 1938 года обозначение T6. Единственный экземпляр этого танка был собран в июне 1939 года, но вскоре все работы по этому варианту были прекращены. Развитие получил второй предложенный Кристмасом проект — 10,5-тонный танк, вооружённый 37-мм пушкой в одноместной вращающейся башне со спаренным с ней 7,62-мм пулемётом, а также вторым пулемётом в лобовом листе корпуса. Танк должен был приводиться в движение радиальным авиационным мотором «Континенталь» W-670 и быть защищённым 25-мм бронёй. Именно эта концепция и послужила в дальнейшем отправной точкой для работ по новому танку.

Результатом наработок стала модификация лёгкого танка M2 — M2A4, запущенная в производство приказом от 29 декабря 1938 года[5]. От предшественников новую машину отличала двухместная башня, оснащённая 37-мм пушкой M3A1 и спаренным с ней 7,62-мм пулемётом, утолщённое до 25 мм вертикальное бронирование и два дополнительных 7,62-мм пулемёта в спонсонах корпуса. С мая 1940 года по март 1941 года было выпущено 365 танков этой версии, ставшей прямым предшественником M3[5].

M3

Первый прототип «Стюарта» на Абердинском полигоне, 14 апреля 1941. Обращает на себя внимание полностью клёпаная конструкция корпуса и башни.

Несмотря на успешную эксплуатацию M2A4, танк явно нуждался в переработке устаревшей ходовой части. Помимо этого, приказ от 3 июня 1940 года рекомендовал к производству с 1941 года танки с увеличенной до 38 мм толщиной лобового бронирования. Модифицированный вариант танка 5 июля 1940 года получил обозначение Light Tank M3[6]. Помимо усиленного бронирования и переработанной подвески, лучше распределявшей нагрузку и снижавшей давление на грунт, танк получил клёпаные корпус и башню. С марта 1941 года, когда этот танк сменил в производстве M2A4, и до прекращения серийного производства в июле 1942 года, с единственным дополнительным танком этого варианта, выпущенным в октябре того же года, было произведено 4525 танков этого варианта, известного также под его британским обозначением Stuart I[6]. Помимо этого, в ходе серийного выпуска с июня 1941 года до августа 1942 года, с дополнительными 4 машинами, выпущенными в январе 1943 года, было произведено 1285 «Стюартов» M3 с дизельным двигателем «Гайберсон», получивших официальное обозначение Light Tank M3 (diesel), а в британских войсках известных как Stuart II[6]. В число 5810 выпущенных танков этого типа входят также так называемые «гибридные» версии, выпускавшиеся с улучшениями, накопившимися в ходе производства.

Ещё до начала производства «Стюартов», опыт боевых действий в Европе показал очень опасный недостаток клёпаных корпусов — при попадании в них снаряда, а порой даже и пули крупного калибра, из-за деформации броневых листов заклёпки отскакивали внутрь танка, превращаясь в дополнительные поражающие элементы, способные ранить или даже убить членов экипажа танка. Более того, броня могла быть не пробита, но отскочившие заклёпки поражали экипаж столь же надёжно, как и его взрыв внутри танка[7]. В связи с этим, после тестирования корпусов M3 артиллерийским обстрелом, исследовательский комитет 27 декабря 1940 года рекомендовал производство танка M3 со сварной башней, поскольку именно башня являлась наиболее уязвимой в этом отношении. Вариант с гранёной сварной башней с клёпаной командирской башенкой и утолщённой до 51 мм маской орудия, производившийся с апреля 1941 года, известен как «Стюарт» Тип 2 (англ. Stuart Type 2). Аналогичные танки, но с дизельным двигателем, известны в литературе как «Стюарт» Тип 3 (англ. Stuart Type 3)[8]. Помимо повышения защиты экипажа, сварная конструкция, за счёт избавления от полосок и уголков каркаса, уменьшала вес танка, а также несколько увеличивала внутреннее пространство.

Первый прототип M3A1 на Абердинском полигоне, 21 мая 1942.

Приказ от 27 марта 1941 года требовал скорейшей замены собиравшейся из поверхностно закалённых броневых плит башни, и вскоре M3 получили новую полностью сварную башню из гомогенной стали характерной подковообразной формы; борта и корма башни изготавливались из единой гнутой детали. На башнях этого варианта всё ещё сохранялась командирская башенка, но теперь она приобрела круглую форму и избавилась от смотровых щелей, наблюдение за полем боя стало осуществляться при помощи перископов. Этот вариант, выпускавшийся с октября 1941 года, известен в литературе как «Стюарт» Тип 4 (англ. Stuart Type 4), а его дизельная версия — как «Стюарт» Тип 5 (англ. Stuart Type 5).

Постепенно накапливавшиеся в ходе производства и эксплуатации ранних «Стюартов» улучшения привели к появлению переработанной версии, получившей обозначение M3A1, в Великобритании известной как Stuart III, а в литературе — «Стюарт» Тип 10, запущенной в производство в мае 1942 года. Всего до конца серийного производства в феврале 1943 года был выпущен 4621 танк этой модификации, в том числе 211 оборудованных дизельным двигателем машин, получивших в британской армии название Stuart IV, а в литературе известных как «Стюарт» Тип 11 (англ. Stuart Type 11)[9]. Танки этой версии получили новую башню подковообразной формы с утолщённым до 32 мм бортовым и кормовым бронированием, вращающимся полом башни, известным как башенная «корзина», электроприводом башни, стабилизатором орудия в вертикальной плоскости и многими другими усовершенствованиями. Кроме того, M3A1 получили новый корпус, собиравшийся в основном при помощи сварки, и переработанное боевое отделение без пулемётов в спонсонах корпуса. Версия M3A1 с полностью сварным корпусом, производство которой началось вскоре, в литературе известна как «Стюарт» Тип 12 (англ. Stuart Type 12) или M3A1 «поздних» серий, а её оснащённый дизельным двигателем вариант — как «Стюарт» Тип 13 (англ. Stuart Type 13). Планировалось также использование для этого варианта индекса M3A2, но в итоге он так и остался невостребованным[10].

Помимо этого, до начала серийного выпуска M3A1 было произведено 4 так называемых «гибридных» варианта «Стюартов», получивших новую башню вместе с другими улучшениями, накопившимися в ходе серийного производства, с целью как можно скорее внести их в серийные машины. Однако зачастую частичные изменения лишь усложняли танк, не давая желаемого эффекта, и особой популярностью у экипажей «гибридные» «Стюарты» не пользовались[11].

Один из первых серийных танков M3A3.

Танки M3 ранних вариантов были классифицированы как «ограниченно стандартные» в мае 1943 года, хотя в реальности были в основном заменены в войсках на более новые машины ещё к 1942 году[12], а в следующем месяце в эту категорию были переведены и M3A1. В июле того же года были переведены в класс «устаревших» ранние M3, а также дизельный вариант M3A1, из-за сложностей в обеспечении армейских частей двумя видами топлива[13].

В апреле 1942 года танковое командование подало запрос на оснащение M3A1 корпусом из наклонных бронеплит, схожим с разрабатывавшимся M5. Новый вариант танка получил обозначение M3A3, и за время серийного производства с января 1942 по сентябрь 1943 года было выпущено 3427 танков этого варианта, известного в британской армии под названием Stuart V, а в литературе — как «Стюарт» Тип 14 (англ. Stuart Type 14)[14]. Помимо нового корпуса с наклонными верхним лобовым и верхними бортовыми листами, значительно увеличившими внутренний объём и улучшившими условия работы экипажа, танк получил изменённую башню с кормовой нишей, в которой размещалась радиостанция, и противопылевые фальшборты, закрывавшие верхнюю часть гусениц. Почти все выпущенные M3A3 были поставлены в другие страны по программе ленд-лиза.

M5

M5A1 поздних серий, на испытаниях в Форт-Ноксе.

К 1941 году промышленность уже не справлялась с обеспечением M3A авиационными двигателями, что заставило искать им подходящую замену. 6 июня 1941 года было одобрено производство прототипа, оснащённого двумя автомобильными двигателями «Кадиллак» с автоматической коробкой передач, получившего обозначение M3E2[15]. Башня прототипа была аналогична модификации M3A1. Новой машине 13 ноября того же года было присвоено обозначение M4. Позже прототип M3E2 был оснащён сварным корпусом из гомогенной стальной брони с наклонным лобовым листом, получив обозначение M3E3, и в таком виде послужил основой для серийного танка. Тем временем, с февраля 1942 года началось производство нового среднего танка M4 «Шерман», и чтобы избежать путаницы, лёгкий танк получил новое название — M5, под которым он и был запущен в производство в апреле 1942 года. Всего до окончания серийного производства в декабре того же года было выпущено 2074 танка этой модификации, в том числе 1470 на заводах «Кадиллак» в Детройте и Мичигане, 354 на заводах «Дженерал Моторс» в Саутгейте и 250 на заводах компании Мэсси Харрис (Massey Harris Co.)[16].

Тем временем, было начато производство модификации M3A3, которая помимо корпуса по типу M5 получила множество других нововведений, включая новую башню с кормовой нишей. Вариант M5, оснащённый ею, 24 сентября 1942 года получил обозначение M5A1 и вскоре начал заменять M5 на сборочных линиях. До окончания серийного производства в июне 1944 года было выпущено 6810 танков этой модификации, ставшей самой массовой версией «Стюарта»[17].

С появлением M5A1, M5 были классифицированы как «ограниченно стандартные», сами же M5A1 перешли в эту категорию в июне 1944 года, с появлением более современного лёгкого танка M24 «Чаффи», но, несмотря на это, активно использовались до самого конца войны.

T7

Третий прототип танка M7, 11 января 1943.

На основе танков M3/M5 с января 1941 года разрабатывался лёгкий танк T7, который должен был стать их дальнейшим развитием. Танк отличался от своих предшественников более толстой бронёй с рациональными углами корпуса, но его вооружение состояло из той же 37-мм пушки, с заменой в перспективе на 57-мм. К 1942 году стала ясна слабость подобного орудия, поэтому в качестве основного вооружения стала рассматриваться 75-мм пушка. В процессе всех этих усовершенствований вес машины вырос до 27 тонн, что привело 6 сентября 1942 года к её переклассификации в средний танк M7. Тестирование первых трёх прототипов, законченных к октябрю 1942 года, показало, что их масса ещё более выросла по сравнению с проектной. В итоге оказалось, что новый танк, постепенно ставший средним, уступает при этом по своим характеристикам уже находящемуся в производстве M4 «Шерман», так что заказ на производство M7 был отменён[18]. «Наследником» M3 в итоге стал лёгкий танк M24 «Чаффи», во многом определивший облик послевоенного лёгкого танка — машины с противопульным бронированием, но мощной пушкой, способной эффективно поражать средние танки противника.

Производство танков велось на четырёх фирмах:

American Car & Foundry Company (ACFC), Бервик, шт. Пенсильвания

Massey Harris (MH), Расин, шт. Висконсин

Cadillac Car Division (CCD), Детройт, шт. Мичиган

South Gate Assembly (SGA), Соут Гейт, шт. Калифорния

Производство танков серии М3[19]
Год Модель Производитель 1 2 3 4 5 6 7 8 9 10 11 12 Всего
1941 М3 ACFC 1 127 211 210 210 220 248 308 238 299 2072
М3 дизель 11 43 61 61 92 100 111 479
Всего 1 127 211 221 253 281 309 400 338 410 2551
1942 М3 274 263 322 398 491 583 122 1 2454
М3 дизель 104 100 96 146 127 111 105 13 802
М3А1 1 17 535 605 592 835 198 1587 4370
М3А1 дизель 76 27 108 211
М3А3 1 1 2
Всего 378 363 418 544 619 711 762 694 620 944 199 1587 7839
1943 М3 дизель 4 4
М3А1 17 23 40
М3А3 83 420 475 475 475 475 475 500 47 3425
Всего 104 443 475 475 475 475 475 500 47 3469
Итого 13859
Производство танков серии М5[19]
Год Модель Производитель 1 2 3 4 5 6 7 8 9 10 11 12 Всего
1942 М5 MH 4 7 16 50 84 89 250
CCD 3 16 60 123 240 382 465 180 1 1470
SGA 21 51 78 105 99 354
Всего 3 16 60 127 268 449 593 369 189 2074
М5А1 MH 7 7
CCD 236 468 704
SGA 73 73
Всего 236 548 784
Всего 3 16 60 127 268 449 593 605 737 2858
1943 М5А1 MH 61 60 62 58 60 60 86 66 60 60 60 60 753
CCD 215 190 190 110 100 100 106 146 138 146 138 193 1772
ACFC 45 150 220 415
SGA 125 150 150 125 100 123 159 191 1123
Всего 401 400 402 293 260 283 351 403 198 251 348 473 4063
1944 М5А1 MH 60 60 60 60 60 24 324
CCD 230 230 270 250 74 1054
ACFC 200 168 183 34 585
Всего 490 458 513 344 134 24 1963
Итого 8884

Также имела место модернизация почти тысячи ранее выпущенных танков обеих серий.

Переделано и модернизировано[19]
Год 1944 1945 Итого
Модель 11 12 Всего 1 2 3 4 5 6 Всего
М3А3 6 75 85 54 220 220
М5, М5А1 18 92 110 136 150 154 2 131 92 665 775
Итого 995

Модификации (по британской классификации)

M3

  • M3, Stuart I, «Стюарт» Тип 1 — базовая версия с клёпаной башней.
  • M3, Stuart I, «Стюарт» Тип 2 — версия со сварной гранёной башней.
  • M3, Stuart II, «Стюарт» Тип 3 — Тип 2 с дизельным двигателем.
  • M3, Stuart I, «Стюарт» Тип 4 — версия со сварной башней подковообразной формы с командирской башенкой.
  • M3, Stuart II, «Стюарт» Тип 5 — Тип 4 с дизельным двигателем.
  • M3, Stuart Hybrid, «Стюарт» Тип 6 — «гибридная» версия с башней от M3A1, но с ручным поворотом башни и без башенной «корзины».
  • M3, Stuart Hybrid, «Стюарт» Тип 7 — Тип 6 с дизельным двигателем.
  • M3, Stuart Hybrid, «Стюарт» Тип 8 — «гибридная» версия с клёпано-сварным корпусом и башней, аналогичной Типу 6.
  • M3, Stuart Hybrid, «Стюарт» Тип 9 — Тип 8 с дизельным двигателем.
  • M3A1, Stuart III, «Стюарт» Тип 10 — версия с новой башней с электроприводом и башенной «корзиной», а также смешанным клёпано-сварным корпусом.
  • M3A1, Stuart IV, «Стюарт» Тип 11 — Тип 10 с дизельным двигателем.
  • M3A1, Stuart III, «Стюарт» Тип 12 — аналогичная Тип 10 версия, но с полностью сварным корпусом.
  • M3A1, Stuart IV, «Стюарт» Тип 13 — Тип 12 с дизельным двигателем.
  • M3A3, Stuart V, «Стюарт» Тип 14 — «Стюарт» с полностью переработанным увеличенным корпусом с наклонной вертикальной бронёй, новой башней с кормовой нишей и противопыльными фальшбортами над гусеницами.
  • X1 Carcara - крупная модернизация M3A3 Stuart бразильцами, в металле производилась, так же в модификациях.

M5

  • M5, Stuart VI — базовая версия с башней от M3A1.
  • M5A1, Stuart VI — улучшенная версия с башней от M3A3.

Тактико-технические характеристики

ТТХ различных модификаций танков семейства M3[20]
M2A4 M3 ранних серий M3 средних серий M3 поздних серий M3A1 M3A3 M5 M5A1
Размеры
Длина, м 4,43 4,53 4,53 4,53 4,53 5,03 4,34 4,84
Ширина, м 2,47 2,24 2,24 2,24 2,24 2,52 2,24 2,29
Высота, м 2,64 2,64 2,64 2,39 2,39 2,57 2,59 2,57
Боевая масса, т 11,60 12,68 12,68 12,68 12,91 14,68 14,99 15,72
Бронирование, мм
Лоб корпуса 16—25 16—44 16—44 16—44 16—44 25—44 29—44 29—64
Борта и корма корпуса 25 25 25 25 25 25 25 15—29
Лоб башни 25 38 38—51 38—51 38—51 38—51 38—51 44—51
Борта и корма башни 25 25 32 32 32 32 32 32
Крыша 6 13 13 13 13 13 13 13
Днище 6—13 10—13 10—13 10—13 10—13 10—13 10—13 10—13
Вооружение
Пушка 1 × 37-мм M5 1 × 37-мм M6 1 × 37-мм M6 1 × 37-мм M6 1 × 37-мм M6 1 × 37-мм M6 1 × 37-мм M6 1 × 37-мм M6
Пулемёты 5 × 7,62-мм M1919A4 5 × 7,62-мм M1919A4 5 × 7,62-мм M1919A4 5 × 7,62-мм M1919A4 2 × 7,62-мм M1919A4, 1 × 7,62-мм M1919A5 2 × 7,62-мм M1919A4, 1 × 7,62-мм M1919A5 2 × 7,62-мм M1919A4, 1 × 7,62-мм M1919A5 2 × 7,62-мм M1919A4, 1 × 7,62-мм M1919A5
Боекомплект, выстрелов/патронов 103 / 8470 103 / 8270 103 / 8270 103 / 8270 106 / 7220 174 / 7500 123 / 6250 147 / 6750
Подвижность
Двигатель бензиновый 7-цилиндровый радиальный «Континенталь» W-670-9A, 250 л. с. бензиновый 7-цилиндровый радиальный «Континенталь» W-670-9A, 250 л. с. дизельный 9-цилиндровый радиальный «Гайберсон» T-1020-4, 220 л. с. бензиновый 7-цилиндровый радиальный «Континенталь» W-670-9A, 250 л. с. бензиновый 7-цилиндровый радиальный «Континенталь» W-670-9A, 250 л. с. бензиновый 7-цилиндровый радиальный «Континенталь» W-670-9A, 250 л. с. спаренные бензиновые 8-цилиндровые V-образные «Кадиллак» Series 42, 2 × 110 л. с. спаренные бензиновые 8-цилиндровые V-образные «Кадиллак» Series 42, 2 × 110 л. с.
Удельная мощность, л. с./т 19,5 17,9 15,7 17,9 17,5 15,4 13,3 12,7
Максимальная скорость по шоссе, км/ч 58 58 н/д 58 58 50 н/д н/д
Запас хода по шоссе, км 113 113 144 217[21] 217[21] 217[21] 161 161

Описание конструкции

Компоновка танка с задним расположением двигателя и передним — агрегатов трансмиссии. Экипаж танка состоял из четырёх человек — механика-водителя и стрелка, расположенных в отделении управления, и заряжающего с командиром, выполнявшим также функции наводчика, размещавшихся в двухместной башне.

Броневой корпус и башня

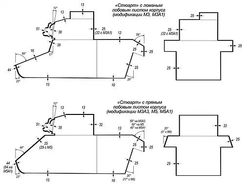
Схема бронирования танка «Стюарт» различных модификаций.

«Стюарты» имели дифференцированную противопульно-противоснарядную броневую защиту. Броневой корпус танка имел простую коробчатую форму и собирался из катаных броневых плит и броневых листов, за исключением литых нижней лобовой детали и маски орудия.

На ранних «Стюартах» модификации M3 корпус собирался при помощи заклёпок из поверхностно закалённых броневых плит и броневых листов на каркасе из подкладных полосок и уголков. Затем на танках M3A1 ранних серий корпус начал собираться частично при помощи сварки с использованием плит из гомогенной стали, а начиная с M3A1 поздних серий перешли к полностью сварным корпусам. Лобовая часть танка имела ступенчатую форму и состояла из вертикальной верхней лобовой детали толщиной 38 мм и углом наклона 17° к вертикали, средней сильно наклонённой детали толщиной 16 мм, расположенной под углом 69°, и литой гнутой нижней детали, расположенной под углом от 23° до 90° к вертикали. Бортовые листы корпуса имели толщину 25 мм и устанавливались строго вертикально. Кормовая часть танка собиралась из бронеплит толщиной 25 мм и состояла из большой нижней детали, расположенной под углом 20°, и козырька, состоявшего из верхней и средней деталей, расположенных под углами 59° и 0° соответственно. Крыша танка имела толщину 13 мм, а днище — от 10 мм в моторном отделении до 13 мм в передней части. Начиная с модификации M3A1, корпуса «Стюартов» оснащались внутренней обивкой, смягчавшей вызванные жёсткой подвеской частые удары экипажа о корпус машины при движении по неровной поверхности[22].

«Стюарты» модификации M3A3 получили новый полностью сварной корпус из наклонно расположенных катаных гомогенных броневых плит с увеличенным внутренним объёмом. Состоявшая из двух деталей ступенчатая верхняя лобовая часть была заменена единой деталью толщиной 25 мм, расположенной под углом 48° к вертикали. Кроме того, люки стрелка и механика-водителя были перенесены на крышу танка, что дополнительно повысило снарядостойкость лобовой части. Наклонными также стали верхние бортовые детали, расположенные под углом 20°. Бронирование кормовой и нижней бортовой частей танка осталось без изменений.

Корпус M5 был схож с корпусом M3A3, отличаясь утолщённой до 29 мм верхней лобовой деталью, строго вертикальными бортовыми листами и изменёнными углами наклона верхней и нижней кормовых деталей — 60° и 17° соответственно. Корпус M5A1 отличался от M5 новой литой нижней лобовой деталью переменной толщины, от 38 до 64 мм, а также вновь изменённым углом наклона кормовых деталей — 49° и 17°.

Посадка и высадка командира и заряжающего осуществлялась через люк (начиная с M3A1 — два индивидуальных люка) в крыше башни, а механика-водителя и стрелка — через люки в верхней лобовой детали корпуса (на модификациях с наклонным лобовым листом — в крыше корпуса).

Установка башни на танк M3A3. Хорошо видна башенная корзина, по размерам которой можно составить представление о тесноте боевого отделения.

Башня танка у M3 ранних серий — восьмигранная, собиравшаяся на каркасе из подкладных уголков из поверхностно закалённых катанных броневых листов. Уже вскоре после начала серийного выпуска перешли к сварной сборке башни. Толщина лобовой плиты башни составляла 38 мм при угле наклона 10°, а толщина строго вертикальных бортовых и кормовых плит — 25 мм. Крыша башни имела толщину 13 мм. Максимальная толщина литой маски орудия составляла 38 мм. Уже начиная с M3 поздних серий стали устанавливать новую башню «подковообразной» формы, собиравшуюся при помощи сварки из катаных гомогенных броневых плит — гнутой «подковы» толщиной 32 мм и лобовой детали толщиной 38 мм, с теми же углами наклона. Максимальная толщина маски орудия на таких башнях была увеличена до 51 мм.

Вращение башни на танках модификации M3 осуществлялось вручную, при помощи плечевого упора, а начиная с M3A1 — при помощи электропривода. На ранних «Стюартах» командир и заряжающий стояли на полу боевого отделения и были вынуждены передвигаться в соответствии с вращением башни, что было весьма непросто, учитывая проходивший через боевое отделение карданный вал. Поэтому, начиная с модификации M3A1, «Стюарт» получил так называемую «башенную корзину» с сидениями для командира и заряжающего, вращавшуюся вместе с башней. Несмотря на очевидное удобство, «корзина» сокращала и без того небольшой объём боевого отделения, поэтому некоторые экипажи предпочитали снимать её со своих новых танков[23]. На модификации M3A3 у башни появилась кормовая ниша, использовавшаяся для размещения радиостанции.

Вооружение

Основным вооружением танка являлась 37-мм пушка M6, бывшая танковым вариантом противотанковой пушки M3. Длина ствола орудия составляла 53,1 калибра / 1965 мм на ранних машинах, но вскоре была доведена до 56,6 калибров / 2094 мм. Пушка оборудовалась полуавтоматическим вертикальным клиновым затвором с механизмом извлечения стреляной гильзы, гидравлическим тормозом отката и пружинным накатником. Начиная с модификации M3A1, на орудии стал устанавливаться перископический прицел M4 или M5A1. Теоретическая скорострельность орудия достигала 30 выстрелов в минуту, но в реальности была значительно меньше[24]. Из-за задержек с поставками пушек M6 некоторые «Стюарты» ранних серий получили 37-мм пушки модели M5 в установке M20, аналогичные устанавливавшимся на танке M2A4. M3 с такими орудиями легко отличимы по размещённым под стволом противооткатным устройствам, вынесенным за пределы башни и прикрытым броневым кожухом[25].

Орудие размещалось в спаренной с пулемётом установке M22 (на ранних M3), M23 (поздние M3, M3A1 и M5) или M44 (M3A3 и M5A1). Вертикальная наводка, в пределах −10…+20°, а на M3 с ручным поворотом башни и точная горизонтальная, в пределах ±10°, осуществлялись при помощи секторного механизма, имелась также возможность наводки качанием орудия при помощи плечевого упора. На модификациях с электроприводом башни горизонтальная наводка осуществлялась исключительно её поворотом. Начиная с модификации M3A1, орудие оборудовалось стабилизатором в вертикальной плоскости, многократно повышавшим точность стрельбы на ходу, но в реальности этот сложный механизм, требовавший специальной подготовки экипажа, чаще всего отключался[26]. Для наведения орудия использовался телескопический прицел M40A2 (поле зрения 9°, увеличение ×1,44) входящий в состав перископа М4А1 . Также на танках модификаций M3A3 применялись телескопические прицелы М54LS[27] а на модификации M5A1 — M70DS[28] (поле зрения 12°19′, увеличение ×3) различаюхшися только прицельными сетками.[29]

Боеприпасы 37-мм пушки M6[24][30][31]
Тип снаряда Марка Масса выстрела, кг Масса снаряда, кг Масса ВВ Дульная скорость, м/с (M6/M5)
Бронебойный остроголовый сплошной трассирующий AP M74 Shot 1,51 0,87 884 / 870
Бронебойный тупоголовый сплошной с баллистическим наконечником APC M51 Shot 1,58 0,87 884 / 870
Осколочный HE M63 Shell 1,42 0,73 39 г тротила 792 / 782
Картечь Canister M2 1,58 0,88 122 стальные пули 762 / 752
Справа: Боеприпасы пушки M3:
  1. Выстрел со снарядом M51 (бронебойный остроголовый сплошной с бронебойным и баллистическим наконечниками, трассирующий)
  2. Выстрел со снарядом M74 (бронебойный остроголовый сплошной, трассирующий)
  3. Выстрел со снарядом M63 (осколочный)
  4. Выстрел с картечью M2

Боекомплект пушки составляли, в зависимости от модификации, от 103 до 174 унитарных выстрелов с бронебойными, осколочными и картечными снарядами. Первоначально укладка для боекомплекта размещалась на полу боевого отделения под башней, но на модификациях M3A3, M5 и M5A1 боекомплект удалось значительно увеличить за счёт размещения дополнительных снарядов в надгусеничных нишах.

Таблица бронепробиваемости для M6
СнарядРасстояние, м
91 320 457 914 1371 1828
AP M74 Shot (угол встречи 0°)[32] 36
AP M74 Shot (угол встречи 20°)[33] 25
APC M51 Shot (угол встречи 0°)[32] 61
APC M51 Shot (угол встречи 20°)[33] 53
APC M51 Shot (угол встречи 30°, гомогенная броня)[24][34] 63 58 53 46 40 35
APC M51 Shot (угол встречи 30°, поверхностно-закалённая броня)[24] 46 40 38 33
Следует помнить, что в разное время и в разных странах использовались различные методики определения бронепробиваемости. Как следствие, прямое сравнение с аналогичными данными других орудий часто оказывается невозможным.
Таблица бронепробиваемости для M5[35]
СнарядРасстояние, м
100 300 500 1000 1500 2000
APCBC M51, сплошной, трассирующий (угол встречи 0°) 49 42 37 25 18 14
APCBC M51, сплошной, трассирующий (угол встречи 30°) 40 34 30 21 15 11
Бронепробиваемость рассчитана по стандартной советской методике (формула Жакоб-де-Марра для цементированной брони с K=2400)

Помимо пушки, вооружение танка модификации M3 составляли пять 7,62-мм пулемётов «Браунинг» M1919A4. Один из них находился в спаренной с пушкой установке и управлялся командиром, другой был расположен в шаровой установке в лобовом листе корпуса и обслуживался стрелком. Ещё два размещались в бортовых спонсонах, огонь из них вёл дистанционно механик-водитель при помощи спусковых тросов. Угол наведения шаровых установок этих пулемётов был ограничен, и наведение их на цель осуществлялось обычно поворотом всей машины. Пятый, зенитный, пулемёт был размещён на турели на крыше башни. Начиная с модификации M3A1, отказались от установки бортовых пулемётов и заменили спаренный с пушкой пулемёт более приспособленным к установке в танках вариантом M1919A5. Боекомплект пулемётов, в зависимости от модификации, варьировался от 6250 до 8470 патронов, большей частью размещённых в надгусеничных нишах.

Для самообороны экипажа, танки оснащались пистолетом-пулемётом Томпсона калибром 11,43 мм, 350—540 (в зависимости от модификации танка) патронами к нему и 14 ручными гранатами (4 оборонительных MkII, 2 наступательных MkIIIA2, 4 дымовых M15 и 2 зажигательных).

Средства наблюдения и связи

Наблюдение за полем боя на «Стюартах» модификации M3 велось через десять закрытых бронестёклами смотровых щелей, из которых четыре располагались в лобовой части корпуса, а остальные шесть — в командирской башенке. На машинах с «подковообразной» башней смотровые щели в башенке были поначалу ликвидированы, а наблюдение за полем боя стало вестись при помощи перископа. Однако его установка в крыше башенки оказалась неудачной, и уже в ходе серийного производства в командирской башенке вновь появились четыре смотровых щели[36]. Окончательно проблемы со смотровыми приборами были разрешены только на модификации M3A1, башня которой лишилась командирской башенки и получила два перископических прибора наблюдения M4A1, для командира и заряжающего. Кроме того, наблюдение могло вестись через смотровые щели в бронезаслонках, расположенных в бортах и корме башни трёх портов для стрельбы из личного оружия, которые были убраны только на модификациях M3A3 и M5A1. Свои наблюдательные приборы имелись у водителя и стрелка-радиста.

Все «Стюарты» оборудовались радиостанцией. На модификациях M3 и M3A1 устанавливалась радиостанция модели SCR 210, размещавшаяся в спонсоне корпуса и обслуживавшаяся стрелком-радистом. Командирские машины оборудовались более мощной радиостанцией SRC 245. На танках модификации M5 устанавливалась радиостанция SCR 508, SCR 528 или SCR 538, имевшая только голосовой режим связи, на дальность до 15 км. Командирские машины оборудовались мощной радиостанцией SCR 506, имевшей дальность связи до 80 км в голосовом и 120—160 км в телеграфном режиме. На «Стюартах» модификации M3A3 и M5A1, кроме командирских машин, радиостанция была перенесена в кормовую нишу башни, где работу с ней осуществлял командир танка. Кроме этого, «Стюарты» всех модификаций оборудовались внутренним телефонным переговорным устройством RC 61.

Двигатель

На модификациях «Стюарта» с M3 по M3A3 устанавливался авиационный 7-цилиндровый радиальный бензиновый двигатель воздушного охлаждения «Континенталь» W-670-9A с рабочим объёмом 10,95 л и мощностью 250 л. с. при 2400 об/мин. Топливом для него служил авиационный бензин с октановым числом не ниже 92, в случае крайней необходимости — другой бензин, с октановым числом не ниже 82[37]. На части M3 и M3A1 вместо него устанавливался 9-цилиндровый радиальный четырёхтактный дизельный двигатель воздушного охлаждения «Гайберсон» T-1020-4 рабочим объёмом 16,73 л и мощностью 220 л. с. при 2200 об/мин.

Четыре топливных бака, вместимостью 51 литр каждый, размещались в моторном отделении и надгусеничных нишах. Высокое потребление топлива авиационным двигателем привело к тестированию в сентябре — ноябре 1941 года установки дополнительных внешних баков. Вскоре на оснащённые такими двигателями «Стюарты» стали устанавливаться на надгусеничных нишах два 94,6-литровых цилиндрических бака, сбрасываемых изнутри танка, что позволило почти вдвое увеличить запас хода танка. Выхлопные газы выводились через карман между нижней и средней кормовыми бронеплитами.

На «Стюартах» M5 и M5A1 двигательная установка состояла из спарки автомобильных бензиновых двигателей жидкостного охлаждения конфигурации V8 «Кадиллак» Series 42, каждый рабочим объёмом 5,67 л и мощностью 110 л. с. при 3400 об/мин. Спаренный блок этих двигателей размещался аналогично радиальным, радиатор системы охлаждения размещался над двигателем.

Начиная с модификации M3A1, «Стюарт» оборудовался дополнительным бензиновым генератором, призванным обеспечивать питание многочисленного электрооборудования танка при отключённом главном двигателе.

Трансмиссия

M3 оснащались механической трансмиссией, в состав которой входили:

  • установленный непосредственно на двигателе многодисковый главный фрикцион сухого трения;
  • карданный вал;
  • находящаяся в передней части танка пятиступенчатая синхронизированная коробка передач;
  • заключённый в единый корпус с коробкой передач дифференциал, служивший также для торможения одной из полуосей или всего танка;
  • однорядные бортовые передачи с двухдисковыми фрикционами сухого трения.

Танки M5, помимо автомобильных двигателей, получили и автомобильную автоматическую коробку передач «Кадиллак» Hydra-Matic. В состав трансмиссии танков с такими двигателями входили:

  • две установленные на двигателях гидромуфты;
  • две автоматические пятиступенчатые коробки передач с гидравлическим управлением;
  • два карданных вала;
  • двухступенчатый планетарный редуктор, соединявший потоки мощности от обоих двигателей;
  • двухступенчатый дифференциал;
  • однорядные бортовые передачи с двухдисковыми фрикционами сухого трения.

Применение на танке автоматической коробки передач усложнило обслуживание и ремонт трансмиссии, но облегчило обучение и работу водителя.

Ходовая часть

Ходовая часть «Стюарта» осталась единственным узлом, нисколько не изменившимся в ходе серийного производства машины. Четыре одиночных обрезиненных опорных катка с каждой стороны корпуса были сгруппированы попарно в тележки, подвешенные на вертикальных буферных пружинах. Необрезиненный ленивец большого диаметра имел аналогичную подвеску и был опущен до уровня земли, исполняя роль пятого опорного катка. Такая конструкция увеличивала площадь соприкосновения гусеницы с землёй, улучшая сцепление и помогая лучше распределить нагрузку. Верхняя часть гусеницы поддерживалась с каждого борта тремя маленькими обрезиненными поддерживающими катками. Ведущие колёса передние, зацепление гусениц цевочное.

Каждая из двухгребневых обрезиненных гусениц состояла из 66 траков, с шагом 140 мм и шириной 194 мм. Для улучшения проходимости, на случай недостаточного сцепления гусениц с поверхностью, в стандартный возимый комплект танка входили 34 съёмных грунтозацепа, устанавливавшихся на каждый шестой трак[38][39].

Машины на базе «Стюарта»

Первый прототип M8 на Абердинском полигоне, 22 сентября 1942.

Серийные

M8

M8, единственная серийная САУ на базе «Стюарта», была разработана в 19411942 годах на базе M5 и оснащалась короткоствольной 75-мм гаубицей M1 в открытой сверху вращающейся башне и 12,7-мм пулемётом M2. За время серийного производства с сентября 1942 по январь 1944 года было выпущено 1778 M8, активно использовавшихся в ходе Второй мировой в Италии и Северо-Западной Европе[40].

M3 «Сатана»

Имя «Сатана» присваивалось огнемётным танкам, переоборудованным в 1944 году из устаревших к тому времени M3 и M5. Со «Стюартов» снималось 37-мм орудие, а на его место устанавливался британский огнемёт «Ронсон», стрелявший струёй напалма на расстояние до 60—80 метров. Экипаж машины при этом сокращался до двух человек — водителя и стрелка-командира. Общий выпуск этих машин составил 24 экземпляра[41].

Безбашенные «Стюарты»

После падения ценности «Стюарта» как боевого танка многие из них, состоявшие на вооружении армии Великобритании, переделывались путём снятия башни и крыши боевого отделения в бронетранспортёры «Кенгуру» (англ. Stuart Cangaroo), разведывательные машины (англ. Stuart Recce), командирские и другие специализированные машины.

Прототипы и проекты

Прототипы САУ на шасси M3 и M5

В 1941—1942 годах M3 послужил основой для множества спешно разрабатывавшихся с началом Второй мировой проектов САУ. Работы по большинству из них были свёрнуты в 1942—1943 годах, а признанные перспективными проекты были в 1944 году перенесены на более современное шасси лёгкого танка M24 «Чаффи»[42]:

  • T20 — разрабатывавшийся в сентябре — октябре 1941 года проект противотанковой САУ на базе M3, вооружённой 75-мм пушкой T9. Работы по нему были прекращены, так как 75-мм орудие сочли слишком мощным для установки на лёгкий танк.
  • T29 — проект истребителя танков с башней среднего танка M4 «Шерман» на шасси M3. Разрабатывался в декабре 1941 — апреле 1942, но был отменён из-за отсутствия интереса со стороны армии.
  • T50 — предложенный в мае 1942 года проект противотанковой САУ с 75-мм пушкой во вращающейся открытой сверху башне больших размеров.
  • T56 и T57 — различавшиеся в основном двигательной установкой, вооружённые 75-мм пушкой прототипы противотанковых САУ со средним расположением двигателя. Разрабатывались в сентябре 1942 — феврале 1943, но по результатам испытаний 75-мм пушка была вновь признана слишком мощной для столь лёгкой машины.
  • Т18 — САУ поддержки на шасси M3, вооружённая 75-мм гаубицей в просторной полностью закрытой бронированной рубке. Разрабатывалась с октября 1941 по май 1942 года, но проект был заброшен из-за появления более совершенной САУ M8[43].
  • T47 — САУ на шасси танка M5, с вооружением, аналогичным T18, но размещённым в открытой сверху рубке. Разрабатывалась одновременно с T18 и также была заброшена с появлением M8.
  • T82 — разрабатывавшаяся с ноября 1943 года САУ на шасси M5A1, вооружённая 105-мм лёгкой гаубицей M3A1 в открытой сверху легкобронированной рубке. К 15 августа 1944 были завершены два прототипа T82, но отсутствие интереса со стороны армии привело к отмене проекта 21 июня 1945 года.
  • T16 — САУ на удлинённом шасси M5 с дополнительной парой тележек подвески и средним расположением двигателя, вооружённая 114-мм пушкой M1, установленной без броневого прикрытия. Разработка велась с августа 1941 года и к началу 1943 года первый прототип успешно прошёл испытания, однако 114-мм пушка была признана неподходящим вооружением и работы по САУ были прекращены.
  • T27 и T29 — самоходные миномёты, калибром 81 и 107 мм соответственно, разрабатывавшиеся на шасси M5A1 с ноября 1943 года. Прототипы обеих САУ прошли испытания в марте — апреле 1944 года, но были отвергнуты из-за слишком тесного для обслуживания миномёта боевого отделения.
  • T85 — зенитная самоходная установка со счетверёнными 20-мм пушками на шасси T16, разрабатывавшаяся с мая 1943 года. К 1945 году были готовы два прототипа T85, но с окончанием войны работы по ней были свёрнуты.
  • T65 — ЗСУ со спаренными 40-мм пушками M1 на аналогичном T85 шасси, разрабатывавшаяся с мая 1942 года. В 1943 был построен один прототип, но вскоре для неё было решено использовать шасси на основе лёгкого танка T24 (будущего M24 «Чаффи»).

Помимо этого, в ходе войны проводились эксперименты с созданием ЗСУ на базе M3 и M5, вооружённых 12,7-мм пулемётами в спаренных или счетверённых установках, но дальше постройки прототипов дело не зашло, и ни один из этих проектов не получил официального обозначения.

Послевоенные разработки

X1A

В 1970-х годах в Бразилии была предпринята модернизация всё ещё стоявших на вооружении танков M3A1. Новая машина получила обозначение X1A. Танки были серьёзно переоборудованы, получив, среди всего прочего, новую башню с 90-мм пушкой DEFA D-92A 90F1. К 1978 году было переоборудовано 80 экземпляров этого танка, но его служба в бразильской армии оказалась недолгой. Продукт дальнейшего развития этого танка — X1A2 — по сути являлся полностью новой машиной, не имевшей ничего общего со «Стюартом»[44].

Состоял на вооружении

Страны, использовавшие танк «Стюарт».

Современные:

Бывшие:

Боевое применение

Вторая мировая война

Поставки «Стюартов» по программе ленд-лиза

Поставки танков M3 и M5 по программе ленд-лиза[46]
модификация Великобритания СССР другие страны всего поставлено в % от общего выпуска
M3 1784 1336 10 3130 69,1
M3 (diesel) 50 0 120 170 13,2
M3A1 1594 340 499 2433 55,2
M3A1 (diesel) 0 0 20 20 9,5
M3A3 2045 0 1277 3322 92,5
M5 0 0 0 0 0
M5A1 1431 5 226 1662 21,9
всего 6904 1681 2152 10 737 45,3
Любые передачи «Стюартов» после отправки из США в этой таблице не учитываются

Северная Африка

Британские войска
Британский «Стюарт» из 7-й танковой дивизии. Египет, март 1942.

Вышло так, что впервые в бой «Стюарты» вступили, находясь под британским флагом. После больших потерь танкового парка в боях в Европе 19401941 годов Великобритания оказалась не в состоянии быстро их восполнить и была вынуждена обратиться к США. После того как в производстве британских танков на заводах США им было отказано, единственным решением оставалась закупка американских машин. Поскольку производство полноценных средних танков ещё не было развёрнуто, единственными доступными оставались лёгкие танки M3. Первые 84 танка этого типа получил 8-й Королевский Ирландский гусарский полк в июне — июле 1941[1]. «Стюарты», как их назвали в Великобритании, получили смешанные оценки, основными претензиями к ним были поворачиваемая вручную башня без вращающегося пола, в отличие от британских танков, а также общая теснота боевого отделения, несовершенные смотровые приборы и крайне малый запас хода. В то же время отмечалась превосходная надёжность двигательной установки и танка в целом, за которую танк получил от своих экипажей прозвище «Миляга» (англ. «Honey»). 37-мм пушка M3 также была найдена ни в чём не уступающей, а в бронепробиваемости в некоторых случаях даже превосходящей единственную британскую танковую пушку — 40-мм QF 2 pounder[62]. Вскоре новые машины получили также 4-я бронетанковая бригада и 7-я бронетанковая дивизия. К концу октября 1941 британские войска в Северной Африке насчитывали уже 300 «Стюартов».

По принятому в то время разделению танков на крейсерские и пехотные M3 был классифицирован как крейсерский танк «Стюарт» (англ. Cruiser tank, Stuart), хотя его крайне ограниченный запас хода и не соответствовал британским требованиям к крейсерским танкам. В войсках Великобритании «Стюарты» часто модифицировались, с целью лучше приспособить танк к конкретным условиям службы. Наиболее заметным из них была установка на ранних, предназначенных для Северной Африки машинах фальшбортов характерной формы над верхней частью гусениц, с целью уменьшить облако пыли, поднимаемое при движении в пустыне. Также танки оборудовались дополнительными ящиками для снаряжения, дымовыми гранатомётами, дополнительными топливными баками и другим оборудованием. Пулемёты в спонсонах корпуса британцы обычно снимали, для увеличения внутреннего пространства[63]. Ещё одной любопытной модификацией, которой подвергались британские «Стюарты», стало перераспределение функций экипажа. В двухместной башне M3 командир был вынужден выполнять ещё и функции наводчика, что мешало выполнению им своих прямых обязанностей — наблюдения за боевой обстановкой и координации действий экипажа. Чтобы разрешить эту проблему, функции наводчика были переложены на стрелка, который во время боя перемещался в башню на место командира, в то время как последний перемещался в кормовую часть башни и наблюдал за местностью из командирской башенки. Число экипажей, использовавших подобную тактику, неизвестно[64].

Безбашенный бронетранспортёр «Кенгуру», используемый в роли артиллерийского тягача.

К началу операции «Крестоносец», 18 ноября 1941 года, в 7-й британской бронетанковой дивизии насчитывалось уже 165 «Стюартов», что составляло более трети её танкового парка. Первое сражение с их участием состоялось 19 ноября, когда «Стюарты» 8-го гусарского полка вступили в бой с танками 5-го танкового полка 21-й германской танковой дивизии. В первом же бою было выведено из строя 23 «Стюарта», в то время как потери германской стороны составили всего 2 танка уничтоженными и 6 повреждёнными[62]. После новых ожесточённых боёв, последовавших на следующий день, в которых принимали участие уже все вооружённые «Стюартами» британские части, в строю осталось всего 98 M3. В ночь с 22 на 23 ноября британцы вновь понесли тяжёлые потери после ночного нападения 8-го танкового полка 15-й германской танковой дивизии. В результате всего этого, к окончанию боёв 23 ноября, 7-я дивизия потеряла более 3/4 своих танков и имела в строю всего около 35 «Стюартов» и 40 британских крейсерских танков. Причиной этого было не только использование лёгких танков в неподходящей для них роли, но и серьёзное превосходство германских частей в тактике танкового боя[65].

С весны 1942 года в войска постепенно стали поступать более мощные M3 «Грант», а лёгкие танки стали в основном использоваться по назначению — в качестве быстроходных разведывательных машин. К тому времени стало уже очевидно, что в бою «Стюарты» неспособны противостоять основным германским средним танкам — PzKpfw III и PzKpfw IV, однако будучи доступны в больших количествах, они всё ещё оставались на вооружении 12 танковых полков. Лишь к лету 1942 года рост поставок средних танков позволил окончательно перевести «Стюарты» на роль разведывательных машин[66]. Тогда же началось переоборудование «Стюартов» в безбашенные разведывательные машины и бронетранспортёры. Ко времени сражения при Эль-Аламейне в октябре — ноябре 1942 года количество «Стюартов» в британских войсках сократилось до 128 машин, приблизительно до 11 % от общего числа танков[66].

Войска США
M3 из 13-го танкового полка армии США. Тунис, январь 1943.

Ко времени высадки войск США в Северной Африке, M3, M3A1 и M5 поначалу составляли основу американских танковых сил — 1-й и 2-й танковых дивизий, отчасти из-за того, что доставка более мощных средних «Грантов» была в то время затруднена, но также и потому, что в не имевших опыта боёв с германскими танками войсках США лёгкие танки всё ещё считались способными к бою в первых рядах[67]. В ходе операции «Факел», начавшейся 8 ноября 1942 года, «Стюартам» пришлось столкнуться в бою с танками R 35 вишистских войск, но маломощные пушки французских танков оказались не в состоянии пробить даже тонкую броню «Стюартов», и американцы уничтожили 14 R 35, потеряв всего один M3 повреждённым[68].

С итальянской бронетехникой «Стюарты» впервые встретились 25 ноября 1942 года, когда танки штабной роты уничтожили две САУ Semovente da 47/32. В тот же день, «Стюарты» 1-й танковой дивизии впервые вступили в сражение с 13 германскими танками. Последним первоначально удалось подбить 6 «Стюартов», будучи в лобовой проекции практически неуязвимыми для 37-мм пушек, но тем временем зашедшие с фланга резервные силы открыли огонь по куда более уязвимым бортам немецких машин и вывели из строя шесть PzKpfw IV и один PzKpfw III, заставив остальные отступить[69]. В дальнейшем «Стюартам» нередко приходилось использовать подобную тактику. По результатам боёв 1942—1943 годов танкисты рекомендовали 75-мм пушку как минимально необходимую, но даже несмотря на увеличение в дальнейшем числа средних танков, «Стюарты» продолжали использоваться в неподходящей для себя роли[70]. Необходимость перемен стала окончательно ясна лишь после боёв в Кассеринском проходе 1925 февраля 1943 года, в которых американцы потеряли 2/3 имевшихся у них на Африканском театре военных действий танков[71].

Италия

Ко времени высадки союзников в Сицилии 9 июля 1943 года «Стюарты» были окончательно переведены на роль разведывательных вспомогательных машин приказом, выпущенным в июне 1943. Тем не менее, в ходе этой операции и последовавшей Итальянской кампании они активно использовались и для поддержки пехоты, чему способствовал горный рельеф Италии, затруднявший действия более тяжёлых машин[72]. Всего в боевых действиях в Италии войсками США было потеряно 424 «Стюарта»[52].

Северо-западная Европа

M5A1, встречаемый жителями французского городка. Франция, сентябрь 1944 года. Танк оснащён приспособлением для преодоления живых изгородей.

В сентябре 1943 года танковые дивизии США подверглись переформированию с сокращением числа лёгких танков до одной роты на три роты средних танков. Некоторые из дивизий, впрочем, сохраняли старую структуру. Кроме того, существовало также несколько отдельных штабных батальонов лёгких танков и отдельных разведывательных кавалерийских танковых эскадронов. Хотя ко времени высадки в Нормандии союзных войск 6 июня 1944 года «Стюарт» успел безнадёжно устареть, он всё ещё в огромных количествах оставался в войсках, так что отказ от него даже не рассматривался армией, тем более что замены танку всё ещё не существовало[58][73]. Вследствие уже полной неспособности бороться даже со средними танками противника, «Стюарты», к тому времени в основном M5A1, использовались исключительно для разведки, а также для преследования отступающего противника. Несмотря на это, в боях в июне — сентябре 1944 года «Стюарты» несли очень тяжёлые потери[58]. К тому времени броня «Стюарта» пробивалась без труда практически всеми танковыми и противотанковыми пушками, а также фаустпатронами[74]. Среди причин потерь «Стюартов» бо́льшую часть составляли танковые и противотанковые орудия — 55 % выведенных из строя машин, на противотанковые мины и огонь гранатомётов приходилось 25 и 15 % соответственно. Общие же потери войск США на этом театре военных действий составили 777 «Стюартов»[52]. Тем не менее, на сентябрь 1944 года в войсках США в Северо-Западной Европе оставалось ещё более 1110 M5A1[58]. С появлением в войсках гораздо более совершенных лёгких танков M24 «Чаффи» с декабря 1944 года «Стюарты» переводились на второстепенные роли.

Британские и канадские войска во время боевых действий в Северо-Западной Европе наряду с M5A1 применяли также и «Стюарты» более старых модификаций — M3A1 и M3A3, но бо́льшая их часть переделывалась в то время в безбашенные бронетранспортёры «Кенгуру», а также разведывательные и командирские машины[75]. Линейные же «Стюарты» сводились в разведывательные роты в составе танковых частей, по 11 машин в каждой. Кроме того, «Стюартами» были вооружены сформированные в 1943—1944 годах в Великобритании польские и чехословацкие части. Ещё 56 танков M3A3 были переданы англичанами Народно-освободительной армии Югославии летом 1944[47].

Тихоокеанский театр военных действий

M3, Гуадалканал, 1942 год.

108 M3 192-го и 194-го танковых батальонов, прибывших на Филиппины в ноябре 1941 года, стали первыми американскими танками, принявшими участие во Второй мировой войне. Несмотря на то, что «Стюарты» по своим боевым качествам значительно превосходили японские лёгкие танки «Ха-Го» и даже могли на равных сражаться с японскими средними танками «Чи-Ха», американские танковые войска понесли тяжёлые потери в боях за Филиппины в декабре 1941 — апреле 1942 года. После капитуляции войск США на Филиппинах 9 апреля 1942 года исправные M3 были захвачены японцами и активно использовались ими вплоть до 1945 года, таким образом став первыми и последними «Стюартами», воевавшими на Тихоокеанском театре военных действий[12]. Интересно, что считавшиеся по американским и британским меркам тесными «Стюарты» японцам после своих крайне ужатых танков казались очень просторными[55].

С высадкой японских войск в Малайе в декабре 1941 года находившаяся в Египте вооружённая «Стюартами» британская 7-я танковая бригада была спешно направлена на помощь Сингапуру. Однако британские войска в Сингапуре капитулировали ещё до прибытия подкреплений, и танки были переброшены в Бирму. Там они прикрывали отступавшие британские войска во время японского наступления в апреле — мае 1942 года, а 10 мая оставшиеся в строю M3 были, из-за невозможности переправить их через реку Чиндуин, уничтожены, чтобы предотвратить их захват японцами. Единственный «Стюарт», который сумели на плоту переправить на другой берег, был переоборудован в безбашенную командную машину, получившую название «Curse of Scotland», и использовался впоследствии в Индии[76]. Также «Стюарты» составляли основу индийских танковых частей, в 1942—1944 сражавшихся с японцами в Бирме.

«Стюарты» активно использовались во время боёв за Гуадалканал в августе 1942 — феврале 1943 года. 1-й танковый батальон морской пехоты, прибывший на остров в сентябре 1942, был вооружён как танками M3A1, впервые использовавшимися в бою, так и устаревшими M2A4, а также M3 с дизельным двигателем. В боях они в основном использовались для поддержки пехоты, показав высокую эффективность картечных снарядов. Позднее, «Стюарты» также применялись в боях в Новой Гвинее в 1942—1945 годах. Несмотря на довольно успешное применение, тонкая броня M3 делала их уязвимыми для противотанкового оружия японцев, поэтому было рекомендовано в дальнейшем использовать в джунглях средние танки, несмотря на их худшую проходимость[77].

Непригодные, по европейским меркам, для танкового боя, на Тихоокеанском театре военных действий «Стюарты» были способны на равных противостоять японским танкам, защищённым в основном лишь противопульной бронёй. Несмотря на это, к лету 1944 года «Стюарты» были в основном заменены танками M4 «Шерман», обеспечивавшими качественное превосходство над японской бронетехникой[78].

Восточный фронт

СССР явился вторым по численности, после Великобритании, получателем M3 по программе ленд-лиза. Первые «Стюарты» прибыли в СССР в январе 1942 года и продолжали поставляться до апреля 1943 года. Почти все они относились к модификациям M3 и M3A1 (было отправлено 340 M3 и 1336 M3A1, дошло до СССР в сумме 1232 танка, в том числе 211 дизельных)[79]. Кроме того было отправлено "на пробу" 5 M5A1, когда поставки были прекращены по инициативе советской стороны. В Красной армии «Стюарты» именовались «М3 лёгкий» или просто «М3л»[56].

Поступление танков "М-3 легкий" и "М-5" по данным приёмных комиссий ГБТУ
Модель Год Место прибытия 1 2 3 4 5 6 7 8 9 10 11 12 Всего
М3л 1942 Север 46 11 38 178 147 84 104 71 679
Юг 57 15 130 96 298
Всего 46 11 38 178 147 84 161 15 130 167 977
1943 Север 40 40
Юг 125 37 37 16 215
Всего 165 37 37 16 255
Итого 1232
М5 1943 Юг 2 2 1 5

Несмотря на высокие ходовые качества и превосходство по сумме характеристик над всеми советскими лёгкими танками, за исключением мелкосерийных Т-50 и Т-80, M3 не пользовались особым успехом у танкистов. Полученные в 1942 году танки для комфорта танкистов внутри боевого отделения были оклеены губчатой резиной, которая при горении выделяла удушливый дым[80]. Танк отличался большими габаритами, слабым бронированием и особенно вооружением, был сложен, по советским меркам, в эксплуатации, а авиационный мотор M3 потреблял большое количество дефицитного высокооктанового бензина[81], и соответственно, горел как свечка в случае удачной стрельбы противника. Кроме того, первоначально вместе со «Стюартами» поставлялись только бронебойные снаряды к ним, что серьёзно ограничивало возможности танка к борьбе с пехотой или противотанковыми орудиями[66].

М3 с именем "Суворов" в районе Сталинграда.

С улучшением ситуации с численностью танков к 1943 году «Стюарты» в основном заменялись в войсках более мощными машинами, но отдельные части продолжали использовать их до 1945 года[82]. Тем не менее, танки M3 применялись Красной армией очень активно, практически на всех фронтах. Много «Стюартов» воевало на Северо-Кавказском и Закавказском фронтах (сказывалась близость к иранскому маршруту поставок), танки этого типа участвовали в боях Западного фронта на Ржевско-Сычёвском направлении в 1942 году. В феврале 1943 года 563-й отдельный танковый батальон с М3л участвовал в высадке десанта в Южную Озерейку под Новороссийском (единственная советская десантная операция, в ходе которой танки высаживались в первой волне десанта); из участвовавших в высадке 30 танков бо́льшая часть была уничтожена при высадке, но 8 танков смогли сойти на берег и несколько дней вели бои, пока не были подбиты. Воевали эти танки и на Северо-Западном фронте (на февраль 1943 года в двух танковых полках числилось 27 М3л)[79]. В составе Воронежского фронта М3л появились ещё летом 1942, а к началу Курской битвы в составе 245-го отдельного танкового полка и 192-й танковой бригады имелся 51 танк этого типа. Интересно, что М3л стали первыми советскими танками, вступившими в бой с немецкими в сражении на Курской дуге — уже в ночь с 4 на 5 июля танки 245-го отдельного танкового полка приняли на себя удар немецких войск, а 11 июля М3л и М3с этого полка приняли участие в Прохоровском сражении[83]. Один «Стюарт» в составе Забайкальского фронта участвовал в 1945 году в боевых действиях против Японии[79].

Динамика поступления, потерь и наличия танков "М-3 легкий" в РККА (ЦАМО РФ)
Поступило Списано Наличие
1.1.1943 977 513 464
1.1.1944 255 295 424
1.7.1944 141 283
1.1.1945 80 203
1.6.1945 58 145

Из имевшихся на 1 июня 1945 года 145 танков М3л, 32 были во фронтовых частях, 59 в военных округах и 54 на ремзаводах.

Послевоенное использование

После окончания Второй мировой «Стюарты» вскоре были сняты с вооружения США и Великобритании, но в других странах они прослужили намного дольше, всё ещё оставаясь в строю в некоторых из них на начало 2000-х[50]. Некоторое их количество было продано в конце 1940-х в Бельгию, Нидерланды, Турцию и другие европейские страны.

Полученные по программе ленд-лиза Гоминьданом в ходе Второй мировой 100 M3A3 активно использовались в ходе Гражданской войны в Китае в 1946—1949 годах. В те же годы M3A3 и M5A1, полученные Францией также по программе ленд-лиза, использовались французскими войсками во время Индокитайской войны, будучи на завершающих этапах её заменены танками M24 «Чаффи»[50].

На вооружении индийской армии полученные ими от англичан M3A3 и M5A1 оставались на службе заметно дольше и использовались во время Первой индо-пакистанской войны 1947—1948 годов. 11 танков M5A1 были использованы индийскими войсками во время штурма перевала Зоджила 1 ноября 1948 года. Превосходные ходовые характеристики «Стюартов» сыграли здесь свою роль, позволив им успешно действовать в труднодоступном районе, находящемся на высоте 3500 метров над уровнем моря. Пакистанские войска были совершенно не готовы встретить танки в такой местности и оставили в тылу противотанковое вооружение, что позволило индийским войскам одержать уверенную победу. До сих пор этот эпизод считается рекордом высоты, на которой танки когда-либо действовали в боевых условиях[84]. Сняты с вооружения «Стюарты» были только в 1965 году, незадолго до начала Второй индо-пакистанской войны[59].

Встречаются упоминания об использовании «Стюартов» в Колониальной войне Португалии в Анголе в 1961—1974 годах, однако никаких сведений о них в списках использованной техники не содержится. Кроме того, маловероятно, чтобы португальские войска использовали настолько устаревшую технику, имея на вооружении сравнительно современные лёгкие M24 и средние M47 и M48[85].

Дольше всего «Стюарты» оставались на вооружении в странах Латинской Америки, куда они в больших количествах поставлялись ещё во время Второй мировой войны. Во многих из них они были сняты с вооружения в 1970-е годы, но в Бразилии, Колумбии, Эквадоре и Уругвае они находились в строю до 1990-х годов, а в Парагвае состоят на вооружении до сих пор[50].

  • В 1950-е годы в Бразилии на базе M5A1 была создана[86] и возможно производилась зенитная установка Bernardini X1A Anti Aéreo.
  • Как минимум три танка «Стюарт» применялись Сальвадором в печально известной Футбольной войне с Гондурасом.

Оценка машины

Британский «Стюарт», подбитый в Ливии в ноябре 1941.

За время своей службы «Стюарт» получал самые различные оценки, от положительных до резко отрицательных. Одна из наиболее точных оценок была дана этому танку ещё в 1945 году доктором технических наук, профессором Н. И. Груздевым[87]:

Подвижность танка М3л и его работоспособность поистине изумительны. В районе боевых действий как при движении по дорогам, так и по местности танк М3л наиболее быстроходный из всех известных колёсных и гусеничных машин. Но при этом танк должен гармонически сочетать броню, скорость и вооружение, то в этом смысле танк М3л является неполноценным. Пушка 37-мм калибра — основное вооружение М3л — несомненно слабое вооружение, и это основная причина, почему танк не мог продолжительное время продержаться на поле боя.

Конструкция и потенциал развития

Компоновку M3, без особых изменений унаследованную им от M2, сложно было назвать удачной. Сжатый по ширине и по длине корпус отличался большой по сравнению с другими танками такого класса высотой. Такие габариты были обусловлены наложенными ещё в 1920-е годы ограничениями на ширину танков со стороны армии, продиктованными шириной тогдашних мостов[88]. При этом внутреннее пространство танка было очень тесным. Если условия работы механика-водителя и стрелка несколько улучшились с введением наклонного лобового листа корпуса, увеличившего внутреннее пространство, то объём башенного отделения с введением башенной «корзины» только ещё более сократился. Именно это препятствовало устранению главного недостатка «Стюартов» — любая попытка оснастить танк более мощным орудием наталкивалась на недостаточный объём башни. Небольшой потенциал развития «Стюарта» явно демонстрируется тем, что за все годы войны так и не удалось серьёзно поднять его боевые качества.

Ещё одним недостатком конструкции M3 являлось оснащение его бензиновым авиационным мотором. Помимо повышенной по сравнению с дизельным двигателем пожароопасности, это создавало трудности со снабжением, поскольку авиационный мотор требовал специального высокооктанового бензина. Кроме того, высокое потребление им топлива серьёзно ограничивало запас хода машины. Выпускались и «Стюарты» с дизельным двигателем T-1020, избавленные от этих недостатков, но распространения, из-за сложностей со снабжением, в оснащённой исключительно бензиномоторными машинами армии не получили, хотя охотно использовались частями морской пехоты, имевшими дизельное топливо в избытке[13]. Отчасти эти проблемы удалось преодолеть с появлением M5, оснащённых двигательной установкой из спарки гражданских автомобильных моторов. Такие моторы были по-прежнему пожароопасны, но заметно более экономичны и не столь требовательны к виду топлива, а применение узлов гражданских машин удешевляло и упрощало производство.

Надёжность

Надёжность «Стюарта» всегда удостаивалась самых высоких оценок, особенно со стороны британских танкистов, привыкших к часто выходившим из строя двигателям своих машин[89]. К примеру, в августе — ноябре 1941 года, за четыре месяца боевых действий, из 166 находившихся на вооружении англичан M3 из строя по техническим причинам вышли всего 12 машин — превосходный для того времени результат[90]. Надёжность танка подтверждается также и его более чем полувековой службой в войсках Бразилии и других южноамериканских стран. Тем не менее, танк требовал регулярного и тщательного технического обслуживания, особенно по сравнению с советской бронетехникой, что было одной из причин его непопулярности в РККА[82].

Оценка боевого применения

Танкист «Стюарта» M5A1 ведёт огонь из зенитного пулемёта по позициям снайперов в лесах близ Дессау, 17 апреля 1945.

Невысокие оценки «Стюарта» во многом были обусловлены его неправильным применением. Вторая мировая война показала непригодность всех лёгких танков того времени к бою даже со средними танками. Будучи способной достаточно эффективно поражать итальянскую бронетехнику, а также лёгкие и ранние модификации средних немецких танков, 37-мм пушка M6 уже к 1942 году оказалась практически бессильна против возросшего лобового бронирования новых модификаций PzKpfw III и PzKpfw IV. Это вынудило перейти к использованию «Стюартов» в засадах и фланговых атаках, поскольку значительно более слабую бортовую броню противников орудие «Стюарта» ещё было в состоянии пробить на малых дистанциях. С появлением же новых тяжёлых танков «Пантера» и «Тигр» пушка «Стюарта» оказалась в состоянии пробить лишь бортовую и кормовую броню первых, практически в упор, тогда как остальные проекции новых немецких машин она не брала вовсе. Малый калибр пушки ограничивал и возможности танка для поддержки пехоты — 37-мм осколочные снаряды оказывались бессильны даже против полевых укреплений. Именно это повлекло на Тихоокеанском театре военных действий, где войска США часто сталкивались с японскими бункерами, переделку «Стюартов» в огнемётные танки[2].

Бронирование «Стюарта» изначально задумывалось как противопульное, обеспечивая полноценную защиту только от огня крупнокалиберного пулемёта, на некоторых дистанциях — и от 20-мм пушки PzKpfw II. Лишь в лобовой проекции оно способно было обеспечить хоть какую-то защиту от огня 37-мм пушек или тяжёлых японских противотанковых ружей. От огня же 75-мм длинноствольных пушек PzKpfw IV и орудий немецких тяжёлых танков оно не защищало вообще — по свидетельствам очевидцев, при попадании 88-мм снаряда «Тигра» «Стюарт» попросту разрывало на куски[71]. Усугубляли ситуацию и относительно большие габариты танка, затруднявшие его маскировку на местности и делавшие его удобной мишенью.

Гораздо лучше быстрый, маневренный и надёжный «Стюарт» был приспособлен к роли разведывательного танка. Однако высокая скорость имела и свою цену — высокое потребление дефицитного высокооктанового бензина авиационным мотором. До введения сбрасываемых топливных баков запас хода M3 не превышал 110 км даже по шоссе. Немного лучше дело обстояло у оснащённых дизельными моторами машин, но они в войсках США почти не употреблялись[2].

Аналоги

«Стюарт» относился к категории «промежуточных», «лёгко-средних» танков, поэтому его прямое сравнение с другими лёгкими танками нередко не совсем корректно. Довольно близкими его аналогами можно считать советские БТ, Т-50, Т-70 и Т-80, британские крейсерские танки, такие как Mk.VI «Крусейдер», или итальянские M13/40.

В сравнении с БТ-7 «Стюарт» несколько уступал в огневой мощи и незначительно — в скорости, но полностью превосходил советскую машину по бронированию, которое у БТ-7 надёжно защищало только от пуль винтовочного калибра. Самый массовый советский лёгкий танк Второй мировой войны, Т-70, заметно легче и меньше «Стюарта». Т-70, несмотря на более мощную 45-мм пушку, имел одноместную башню, так что по сравнению с обслуживаемым двумя членами экипажа и снабжённым стабилизатором орудием «Стюарта» проигрывал американскому танку в огневой мощи. По бронированию оба танка были примерно равноценны, а по подвижности Т-70, снабжённый относительно маломощной двигательной установкой, заметно уступал американской машине. В принципе сравнимым со «Стюартом» можно считать лёгкий танк Т-80 — дальнейшее развитие Т-70. В то же время, мелкосерийный Т-50, чьё небольшое производство в годы войны было обусловлено организационно-техническими причинами, превосходил «Стюарт» почти по всем показателям. Т-50, при близких к нему размерам, имел гораздо более удачную компоновку, обладая трёхместной башней с 45-мм пушкой и рациональными углами наклона брони, по толщине сравнимой со средним Т-34. При этом за счёт мощного двигателя Т-50 не уступал «Стюарту» и в подвижности. С другой стороны, советский танк был заметно сложнее и дороже в производстве, и несмотря на очевидное превосходство над «Стюартом» по боевым качествам, эффективно бороться со средними танками противника он был также неспособен.

В сравнении с ранними моделями «Крусейдера», «Стюарт» почти ни в чём не уступал британскому танку, несмотря на бо́льшую массу и размеры последнего. При сравнимом вооружении и бронировании M3 заметно превосходил «Крусейдер» в подвижности, будучи к тому же значительно надёжнее. С другой стороны, «Крусейдер» обладал значительно бо́льшим потенциалом развития, что позволило установить на него в дальнейшем 57-мм пушку, а впоследствии и создать на его основе полноценный средний танк Mk.VIII «Кромвель».

Довольно интересно также сравнение «Стюарта» с британским лёгким пехотным танком Mk.III «Валентайн», хотя последний и относился к иному классу. При сравнимой массе «Валентайн» был примерно равен «Стюарту» по вооружению, зато ощутимо превосходил по защищённости — со всех сторон британский танк был защищён 60-мм вертикальной бронёй. При этом потенциал конструкции «Валентайна» позволил перевооружить его впоследствии 57-мм пушкой. Конечно, всё имеет свою цену, и «Валентайн» по скорости почти вдвое уступал «Стюарту», но тем не менее, в случае встречи этих двух танков в бою шансы американского танка на победу были бы невелики.

Итальянский M13/40, хотя и относился формально к средним танкам, был очень близок по классу к «Стюарту». При примерно равном бронировании, огневая мощь M13/40 была заметно выше за счёт 47-мм пушки, хотя по максимальной скорости итальянский танк значительно уступал «Стюарту».

Где можно увидеть

Будучи выпущенным в огромных количествах в годы Второй мировой войны, «Стюарт» и по сей день остаётся в строю в армии Парагвая, а также в резервах армий Бразилии, Колумбии, Эквадора и Уругвая[50]. Кроме того, во многих странах, некогда использовавших эти танки, они сохраняются в музеях. В России «Стюарт» можно увидеть в экспозиции бронетанкового музея в Кубинке (M3A1 и M5A1) и в Музее отечественной военной истории в Московской области (М3).

M3/M5 «Стюарт» в сувенирной и игровой индустрии

Компьютерные игры

M5A1 «Стюарт» в компьютерной военной игре «Вторая мировая»

M3/M5 «Стюарт» фигурирует в достаточно большом количестве компьютерных игр разнообразных жанров: в симуляторах бронетанковой и авиатехники (в качестве цели), стратегиях реального времени и пошаговой стратегии Panzer General III. В её основной редакции (боевые действия в Северной Африке и Западной Европе) и в расширении Scorched Earth (где действие разворачивается на Восточном фронте) игрок может комплектовать части всех основных стран антигитлеровской коалиции (США, Великобритания, СССР, Сражающаяся Франция) этими танками, причём как разведывательные, так и танковые.

«Стюарт» можно увидеть и в ряде игр российской разработки, например в военной игре «Вторая мировая». В этом программном продукте он отображён с неплохой степенью достоверности. А в другой игре, «Черные бушлаты», созданной по сценарию писателя Александра Зорича, показан единственный в годы Великой Отечественной войны танковый десант на Чёрном море под Новороссийском, проведённый с участием танков «Стюарт».

В MMO-игре «World of Tanks» танк «Стюарт» присутствует сразу на нескольких уровнях — в виде своих модификаций. Также он есть в ММО-игре для Android-платформ «World of Tanks Blitz», как: лёгкий танк II-го уровня (M3 Stuart) и лёгкий танк III-го уровня (M5 Stuart) дерева развития США; коллекционный лёгкий танк III-го уровня (M3 Stuart) СССР; лёгкий танк IV-го уровня (M5A1 Stuart) в дереве развития Китая.

Также M3 присутствует в игре War Thunder как легкий танк в ветке развития танков США.

Модели M3/M5 «Стюарт»

Масштабные копии «Стюарта» выпускаются российской фирмой Alanger (M3A1, масштаб 1:72), корейской Academy (M3 и M3A1, масштаб 1:35), японской Tamiya (M3, масштаб 1:35), китайской AFV-Club (M5A3, масштаб 1:35). Чертежи для самостоятельной постройки модели M3/M5 «Стюарт» неоднократно публиковались в журналах «Моделист-конструктор», «М-Хобби», «Бронеколлекция» и др.

См. также

Примечания

  1. 1 2 R. P. Hunnicutt. Stuart. A history of the American Light Tank. — P. 390.
  2. 1 2 3 4 R. P. Hunnicutt. Stuart. A history of the American Light Tank.
  3. S. Zaloga. M3 & M5 Stuart Light Tank 1940—1945. — P. 4.
  4. R. P. Hunnicutt. Stuart. A history of the American Light Tank. — P. 115.
  5. 1 2 R. P. Hunnicutt. Stuart. A history of the American Light Tank. — P. 120.
  6. 1 2 3 R. P. Hunnicutt. Stuart. A history of the American Light Tank. — P. 127.
  7. I. McPherson, M. Koenig. M3A1 Stuart.
  8. I. Allan. M3-M3A1-M3A3 — Stuart I to V. — P. 17.
  9. R. P. Hunnicutt. Stuart. A history of the American Light Tank. — P. 153.
  10. I. Allan. M3-M3A1-M3A3 — Stuart I to V. — P. 27.
  11. I. Allan. M3-M3A1-M3A3 — Stuart I to V. — P. 24.
  12. 1 2 S. Zaloga. Stuart. U.S. Light Tanks in Action. — P. 13.
  13. 1 2 R. P. Hunnicutt. Stuart. A history of the American Light Tank. — P. 153, 160.
  14. 1 2 R. P. Hunnicutt. Stuart. A history of the American Light Tank. — P. 164.
  15. R. P. Hunnicutt. Stuart. A history of the American Light Tank. — P. 172.
  16. R. P. Hunnicutt. Stuart. A history of the American Light Tank. — P. 176.
  17. R. P. Hunnicutt. Stuart. A history of the American Light Tank. — P. 186.
  18. R. P. Hunnicutt. Stuart. A history of the American Light Tank. — P. 206—207.
  19. 1 2 3 Official munitions production of the united states. By months, july 1, 1940 - august 31, 1945. Civilian production administration may 1, 1947.
  20. R. P. Hunnicutt. Stuart. A history of the American Light Tank. — P. 475—482.
  21. 1 2 3 Запас хода со внешними топливными баками, без них соответствует M3.
  22. S. Zaloga. Stuart. U.S. Light Tanks in Action. — P. 16.
  23. I. Allan. M3-M3A1-M3A3 — Stuart I to V. — P. 54.
  24. 1 2 3 4 R. P. Hunnicutt. Stuart. A history of the American Light Tank. — P. 496.
  25. S. Zaloga. Stuart. U.S. Light Tanks in Action. — P. 7.
  26. I. Allan. M3-M3A1-M3A3 — Stuart I to VCpages=25.
  27. Catalogue_of_Standard_Ordnance_Items_1944._Vol._I |pages=4
  28. Catalogue_of_Standard_Ordnance_Items_1944._Vol._I |pages=8
  29. Catalogue_of_Standard_Ordnance_Items_1944._Vol._II |pages=325
  30. Field Manual FM 23-81, 37-mm Gun, Tank, M6. — С. 45—51.
  31. Technical Manual TM 9-2005 volume 3, Infantry and Cavalry Accompanying Weapons. — С. 11—15.
  32. 1 2 I. Hogg. Allied Artillery of World War Two. — P. 149.
  33. 1 2 P. Chamberlain, T. Gander. Anti-Tank Weapons. — P. 47.
  34. S. Zaloga. Stuart. U.S. Light Tanks in Action. — P. 34.
  35. Краткие таблицы стрельбы 37-мм танковой пушки M5, установленной в американском танке M3. ГАУ, 1942.
  36. R. P. Hunnicutt. Stuart. A history of the American Light Tank. — P. 135.
  37. М. Барятинский. Лёгкий танк «Стюарт». — С. 7.
  38. М. Барятинский. Лёгкий танк «Стюарт». — С. 9.
  39. I. Allan. M3-M3A1-M3A3 — Stuart I to V. — P. 51.
  40. R. P. Hunnicutt. Stuart. A history of the American Light Tank. — P. 325.
  41. R. P. Hunnicutt. Stuart. A history of the American Light Tank. — P. 375.
  42. R. P. Hunnicutt. Stuart. A history of the American Light Tank. — P. 297—303.
  43. British and American Tanks of WW II. — P. 90. — ISBN 0304355291. Архивировано 12 августа 2014 года. Архивированная копия. Дата обращения: 22 августа 2014. Архивировано из оригинала 12 августа 2014 года.
  44. В. Мальгинов. Лёгкие танки зарубежных стран 1945—2000. М.: Бронеколлекция, выпуск № 6, 2002.
  45. The Military Balance 2010. — P. 91.
  46. 1 2 3 R. P. Hunnicutt. Stuart. A history of the American Light Tank. — P. 464.
  47. 1 2 3 М. Барятинский. Лёгкий танк «Стюарт». — С. 29.
  48. 1 2 3 4 5 S. Zaloga. M3 & M5 Stuart Light Tank 1940—45. — P. 42.
  49. L. S. Ness. Jane’s World War II Tanks and Fighting Vehicles. — P. 218.
  50. 1 2 3 4 5 М. Барятинский. Лёгкий танк «Стюарт». — С. 30.
  51. Светозар Йоканович. Т-34 в странах южных славян // Техника и вооружение, № 4, 2013. Стр. 33—38.
  52. 1 2 3 S. Zaloga. M3 & M5 Stuart Light Tank 1940—45. — P. 39.
  53. L. S. Ness. Jane’s World War II Tanks and Fighting Vehicles. — P. 227.
  54. S. Zaloga. M3 & M5 Stuart Light Tank 1940—45. — P. 24.
  55. 1 2 М. Барятинский. Лёгкий танк «Стюарт». — С. 21.
  56. 1 2 М. Барятинский. Лёгкий танк «Стюарт». — С. 23.
  57. 1 2 R. P. Hunnicutt. Stuart. A history of the American Light Tank. — P. 436.
  58. 1 2 3 4 5 S. Zaloga. M3 & M5 Stuart Light Tank 1940—45. — P. 37.
  59. 1 2 3 4 5 6 7 8 9 10 S. Zaloga. M3 & M5 Stuart Light Tank 1940—45. — P. 43.
  60. L. S. Ness. Jane’s World War II Tanks and Fighting Vehicles. — P. 228.
  61. 1 2 3 L. S. Ness. Jane’s World War II Tanks and Fighting Vehicles. — P. 216.
  62. 1 2 R. P. Hunnicutt. Stuart. A history of the American Light Tank. — P. 394.
  63. S. Zaloga. Stuart. U.S. Light Tanks in Action. — P. 12.
  64. S. Zaloga. M3 & M5 Stuart Light Tank 1940—45. — P. 11.
  65. S. Zaloga. M3 & M5 Stuart Light Tank 1940—45. — P. 10.
  66. 1 2 3 S. Zaloga. M3 & M5 Stuart Light Tank 1940—45. — P. 12.
  67. R. P. Hunnicutt. Stuart. A history of the American Light Tank. — P. 400.
  68. S. Zaloga. M3 & M5 Stuart Light Tank 1940—45. — P. 21.
  69. R. P. Hunnicutt. Stuart. A history of the American Light Tank. — P. 401.
  70. S. Zaloga. Stuart. U.S. Light Tanks in Action. — P. 18.
  71. 1 2 М. Барятинский. Лёгкий танк «Стюарт». — С. 20.
  72. R. P. Hunnicutt. Stuart. A history of the American Light Tank. — P. 403.
  73. R. P. Hunnicutt. Stuart. A history of the American Light Tank. — P. 407.
  74. М. Барятинский. Лёгкий танк «Стюарт». — С. 27.
  75. S. Zaloga. M3 & M5 Stuart Light Tank 1940—45. — P. 41.
  76. R. P. Hunnicutt. Stuart. A history of the American Light Tank. — P. 396.
  77. R. P. Hunnicutt. Stuart. A history of the American Light Tank. — P. 398.
  78. S. Zaloga. M3 & M5 Stuart Light Tank 1940—45. — P. 36.
  79. 1 2 3 М. Коломиец, И. Мощанский. Танки ленд-лиза.
  80. Т-34: путь к Победе (воспоминания танкостроителей и танкистов). 2-е изд., доп. Киев, 1989. стр.225
  81. М. Барятинский. Лёгкий танк «Стюарт». — С. 24.
  82. 1 2 М. Барятинский. Лёгкий танк «Стюарт». — С. 26.
  83. В. Замулин. Курский излом. Решающая битва Отечественной войны.
  84. Gurcharn Singh Sandu. The Indian Armour: History Of The Indian Armoured Corps 1941—1971.
  85. P. Abbot. Modern African Wars (2) Angola and Mozambique 1961—1974. — P. 18.
  86. Альтернативный но неожиданно вполне реальный ЗСУ на шасси танка М3A1. Дата обращения: 16 января 2014. Архивировано из оригинала 16 января 2014 года.
  87. М. Барятинский. Лёгкий танк «Стюарт». — С. 32.
  88. S. Zaloga. Stuart. U.S. Light Tanks in Action. — P. 21.
  89. М. Барятинский. Лёгкий танк «Стюарт». — С. 31.
  90. М. Барятинский. Лёгкий танк «Стюарт». — С. 17.

Литература

  • журнал "Техника молодежи", № 10, 1980. стр.40
  • М. Барятинский. Бронетанковая техника США 1939—1945 гг. М.: Бронеколлекция, выпуск № 3, 1997.
  • М. Барятинский. Лёгкий танк «Стюарт». М.: Бронеколлекция, выпуск № 3, 2003.
  • В. Замулин. Курский излом. Решающая битва Отечественной войны. М.: Яуза, Эксмо, 2007. — 960 с. — ISBN 5-699-18411-2.
  • М. Коломиец, И. Мощанский. Танки ленд-лиза. М.: Экспринт, 2000.
  • P. Abbot. Modern African Wars (2) Angola and Mozambique 1961—1974. — Osprey Publishing/Men-at-arms, выпуск № 202, 1988. — ISBN 0-85045-843-9.
  • I. Allan. M3-M3A1-M3A3 — Stuart I to V. — Tanks in Detail, выпуск № 2, 2002. — ISBN 0-7110-2932-6.
  • P. Chamberlain, C. Ellis. Tanks of the World 1915—1945. — Arms and Armour Press, 1972. — ISBN 0-304-36141-0.
  • R. P. Hunnicutt. Stuart. A history of the American Light Tank. — Presidio, 1992. — ISBN 978-0-89141-462-9.
  • I. McPherson, M. Koenig. M3A1 Stuart. — Kagero, № 11017, 2005. — ISBN 83-89088-91-6.
  • L. S. Ness. Jane’s World War II Tanks and Fighting Vehicles: The Complete Guide. — London: Collins, 2002. — (Jane’s Information Group). — ISBN 0-00711-228-9.
  • Gurcharn Singh Sandu. The Indian Armour: History Of The Indian Armoured Corps 1941—1971. — New Delhi: Vision Books Private Limited, 1987. — ISBN 81-7094-004-4.
  • S. Zaloga. M3 & M5 Stuart Light Tank 1940—45. — Osprey Publishing/New Vanguard, выпуск № 33, 1999. — ISBN 1-85532-911-5.
  • S. Zaloga. Stuart. U.S. Light Tanks in Action. — Squadron/Signal Publications, выпуск № 18, 1979. — ISBN 0-89747-084-2.

Ссылки

  • M3. World War II Vehicles. Дата обращения: 16 сентября 2007. Архивировано из оригинала 14 августа 2012 года.  (англ.)
  • M5. World War II Vehicles. Дата обращения: 16 сентября 2007. Архивировано из оригинала 17 декабря 2007 года.  (англ.)